申請日2017.10.09
公開(公告)日2018.01.12
IPC分類號G05B19/048
摘要
本發明公開了一種污水管網排氣閥泄漏保護系統,屬于污水管網技術領域,包括排氣閥,二級保護外殼以及工作站;二級保護殼體的內部設有浮球,浮球的頂部轉動連接連桿;磁桿的底端套接有橡膠密封圈,線圈的底部設有弧形密封圈,磁桿的外壁固定連接機械開關閥,高精度微弱信號檢測電路模塊電性連接網絡智能報警電路模塊,二級保護殼體的頂部設有第二壓力傳感器,網絡智能報警電路模塊無線連接移動基站,移動基站雙向連接云計算服務器和移動終端。本發明的保護系統能夠對排氣閥進行多級防護,監測精度高,可遠程實時監控,快速處理突發狀況。
權利要求書
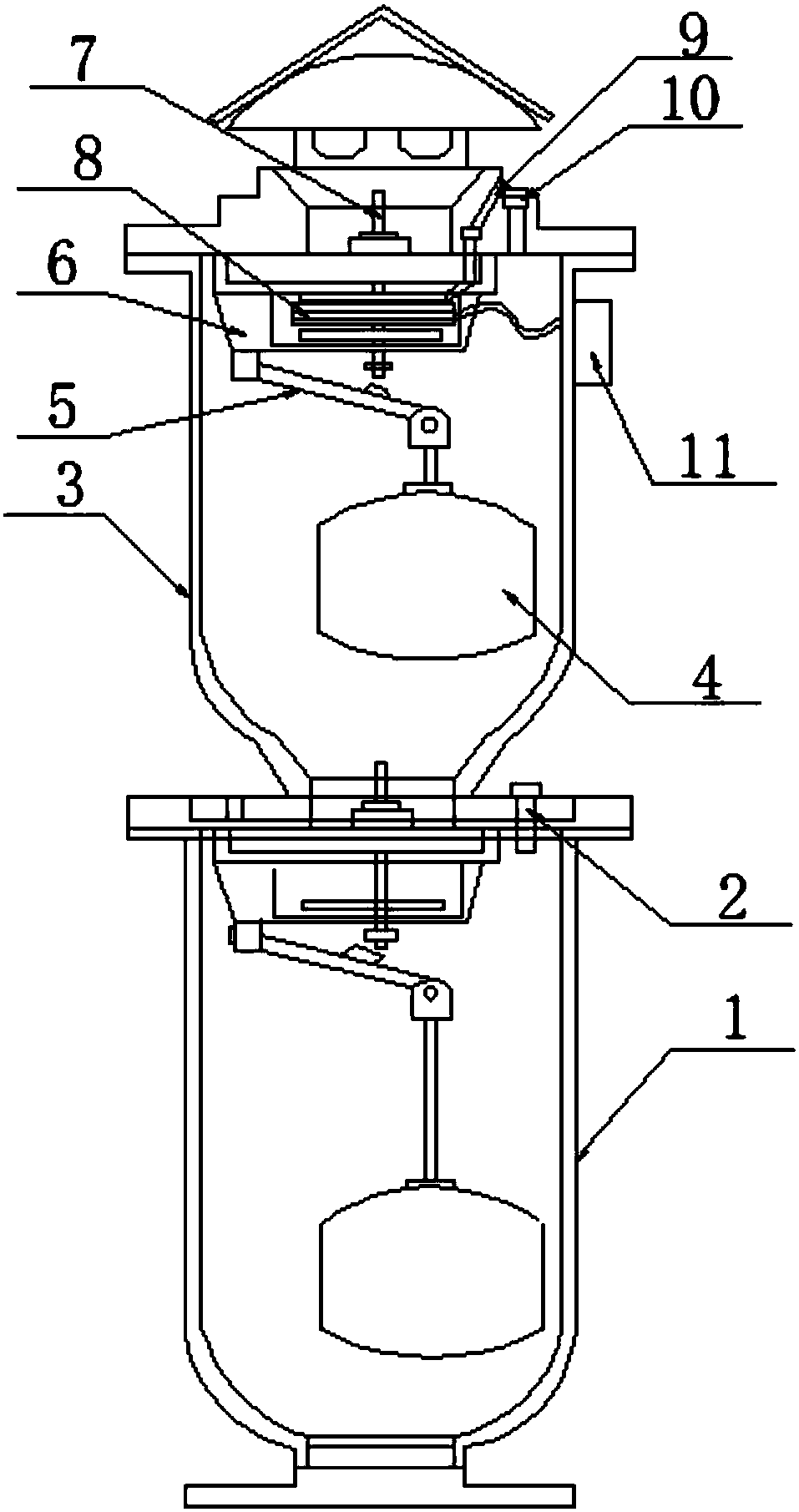
1.一種污水管網排氣閥泄漏保護系統,其特征在于:包括排氣閥(1),二級保護外殼(3)以及工作站(19);所述排氣閥(1)的頂面設有第一壓力傳感器(2),所述排氣閥(1)的頂部安裝有二級保護殼體(3),所述二級保護殼體(3)的內部設有浮球(4),所述浮球(4)的頂部轉動連接連桿(5);所述連桿(5)與所述浮球(4)相對的另一端轉動連接定位架(6);所述定位架(6)的內部滑動連接磁桿(7),所述磁桿(7)的底端套接有橡膠密封圈(12),所述磁桿(7)貫穿于線圈(8)的內部,所述線圈(8)的底部設有弧形密封圈(18),所述磁桿(7)的外壁固定連接機械開關閥(9),所述線圈(8)電性連接高精度微弱信號檢測電路模塊(14),所述高度精微弱信號檢測電路模塊(14)電性連接網絡智能報警電路模塊(15),所述高精度微弱信號檢測電路模塊(14)和所述網絡智能報警電路模塊(15)均設于盒體(11)的內部,所述二級保護殼體(3)的頂部設有第二壓力傳感器(10),所述第一壓力傳感器(2)、所述第二壓力傳感器(10)均電性連接所述高精度微弱信號檢測電路模塊(14),所述網絡智能報警電路模塊(15)無線連接移動基站(16),所述移動基站(16)雙向連接云計算服務器(17)和移動終端(18),所述云計算服務器(17)雙向連接工作站(19),所述工作站(19)雙向連接數據庫(20)。
2.根據權利要求1所述的一種污水管網排氣閥泄漏保護系統,其特征在于:所述移動終端(18)通過無線雙向連接所述數據庫(20)。
3.根據權利要求1所述的一種污水管網排氣閥泄漏保護系統,其特征在于:所述網絡智能報警電路模塊(15)是一種內置有GPRS電路的所述網絡智能報警電路模塊(15)。
4.根據權利要求1所述的一種污水管網排氣閥泄漏保護系統,其特征在于:所述弧形密封圈(13)與所述定位架(6)的內壁之間膠合連接。
5.根據權利要求1所述的一種污水管網排氣閥泄漏保護系統,其特征在于:所述弧形密封圈(13)的內部配合連接所述橡膠密封圈(6),且所述弧形密封圈(6)的內部貫穿有所述磁桿(7)。
6.根據權利要求1所述的一種污水管網排氣閥泄漏保護系統,其特征在于:所述磁桿(7)的外壁焊接有所述機械開關閥(9),所述機械開關閥(9)與所述二級保護殼體(3)的內部之間滑動連接。
說明書
一種污水管網排氣閥泄漏保護系統
技術領域
本發明涉及一種泄漏保護系統,特別是涉及一種污水管網排氣閥泄漏保護系統,屬于排污水管網技術領域。
背景技術
目前我國生活污水及工業廢水需要長距離壓力輸送至污水處理廠,在輸送過程中,葉輪吸入的氣體、微生物產生的氣體,如果沒有及時排放,會導致輸送力下降、管道由于壓力過大造成損傷,因此污水管網均需加裝排氣閥用于管道內的氣體排放,確保管道內的壓力平衡;當前對污水管網排氣閥裝置的監測手段過于落后,污水泄漏問題不能及時地采取有效措施從而導致環境污染安全事故頻發;市面上已有的排氣閥泄漏二次保護裝置功能不完善;缺少系統平臺對管網中排氣閥進行集中在線監控和信息化管理,因此缺乏有效地統一調度和管理維護措施。
發明內容
本發明的主要目的是為了提供一種污水管網排氣閥泄漏保護系統,防護能力強,可實現遠程監控。
本發明的目的可以通過采用如下技術方案達到:一種污水管網排氣閥泄漏保護系統,包括排氣閥,二級保護外殼以及工作站;所述排氣閥的頂面設有第一壓力傳感器,所述排氣閥的頂部安裝有二級保護殼體,所述二級保護殼體的內部設有浮球,所述浮球的頂部轉動連接連桿;所述連桿與所述浮球相對的另一端轉動連接定位架;所述定位架的內部滑動連接磁桿,所述磁桿的底端套接有橡膠密封圈,所述磁桿貫穿于線圈的內部,所述線圈的底部設有弧形密封圈,所述磁桿的外壁固定連接機械開關閥,所述線圈電性連接高精度微弱信號檢測電路模塊,所述高精度微弱信號檢測電路模塊電性連接網絡智能報警電路模塊,所述高精度微弱信號檢測電路模塊和所述網絡智能報警電路模塊均設于盒體的內部,所述二級保護殼體的頂部設有第二壓力傳感器,所述第一壓力傳感器、所述第二壓力傳感器均電性連接所述高精度微弱信號檢測電路模塊,所述網絡智能報警電路模塊無線連接移動基站,所述移動基站雙向連接云計算服務器和移動終端,所述云計算服務器雙向連接工作站,所述工作站雙向連接數據庫。
優選的方案是,所述移動終端通過無線雙向連接所述數據庫。
優選的方案是,所述網絡智能報警電路模塊是一種內置有GPRS電路的所述網絡智能報警電路模塊。
優選的方案是,所述弧形密封圈與所述定位架的內壁之間膠合連接。
優選的方案是,所述弧形密封圈的內部配合連接所述橡膠密封圈,且所述弧形密封圈的內部貫穿有所述磁桿。
優選的方案是,所述磁桿的外壁焊接有所述機械開關閥,所述機械開關閥與所述二級保護殼體的內部之間滑動連接。
本發明的有益技術效果:本發明提供的污水管網排氣閥泄漏保護系統,弧形密封圈能夠完全蓋住橡膠密封圈,使得污染物不會再流出,另外可配合兩個壓力傳感器的壓力值,來判斷泄漏的總狀態,從而實現了二次防護的問題;網絡智能報警電路模塊通過通訊接口程序與工作站進行通信,將故障報警信息傳輸到云計算服務器,并由云計算服務器、工作站讀取并存儲至數據庫中,同時產生故障實時報警,通知維護人員及時到現場進行維護。



