申請日2016.05.30
公開(公告)日2016.12.07
IPC分類號C02F9/04; C02F1/52
摘要
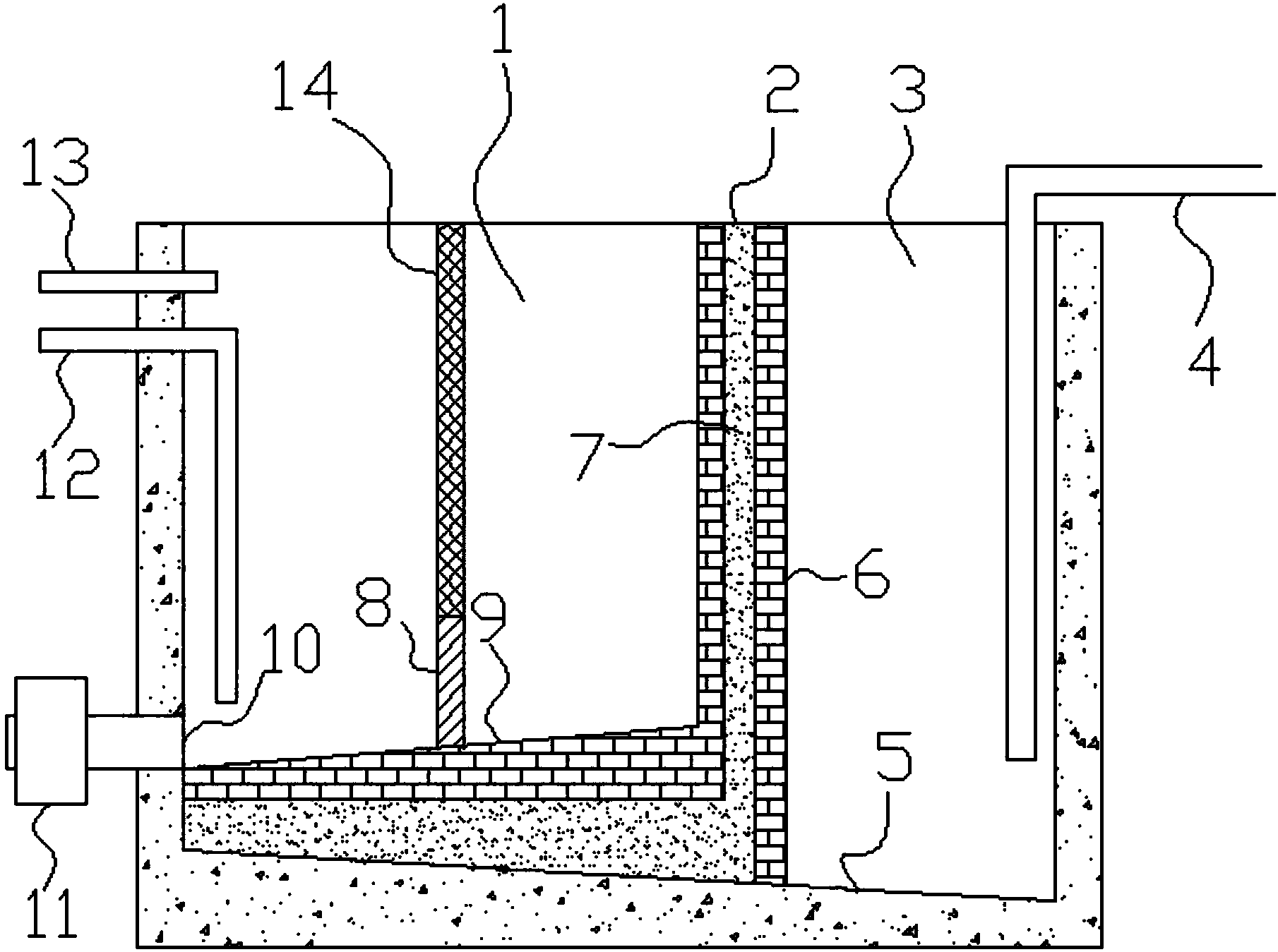
本實用新型公布了一種基于滲透技術的污水調節池,它包括積水池;積水池一邊圍墻上設置有進水管、混凝劑管、帶有抽污泵的抽污管,另一邊圍墻上設置有出水管;積水池內設置矩形圍墻圍攏的混凝沉淀池;混凝沉淀池的一邊圍墻與積水池共邊,另三邊為滲透墻;混凝沉淀池內設置有呈U型邊框圍攏的網孔墻;網孔墻下端設置有U型邊框狀的隔污板;混凝沉淀池底部設置有內斜面,其傾斜方向朝向抽污管;積水池底部設置有外斜面,其傾斜方向朝向出水管。它能讓池內不同時間段廢水進行一個均勻滲透,使得不同時間段不同濃度的廢水能在一個穩定的濃度和流量下進入污水處理設備中,提高污水處理設備的運行壽命,提高污水處理效率和處理質量。
摘要附圖
權利要求書
1.一種基于滲透技術的污水調節池,其特征在于,它包括矩形圍墻圍攏的積水池(3);所述積水池(3)一邊圍墻上設置有進水管(13)、混凝劑管(12)、帶有抽污泵(11)的抽污管(10),另一邊圍墻上設置有出水管(4);所述積水池(3)內設置矩形圍墻圍攏的混凝沉淀池(1);所述混凝沉淀池(1)的一邊圍墻與積水池(3)共邊,另三邊為滲透墻(2);所述混凝沉淀池(1)內設置有呈U型邊框圍攏的網孔墻(14);所述網孔墻(14)下端設置有U型邊框狀的隔污板(8);所述混凝沉淀池(1)底部設置有內斜面(9),其傾斜方向朝向抽污管(10);所述積水池(3)底部設置有外斜面(5),其傾斜方向朝向出水管(4)。
2.根據權利要求1所述的一種基于滲透技術的污水調節池,其特征在于,所述滲透墻(2)包括三層,內層為細沙層(7),外層均為滲透磚層(6)。
3.根據權利要求1所述的一種基于滲透技術的污水調節池,其特征在于,所述混凝沉淀池(1)池底高于積水池(3)池底;所述混凝沉淀池(1)池底包括兩層,上層為滲透磚層(6),下層為細沙層(7)。
4.根據權利要求1所述的一種基于滲透技術的污水調節池,其特征在于,所述混凝劑管(12)為L型管,其下端出口位于抽污管(10)入口正上方。
5.根據權利要求1所述的一種基于滲透技術的污水調節池,其特征在于,所述混凝沉淀池(1)的滲透墻(2)兩角設置有支撐柱(15)。
說明書
一種基于滲透技術的污水調節池
技術領域
本實用新型涉及廢水處理領域,尤其涉及到一種基于滲透技術的污水調節池。
背景技術
污水處理系統中,收集的污水水量和水質都是隨著時間變化的,為了保證后續處理系統的正常運行,降低運行負荷,需要對污水的水量和水質進行調解,因此在進入其他污水處理設備系統前需設計調節池。調節池內需要定期清理沉淀物;調節池一般設置溢流,在負荷過大的情況下,保證系統的運行正常;污水調節池主要作用是緩存混合廢水并進行初步沉淀后,將污水導入后續污水處理設備中,如此可以防止污水處理設備在受到廢水高峰流量或濃度變化而損壞。但是無論是工業廢水,還是城市污水和生活污水,水量水質在一日24小時內都有變化,污水、廢水濃度變化對污水處理設備運行、污水處理設備壽命及出水水質都有極大的影響;傳統的污水調節池為簡單的單池體結構,外部流入調節池的污水經初步沉淀后直接進入后續污水處理設備中,如此,傳統的污水調節池并不能徹底均衡多時間段的不同濃度污水、廢水,影響污水處理系統的正常運行和使用壽命。
實用新型內容
本實用新型的目的是針對以上問題,提供一種基于滲透技術的污水調節池,它能讓池內不同時間段廢水進行一個均勻滲透,使得不同時間段不同濃度的廢水能在一個穩定的濃度和流量下進入污水處理設備中,能提高污水處理設備的運行壽命,同時能提高污水處理效率和處理質量。
為實現以上目的,本實用新型采用的技術方案是:一種基于滲透技術的污水調節池,它包括矩形圍墻圍攏的積水池(3);所述積水池(3)一邊圍墻上設置有進水管(13)、混凝劑管(12)、帶有抽污泵(11)的抽污管(10),另一邊圍墻上設置有出水管(4);所述積水池(3)內設置矩形圍墻圍攏的混凝沉淀池(1);所述混凝沉淀池(1)的一邊圍墻與積水池(3)共邊,另三邊為滲透墻(2);所述混凝沉淀池(1)內設置有呈U型邊框圍攏的網孔墻(14);所述網孔墻(14)下端設置有U型邊框狀的隔污板(8);所述混凝沉淀池(1)底部設置有內斜面(9),其傾斜方向朝向抽污管(10);所述積水池(3)底部設置有外斜面(5),其傾斜方向朝向出水管(4)。
進一步的,所述滲透墻(2)包括三層,內層為細沙層(7),外層均為滲透磚層(6)。
進一步的,所述混凝沉淀池(1)池底高于積水池(3)池底;所述混凝沉淀池(1)池底包括兩層,上層為滲透磚層(6),下層為細沙層(7)。
進一步的,所述混凝劑管(12)為L型管,其下端出口位于抽污管(10)入口正上方。
進一步的,所述混凝沉淀池(1)的滲透墻(2)兩角設置有支撐柱(15)。
本實用新型的有益效果:
本實用新型將傳統的單池體型污水調節池轉變成多池體共邊結構,能對進入污水調節池的各種污水預先緩存沉降、滲透過濾,使得進入積水池內的污水濃度和流量保持在一個穩定的范圍值內,使得后續污水處理設備運行更加穩定,維持污水處理長期高效性,提高污水處理設備的使用壽命。


