申請日2016.05.30
公開(公告)日2016.12.07
IPC分類號C23C2/00
摘要
本實用新型公開了一種熱浸鍍鋅廢水循環熱交換冷卻槽,包括冷卻內槽、熱交換腔、熱交換管、進液管、流量控速泵、溫度感應器、溫度控制中樞、出液管、保溫防護槽。本實用新型能夠使酸洗后的廢水用于熱浸鍍鋅冷卻槽水冷的熱傳遞,大量節約了水資源,提高了廢水的利用效率,節約了生產成本。
摘要附圖
權利要求書
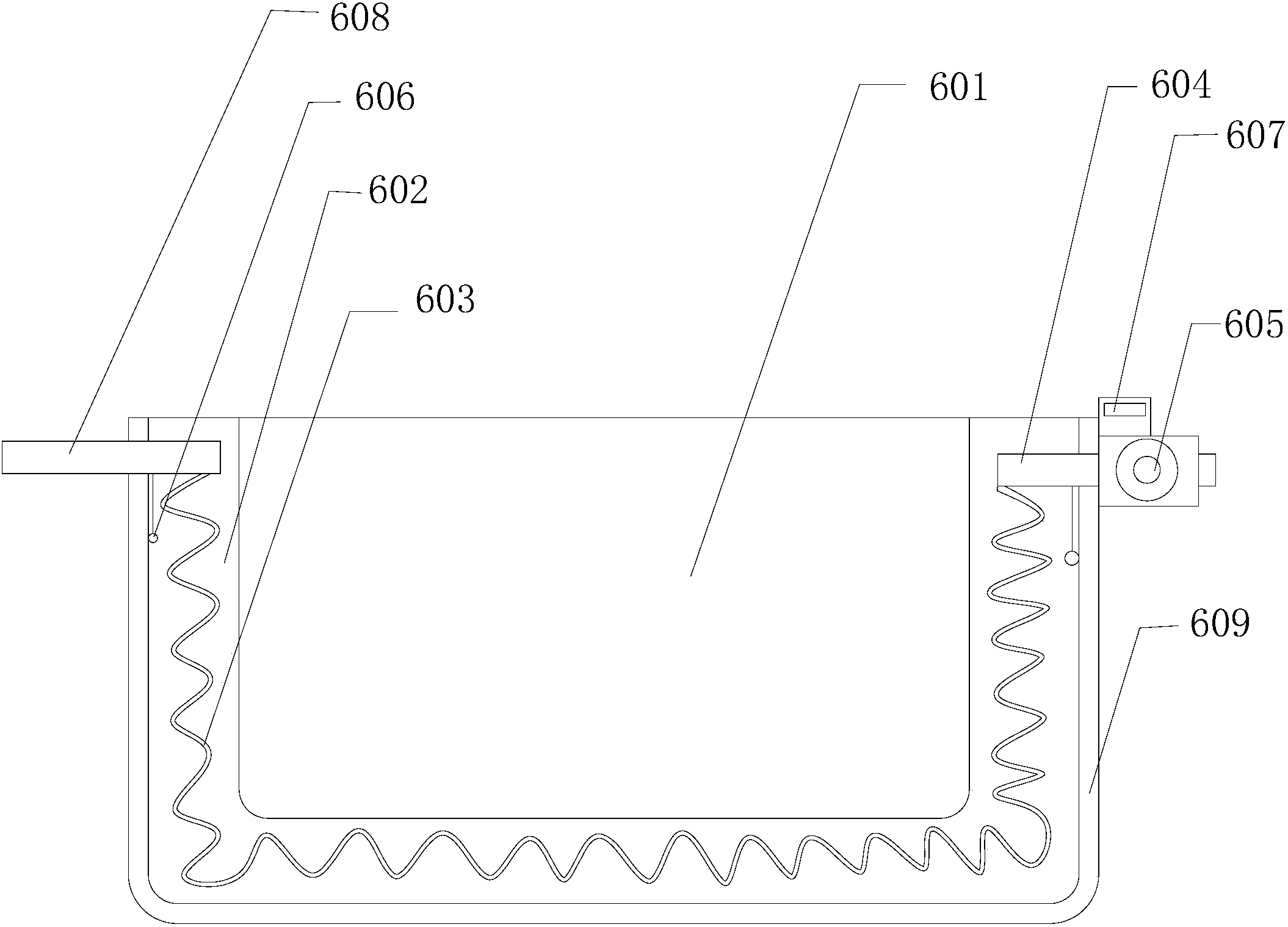
1.一種熱浸鍍鋅廢水循環熱交換冷卻槽,其特征在于:包括冷卻內槽(601)、熱交換腔(602)、熱交換管(603)、進液管(604)、流量控速泵(605)、溫度感應器(606)、溫度控制中樞(607)、出液管(608)、保溫防護槽(609),所述冷卻內槽(601)設置在保溫防護槽(609)內,所述熱交換腔(602)設置在冷卻內槽(601)和保溫防護槽(609)之間,所述熱交換腔(602)右側設置有進液管(604),所述進液管(604)上設置有流量控速泵(605),所述進液管(604)一端伸入熱交換腔(602)內,所述進液管(604)上連接有若干熱交換管(603),所述熱交換管(603)設置在熱交換腔(602)內,所述熱交換管(603)的左端連接有出液管(608),所述出液管(608)的一端伸出熱交換腔(602),所述熱交換腔(602)內設置有多個溫度感應器(606),所述溫度感應器(606)與溫度控制中樞(607)相連,所述溫度控制中樞(607)與流量控速泵(605)相連。
2.如權利要求1所述的一種熱浸鍍鋅廢水循環熱交換冷卻槽,其特征在于:所述熱交換管(603)的數量有多個,所述熱交換管(603)均勻分布在熱交換腔(602)內,所述熱交換管(603)為螺旋形的鋼化玻璃圓管。
3.如權利要求1所述的一種熱浸鍍鋅廢水循環熱交換冷卻槽,其特征在于:所述熱交換腔(602)為密閉腔,所述熱交換腔(602)包覆設置在冷卻內槽(601)的底部和側壁外,所述熱交換腔(602)內填充有導熱液,所述冷卻內槽(601)為導熱冷卻槽。
4.如權利要求1所述的一種熱浸鍍鋅廢水循環熱交換冷卻槽,其特征在于:所述進液管(604)和出液管(608)的數量為一根,所述進液管(604)和出液管(608)均設置在熱交換腔(602)的側面頂部。
說明書
一種熱浸鍍鋅廢水循環熱交換冷卻槽
技術領域
本實用新型涉及熱浸鍍鋅的技術領域,特別是一種熱浸鍍鋅廢水循環熱交換冷卻槽的技術領域。
背景技術
熱鍍鋅是使熔融金屬與鐵基體反應而產生合金層,從而使基體和鍍層二者相結合。熱鍍鋅是先將鋼鐵制件進行酸洗,為了去除鋼鐵制件表面的氧化鐵,酸洗后,通過氯化銨或氯化鋅水溶液或氯化銨和氯化鋅混合水溶液槽中進行清洗,然后送入熱浸鍍槽中。熱鍍鋅具有鍍層均勻,附著力強,使用壽命長等優點。熱浸鍍鋅的原理,簡單的說即是將已清洗潔凈的鐵件,經由助鍍劑的潤濕作用,浸入鋅浴中,使鋼鐵與熔融鋅反應生成一合金化的皮膜。酸洗是清潔金屬表面的一種常用的方法,無論是對金屬坯件的低倍檢測還是對帶鋼等金屬的表面除銹。目前,鋅鍋生產線在熱浸鍍鋅過程中同樣需要酸洗。在酸洗之后,需要進行再次水洗來取出工件表面殘留的酸液,保證下一工序的進行。酸洗后的廢水因為很難用于其它用途導致水資源的極大浪費。而熱浸鍍鋅后的工件往往還需要進行冷卻槽水冷浸泡來抑制合金層成長,增進皮膜的光滑與亮度,這一過程同樣需要大量的水來傳遞熱量。
實用新型內容
本實用新型的目的就是解決現有技術中的問題,提出一種熱浸鍍鋅廢水循環熱交換冷卻槽,能夠使酸洗后的廢水用于熱浸鍍鋅冷卻槽水冷的熱傳遞,大量節約了水資源,提高了廢水的利用效率,節約了生產成本。
為實現上述目的,本實用新型提出了一種熱浸鍍鋅廢水循環熱交換冷卻槽,包括冷卻內槽、熱交換腔、熱交換管、進液管、流量控速泵、溫度感應器、溫 度控制中樞、出液管、保溫防護槽,所述冷卻內槽設置在保溫防護槽內,所述熱交換腔設置在冷卻內槽和保溫防護槽之間,所述熱交換腔右側設置有進液管,所述進液管上設置有流量控速泵,所述進液管一端伸入熱交換腔內,所述進液管上連接有若干熱交換管,所述熱交換管設置在熱交換腔內,所述熱交換管的左端連接有出液管,所述出液管的一端伸出熱交換腔,所述熱交換腔內設置有多個溫度感應器,所述溫度感應器與溫度控制中樞相連,所述溫度控制中樞與流量控速泵相連。
作為優選,所述熱交換管的數量有多個,所述熱交換管均勻分布在熱交換腔內,所述熱交換管為螺旋形的鋼化玻璃圓管。
作為優選,所述熱交換腔為密閉腔,所述熱交換腔包覆設置在冷卻內槽的底部和側壁外,所述熱交換腔內填充有導熱液,所述冷卻內槽為導熱冷卻槽。
作為優選,所述進液管和出液管的數量為一根,所述進液管和出液管均設置在熱交換腔的側面頂部。
本實用新型的有益效果:本實用新型通過將冷卻內槽、熱交換腔、熱交換管、進液管、流量控速泵、溫度感應器、溫度控制中樞、出液管、保溫防護槽結合在一起,經過實驗優化,冷卻內槽可以對工件進行冷卻,熱交換腔配合熱交換管可以對冷卻內槽內的液體溫度進行降溫,流量控速泵、溫度感應器、溫度控制中樞相互配合可以根據檢測到的溫度來調整熱交換管中的廢水流速流量,進而調整熱交換腔內的溫度。本實用新型能夠使酸洗后的廢水用于熱浸鍍鋅冷卻槽水冷的熱傳遞,大量節約了水資源,提高了廢水的利用效率,節約了生產成本。
本實用新型的特征及優點將通過實施例結合附圖進行詳細說明。


