申請日2016.05.30
公開(公告)日2016.12.07
IPC分類號C02F11/00; C02F11/12
摘要
本實用新型涉及污泥壓榨干化處理領域,尤其涉及一種污泥穩定盛裝裝置,它包括盛裝容器,所述的盛裝容器包括底板和側板,所述的側板的底部連通有進料管,所述的側板為中空結構,且中空部位套接有內套板,所述的內套板上部設置有過濾層;本實用新型的目的是提供一種污泥穩定盛裝裝置,可以使污泥從盛裝容器的下方進入到容器,在容器的上方設置過濾層,進而可以自動的將水分從過濾層排出,使容器中的水分含量小,同時也方便了后期壓榨水分的排出。
摘要附圖
權利要求書
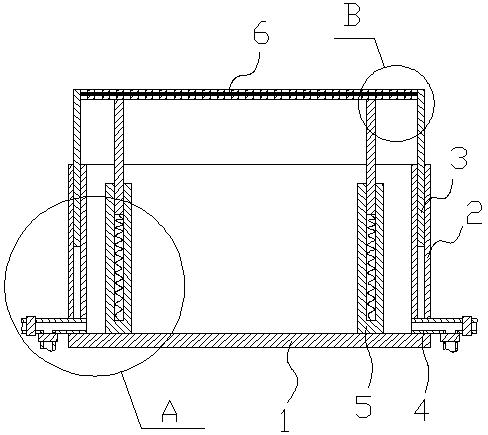
1.一種污泥穩定盛裝裝置,它包括盛裝容器,其特征在于,所述的盛裝容器包括底板(1)和側板(2),所述的側板(2)的底部連通有進料管(4),所述的側板(2)為中空結構,且中空部位套接有內套板(3),所述的內套板(3)上部設置有過濾層(6);所述的進料管(4)上設置有進料閥(9),且進料管(4)位于進料閥(9)與盛裝容器之間的部位連接有出液管(7),所述的出液管(7)上設置有出料閥(8)。
2.根據權利要求1所述的一種污泥穩定盛裝裝置,其特征在于,所述的過濾層(6)包括兩層與內套板(3)連接的壓縮網板(601),且兩層壓縮網板(601)之間設置有一層分子濾膜(602)。
3.根據權利要求1所述的一種污泥穩定盛裝裝置,其特征在于,所述的底板(1)的內表面設置有伸縮桿(5),所述的伸縮桿(5)的上端與過濾層(6)連接。
4.根據權利要求3所述的一種污泥穩定盛裝裝置,其特征在于,所述的伸縮桿(5)包括設置在底板(1)上的外套管(501),所述的外套管(501)的內部套接有內套管(502),所述的內套管(502)的底部通過彈簧(503)與外套管(501)的內底面連接。
5.根據權利要求1所述的一種污泥穩定盛裝裝置,其特征在于,所述的出液管(7)與進料管(4)連通的部位設置有過濾膜。
6.根據權利要求1所述的一種污泥穩定盛裝裝置,其特征在于,所述的側板(2)的底部均勻的連通有不少與2根進料管(4)。
說明書
一種污泥穩定盛裝裝置
技術領域
本實用新型涉及污泥壓榨干化處理領域,尤其涉及一種污泥穩定盛裝裝置。
背景技術
城市化污水的收集和處理會伴隨污泥的產生,污泥中含有大量的有機質和營養元素,有農用資源化價值,另一方面,污泥中含有大量的重金屬物質、病原體、病毒微生物和大量的毒性有機物,很容易造成二次污染,因此需要對污泥進行處理。
在污泥的處理過程中,需要先將污泥進行干化處理,現有的干化處理大多采用機械壓榨法,即將污泥放置在穩定的盛裝容器中,并且在盛裝容器底部設置分子濾膜,然后通過壓榨機對盛裝容器中的污泥進行壓榨處理,進而達到干化處理的效果,但是,現有的盛裝容器存在較大的缺陷,污泥是從容器上方進入的,由于泥土與水混合,泥土在底層,因此,泥土層很容易阻塞分子濾膜,使自然下落的水分含量較少,同時也會影響到后期壓榨水分的排出。
實用新型內容
本實用新型的目的是提供一種污泥穩定盛裝裝置,可以使污泥從盛裝容器的下方進入到容器,在容器的上方設置過濾層,進而可以自動的將水分從過濾層排出,使容器中的水分含量小,同時也方便了后期壓榨水分的排出。
為了實現以上目的,本實用新型采用的技術方案為:一種污泥穩定盛裝裝置,它包括盛裝容器,所述的盛裝容器包括底板(1)和側板(2),所述的側板(2)的底部連通有進料管(4),所述的側板(2)為中空結構,且中空部位套接有內套板(3),所述的內套板(3)上部設置有過濾層(6)。
進一步的,所述的過濾層(6)包括兩層與內套板(3)連接的壓縮網板(601),且兩層壓縮網板(601)之間設置有一層分子濾膜(602)。
進一步的,所述的底板(1)的內表面設置有伸縮桿(5),所述的伸縮桿(5)的上端與過濾層(6)連接。
進一步的,所述的伸縮桿(5)包括設置在底板(1)上的外套管(501),所述的外套管(501)的內部套接有內套管(502),所述的內套管(502)的底部通過彈簧(503)與外套管(501)的內底面連接。
進一步的,所述的進料管(4)上設置有進料閥(9),且進料管(4)位于進料閥(9)與盛裝容器之間的部位連接有出液管(7),所述的出液管(7)上設置有出料閥(8)。
進一步的,所述的出液管(7)與進料管(4)連通的部位設置有過濾膜。
進一步的,所述的側板(2)的底部均勻的連通有不少與2根進料管(4)。
本實用新型的有益效果為:
1、可以使污泥從盛裝容器的下方進入到容器,在容器的上方設置過濾層,利用水和泥的物理性質,水在上層,泥在下層,進而可以自動的將水分從過濾層排出,使容器中的水分含量小,同時也方便了后期壓榨水分的排出。
2、過濾層的結構設計,采用兩層壓縮網板之間設置一層分子濾膜,進而可以將水分子排出,同時在壓縮的時候可以很好的保護分子濾膜,使其不會被損壞。
3、伸縮桿的設計,可以控制過濾層的高度,進而控制內套板的高度,進而可以控制盛裝容器中盛裝量在適合的壓縮范圍內。
4、伸縮桿的結構設計簡單,無需外接動力源,操作方便,便于壓縮。
5、出液管、進料閥和出液閥的設計,使進料管在壓縮的時候可以起到出料的效果。
6、過濾膜的設計,可以防止泥土被壓入出液管,保證了壓干效果的同時防止出液管被堵塞。
7、進料管的數量設計,可以加快進料速度,同時也便于后期壓干過程中的排水。


