申請日2016.05.30
公開(公告)日2016.12.07
IPC分類號C02F9/14
摘要
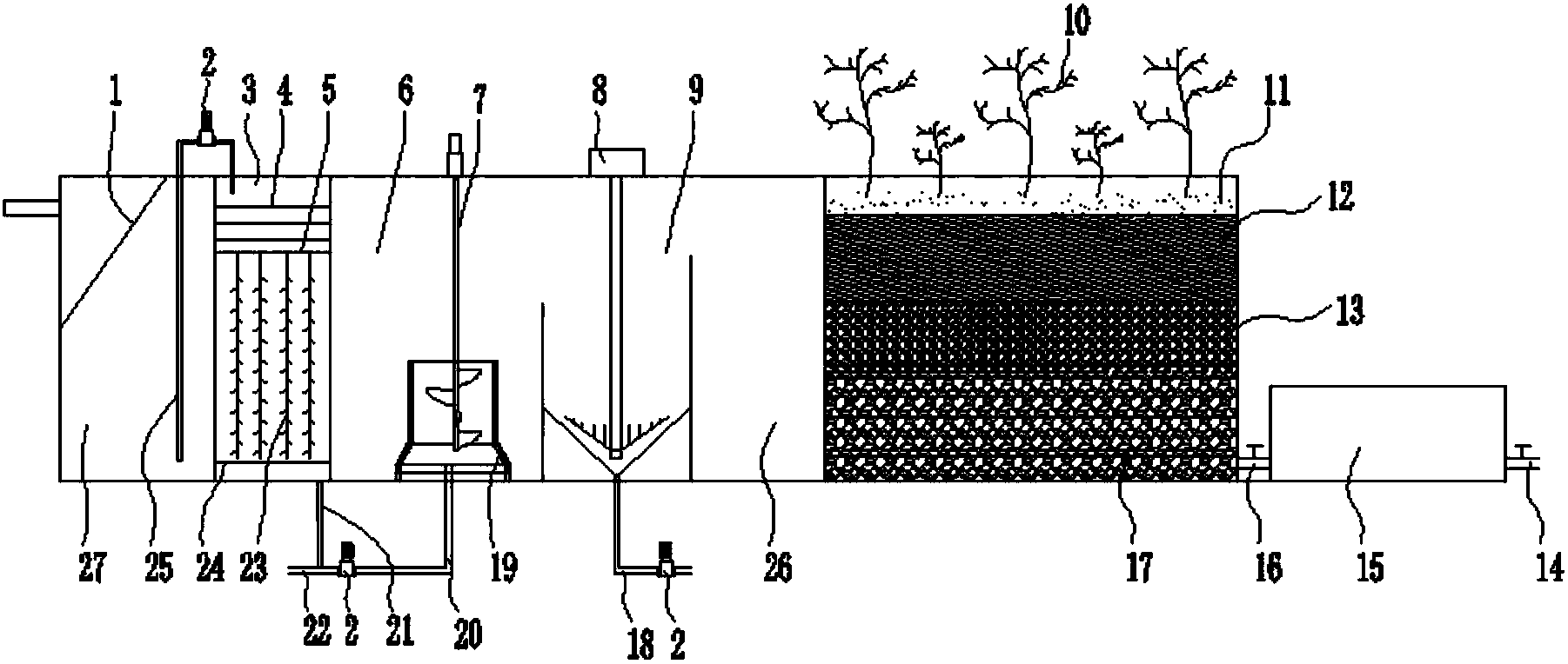
本實用新型公布了一種分散式農村生活污水處理系統,它包括格柵井,其內部設置有格柵;格柵井右端設置有厭氧池,厭氧池右端設置有絮凝池,絮凝池右端設置有沉淀池,沉淀池右端設置有過渡池,過渡池右下端設置有鵝卵石層,鵝卵石層上設置有砂粒層,砂粒層上端設置散裝秸稈層,散裝秸稈層上端設置有有淤泥層,淤泥層上種植有植物;鵝卵石層右端設置有凈化池,凈化池與鵝卵石層之間通過連接管連接,凈化池上設置有排水管。本實用新型的目的是提供一種分散式農村生活污水處理系統,結構簡單,建設周期短,造價低,能夠有效解決農村分散水污染問題,同時可以對污染物進行分解并轉化成種植肥料,節約資源,具有較好的應用價值和推廣前景。
摘要附圖
權利要求書
1.一種分散式農村生活污水處理系統,其特征在于,它包括格柵井(27),其內部設置有格柵(1);所述格柵井(27)右端設置有厭氧池(3),厭氧池(3)右端設置有絮凝池(6),絮凝池右端設置有沉淀池(9),沉淀池(9)右端設置有過渡池(26),過渡池(26)右下端設置有鵝卵石層(17),鵝卵石層(17)上設置有砂粒層(13),砂粒層(13)上端設置散裝秸稈層(12),散裝秸稈層(12)上端設置有有淤泥層(11),淤泥層(11)上種植有植物(10);所述鵝卵石層(17)右端設置有凈化池(15),凈化池(15)與鵝卵石層(17)之間通過連接管(16)連接,凈化池(15)上設置有排水管(14)。
2.根據權利要求1所述的一種分散式農村生活污水處理系統,其特征在于,所述格柵井(27)與厭氧池(3)之間設置有提水管(25),提水管(25)上設置有水泵(2);所述提水管(25)進水口設置在格柵井(27)底部,出水口設置在厭氧池(3)的上端;所述厭氧池(3)內位于提水管(25)出水口下端設置有捆綁秸稈層(4);所述捆綁秸稈層(4)下端設置有支撐網體(5);所述支撐網體(5)下端設置有懸掛組合填料(23);所述懸掛組合填料(23)下端設置有防堵網體(24)。
3.根據權利要求2所述的一種分散式農村生活污水處理系統,其特征在于,所述捆綁秸稈層(4)包括網體(401)與秸稈(402);所述秸稈(402)設置在網體(401)內部。
4.根據權利要求1所述的一種分散式農村生活污水處理系統,其特征在于,所述絮凝池(6)內設置有反應筒(19),反應筒(19)內設置有攪拌器(7);所述反應筒(19)底部設置有絮凝池進水管(20);所述厭氧池(3)底部設置有厭氧池出水管(21);所述厭氧池出水管(21)下端連接有絮凝劑添 加管(22),絮凝劑添加管(22)右端與絮凝池進水管(20)連接,絮凝池進水管(20)上設置有水泵(2)。
5.根據權利要求1所述的一種分散式農村生活污水處理系統,其特征在于,所述沉淀池(9)內設置有刮泥器(8);所述沉淀池(9)底部設置有排泥管(18),排泥管(18)上連接有水泵(2)。
說明書
一種分散式農村生活污水處理系統
技術領域
本實用新型屬于污水處理技術領域,具體為一種分散式農村生活污水處理系統。
背景技術
目前,我國農村生活垃圾、污水處理設施建設嚴重滯后,現在還基本處于“污水靠蒸發,垃圾靠風刮”的現狀。隨著環境保護部制定的《農村環境綜合整治目標責任制考核規定(試行)》的推廣與實施,農村生態環境保護問題日益得到重視與治理。
目前我國絕大部分村莊污染治理還處于空白,其中由于水資源短缺及地下水資源污染問題的增多,而使農村污水治理問題日益突出。目前我國農村生活污水年產生90多億噸,而如此巨大的污水量,由于絕大部分農村沒有基本或較完善的污水收集設施、污水處理設施而不能得到有效處理,從而使得污水任意分散排放。
根據統計,我國96%以上的村鎮尚無排水溝渠和污水處理系統,且鄉鎮處理率<1%。同時,隨著農村生活水平的提高,人們對居住環境要求的提高與落后的農村環境治理水平之間的矛盾日益尖銳,因此,加強農村生活污水處理勢在必行。
實用新型內容
本實用新型的目的是針對以上問題,提供一種分散式農村生活污水處理系統,結構簡單,建設周期短,造價低,能夠有效解決農村分散水污染問題,同時可以對污染物進行分解并轉化成種植肥料,節約資源,具有較 好的應用價值和推廣前景。
為實現以上目的,本實用新型采用的技術方案是:它包括格柵井(27),其內部設置有格柵(1);所述格柵井(27)右端設置有厭氧池(3),厭氧池(3)右端設置有絮凝池(6),絮凝池右端設置有沉淀池(9),沉淀池(9)右端設置有過渡池(26),過渡池(26)右下端設置有鵝卵石層(17),鵝卵石層(17)上設置有砂粒層(13),砂粒層(13)上端設置散裝秸稈層(12),散裝秸稈層(12)上端設置有有淤泥層(11),淤泥層(11)上種植有植物(10);所述鵝卵石層(17)右端設置有凈化池(15),凈化池(15)與鵝卵石層(17)之間通過連接管(16)連接,凈化池(15)上設置有排水管(14)。
進一步的,所述格柵井(27)與厭氧池(3)之間設置有提水管(25),提水管(25)上設置有水泵(2);所述提水管(25)進水口設置在格柵井(27)底部,出水口設置在厭氧池(3)的上端;所述厭氧池(3)內位于提水管(25)出水口下端設置有捆綁秸稈層(4);所述捆綁秸稈層(4)下端設置有支撐網體(5);所述支撐網體(5)下端設置有懸掛組合填料(23);所述懸掛組合填料(23)下端設置有防堵網體(24)。
進一步的,所述捆綁秸稈層(4)包括網體(401)與秸稈(402);所述秸稈(402)設置在網體(401)內部。
進一步的,所述絮凝池(6)內設置有反應筒(19),反應筒(19)內設置有攪拌器(7);所述反應筒(19)底部設置有絮凝池進水管(20);所述厭氧池(3)底部設置有厭氧池出水管(21);所述厭氧池出水管(21)下端連接有絮凝劑添加管(22),絮凝劑添加管(22)右端與絮凝池進水管(20)連接,絮凝池進水管(20)上設置有水泵(2)。
進一步的,所述沉淀池(9)內設置有刮泥器(8);所述沉淀池(9)底部設置有排泥管(18),排泥管(18)上連接有水泵(2)。
本實用新型的有益效果:
1、厭氧池內設置有捆綁秸稈層,該結構秸稈被包裹網體內,使秸稈不會散落,方便放入及取出,污水中的污染物質在厭氧池內發酵轉換成營養物被秸稈吸收,使捆綁秸稈層轉換成為有機肥,可供給農作物栽培,節約了資源。
2、防堵網體對厭氧池內的雜質進行阻隔,防止一些雜碎秸稈進入水泵內造成堵塞,保證了設備的正常運行。
3、通過在絮凝池內添加絮凝劑可以有效將有機體進行絮凝,攪拌器可以加速絮凝,絮凝物在沉淀池進行沉淀,沉淀池內的刮泥器將沉淀物進行刮除,通過排泥管排除,排除的絮凝物可以作為肥料使用,節約了能源。
4、設置有鵝卵石層、砂粒層、散裝秸稈層、淤泥層,在淤泥層上栽培植物,這種多層結構為微生物提供了良好的環境,又能保證植物的營養,其營養的供應具有良好的連續性,使植物種植不需要額外施肥,使農民節省了施肥成本。


