申請日2015.06.11
公開(公告)日2015.08.26
IPC分類號C02F3/32; C02F3/30
摘要
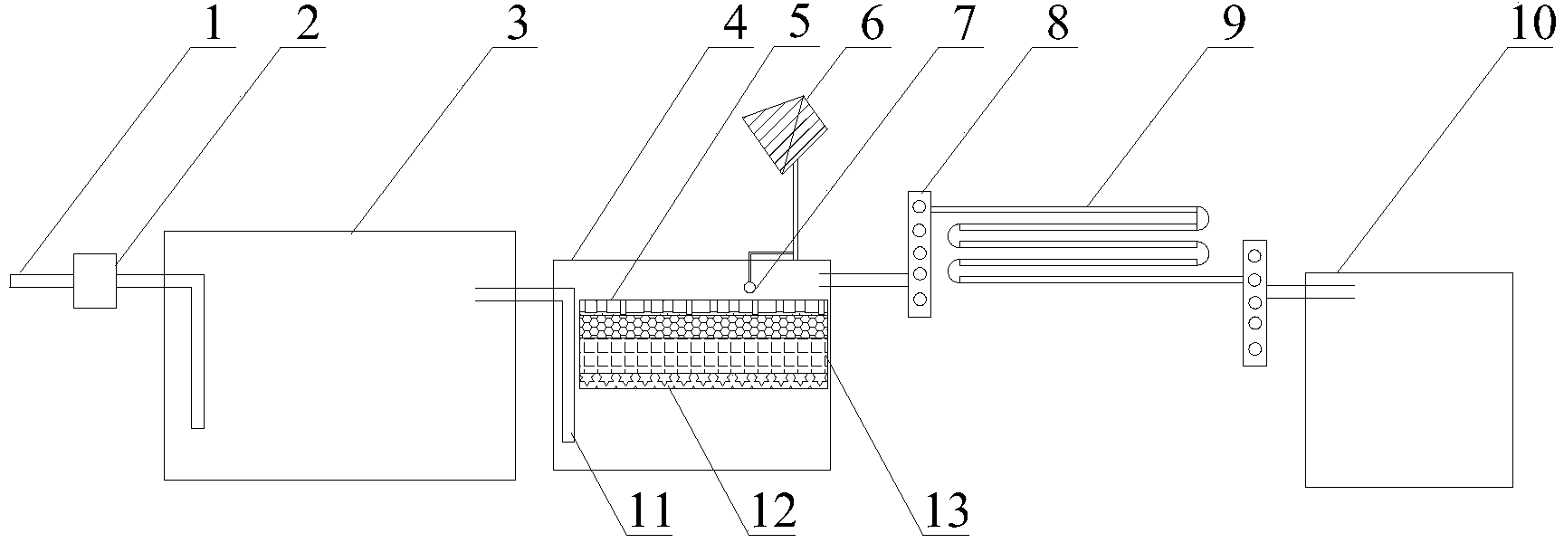
本發明公開了一種用于處理農村生活污水的集約型裝置及其建造方法,涉及污水處理領域,包括若干污水匯集管道;順次連接的厭氧消化系統好氧消化池和生態凈化系統;若干污水匯集管道均為一端與居民用水排水口連接,另一端與厭氧消化系統連接;厭氧消化系統包括順次連接的一級厭氧消化池、二級厭氧消化池和三級厭氧消化池;一級厭氧消化池、二級厭氧消化池、三級厭氧消化池和好氧消化池的容積計算公式均為:V=aNqt/(24*1000),N為服務的人口數量;a為污水的產生系數0.7~0.9;q為人均用水量80~120L/d,t為水在對應消化池中停留的時間。本發明不僅占地面積較小,而且成本較低。
摘要附圖
權利要求書
1.一種用于處理農村生活污水的集約型裝置,包括:
若干污水匯集管道(1);
順次連接的厭氧消化系統(3)、好氧消化池(4)和生態凈化系 統;所述若干污水匯集管道(1)均為一端與居民用水排水口連接, 另一端與厭氧消化系統(3)連接;所述厭氧消化系統(3)包括順次 連接的一級厭氧消化池(16)、二級厭氧消化池(20)和三級厭氧消 化池(21);同時,其特征在于:
所述一級厭氧消化池(16)、二級厭氧消化池(20)、三級厭氧消 化池(21)和好氧消化池(4)的容積計算公式均為:V=aNqt/(24*1000), 所述N為服務的人口數量;所述a為污水的產生系數0.7~0.9;所述 q為人均用水量80~120L/d,所述t為水在對應消化池中停留的時間, 水在一級厭氧消化池(16)中停留的時間為4~7天、水在二級厭氧 消化池(20)中停留的時間為2~4天、水在三級厭氧消化池(21) 中停留的時間為2~4天、水在好氧消化池(4)中停留的時間為2~ 4天。
2.如權利要求1所述的用于處理農村生活污水的集約型裝置, 其特征在于:所述一級厭氧消化池(16)的內部設置有厭氧微生物填 料層(15),所述厭氧微生物填料層(15)與一級厭氧消化池頂部平 行,所述厭氧微生物填料層(15)的頂部與一級厭氧消化池(16)頂 部之間的距離為80~100cm。
3.如權利要求1所述的用于處理農村生活污水的集約型裝置, 其特征在于:所述一級厭氧消化池(16)和二級厭氧消化池(20)通 過第一連通管(17)連接,所述第一連通管(17)包括進水端和出水 端,所述進水端高于出水端,所述進水端位于一級厭氧消化池(16) 的內部,所述出水端位于二級厭氧消化池(20)的內部,所述進水端 與一級厭氧消化池(16)內頂之間的距離為15~30cm,出水端與二 級厭氧消化池(20)內底之間的距離為30~50cm。
4.如權利要求3所述的用于處理農村生活污水的集約型裝置, 其特征在于:所述二級厭氧消化池(20)和三級厭氧消化池(21)通 過第二連通管(18)連接,所述第二連通管(18)包括進水端和出水 端,所述進水端高于出水端,所述進水端位于二級厭氧消化池(20) 的內部,所述出水端位于三級厭氧消化池(21)的內部,所述進水端 與二級厭氧消化池(20)內頂之間的距離為15~30cm,所述出水端 與三級厭氧消化池(21)內底之間的距離為30~50cm。
5.如權利要求1所述的用于處理農村生活污水的集約型裝置, 其特征在于:所述好氧消化池(4)通過第三連通管(11)與厭氧消 化系統(3)的三級厭氧消化池(21)連接,所述第三連通管(11) 包括進水端和出水端,所述進水端高于出水端,所述進水端與三級厭 氧消化池(21)內頂之間的距離為15~30cm,所述出水端與好氧消 化池(4)內底之間的距離為15~30cm。
6.如權利要求1所述的用于處理農村生活污水的集約型裝置, 其特征在于:所述好氧消化池(4)的內部設置有曝氣裝置(7)和好 氧凈化裝置,所述曝氣裝置(7)位于好氧凈化裝置的上方,所述好 氧凈化裝置包括自上而下依次設置與好氧微生物填料層(5)、秸稈碳 層、礫石層(13)和濾網(12),好氧微生物填料層(5)與好養消化 池(4)內底之間的距離為30~50cm,其橫截面呈方形,其表面積與 好樣消化池底面積相等。
7.如權利要求1所述的用于處理農村生活污水的集約型裝置, 其特征在于:所述生態凈化系統包括若干引流單元(8)和若干種植 管(9),每個引流單元(8)上均設置有若干引流管,所述每個引流 管均與一個種植管(9)對應,所述每個引流管均為一端與好氧消化 池(4)連接,另一端通過對應的種植管(9)與清水收集池連接。
8.如權利要求1至7中任一項所述的用于處理農村生活污水的 集約型裝置,其特征在于:所述一級厭氧消化池(16)與二級厭氧消 化池(20)、三級厭氧消化池(21)、好氧消化池(4)的體積比為3~ 5:1:1:1~2。
9.如權利要求1至7中任一項所述的用于處理農村生活污水的 集約型裝置,其特征在于:所述每根污水匯集管道(1)均伸入一級 厭氧消化池(16)的內部,污水匯集管道(1)包括進水端和出水端, 所述進水端高于出水端,進水端與居民排污口連接,出水端位于一級 厭氧消化池(16)內,出水端與一級厭氧消化池(16)的內底之間的 距離為60~100cm。
10.一種用于處理農村生活污水的集約型裝置的建造方法,其特 征在于,包括以下步驟:
S1:確定建造地的人口數量N、污水的產生系數a和人均用水量 q,根據容積計算公式V=aNqt/(24*1000),計算一級厭氧消化池(16)、 二級厭氧消化池(20)、三級厭氧消化池(21)和好氧消化池(4)的 容積,所述t為水在對應消化池中停留的時間,水在一級厭氧消化池 (16)中停留的時間為4~7天、水在二級厭氧消化池(20)中停留 的時間為2~4天、水在三級厭氧消化池(21)中停留的時間為2~4 天、水在好氧消化池(4)中停留的時間為2~4天,轉入步驟S2;
S2:選擇平地作為建設地點,在建設地點上挖建順次排列的一級 厭氧消化池(16)、二級厭氧消化池(20)、三級厭氧消化池(21)和 好氧消化池(4),轉入步驟S3:
S3:安裝若干污水匯集管道(1),所述污水匯集管道(1)的一 端與居民用水排水口連接,另一端與一級厭氧消化池(16)連接,在 一級厭氧消化池(16)和二級厭氧消化池(20)之間安裝第一連通管 (17)連接,在二級厭氧消化池(20)和三級厭氧消化池(21)之間 安裝第二連通管(18),在三級厭氧消化池(21)和好氧消化池(4) 之間安裝第三連通管(11),轉入步驟S4;
S4:在一級厭氧消化池(16)的內頂安裝反沖洗裝置(14),在 一級厭氧消化池(16)的內部安裝托網(19)和厭氧微生物填料層(15); 在好氧消化池(4)的內部安裝曝氣裝置(7)和好氧凈化裝置,轉入 步驟S5;
S5:將好氧消化池(4)的外部安裝若干引流單元(8)和若干種 植管(9),在種植管(9)上播種具有凈化作用的植物。
說明書
用于處理農村生活污水的集約型裝置及其建造方法
技術領域
本發明涉及污水處理領域,具體涉及一種用于處理農村生活污水 的集約型裝置及其建造方法。
背景技術
隨著農村經濟的發展和城鎮化的不斷推進,農村耕種的農藥和肥 料殘留、養殖污水排放量急劇增加,對自然水體和土壤造成的嚴重的 污染,同時農村分散式生活產生的大量污水也直接排入河流和湖泊中, 造成嚴重的水體、土壤污染,水體和土壤被污染后,有害化合物、重 金屬等污染物通過食物鏈進入人體,導致農村癌癥人口急劇增加,嚴 重損害了農村人口的健康。
美國、日本等發達國家處理農村生活污水積累了豐富的經驗,主 要是將污染物就地無害化處理和資源化處理。就地處理的方法為:將 污染物排入土地或濕地等自然系統,進行自然分解;資源化處理的方 法為:將污染物排入砂濾池、一體化好氧處理系統、凈化槽等人工處 理系統,不僅能夠將污染物進行凈化,而且能夠得到生物肥料。
采用就地無害化處理和資源化處理的能量消耗較少、成本較低、 運行簡單、管理方便,符合我國農村發展落后、技術含量低、人才緊 缺、自動化程度低、經濟滯后的現狀。
申請號為201010139475.0的發明專利公開了一種生活污水處理 裝置,該裝置包括順次連接的沉砂池、厭氧消化池和生態凈化濾池, 采用該方法處理后的污水能夠達到國家污水綜合排放標準 GB8978-1996的一級要求。但該裝置的占地面積較大,制作成本較高, 結構復雜、管理維護難度大,不適應農村地區使用。
發明內容
針對現有技術中存在的缺陷,本發明的目的在于提供一種用于處 理農村生活污水的集約型裝置及其建造方法,不僅占地面積較小,而 且運行管理方便、建造和維護成本較低。
為達到以上目的,本發明采取的技術方案是:一種用于處理農村 生活污水的集約型裝置,包括:若干污水匯集管道;
順次連接的厭氧消化系統、好氧消化池和生態凈化系統;所述若 干污水匯集管道均為一端與居民用水排水口連接,另一端與厭氧消化 系統連接;所述厭氧消化系統包括順次連接的一級厭氧消化池、二級 厭氧消化池和三級厭氧消化池;
所述一級厭氧消化池、二級厭氧消化池、三級厭氧消化池和好氧 消化池的容積計算公式均為:V=aNqt/(24*1000),所述N為服務 的人口數量;所述a為污水的產生系數0.7~0.9;所述q為人均用水 量80~120L/d,所述t為水在對應消化池中停留的時間,水在一級 厭氧消化池中停留的時間為4~7天、水在二級厭氧消化池中停留的 時間為2~4天、水在三級厭氧消化池中停留的時間為2~4天、水在 好氧消化池中停留的時間為2~4天。
在上述技術方案的基礎上,述一級厭氧消化池的內部設置有厭氧 微生物填料層,所述厭氧微生物填料層與一級厭氧消化池頂部平行, 所述厭氧微生物填料層的頂部與一級厭氧消化池頂部之間的距離為 80~100cm。
在上述技術方案的基礎上,所述一級厭氧消化池和二級厭氧消化 池通過第一連通管連接,所述第一連通管包括進水端和出水端,所述 進水端高于出水端,所述進水端位于一級厭氧消化池的內部,所述出 水端位于二級厭氧消化池的內部,所述進水端與一級厭氧消化池內頂 之間的距離為15~30cm,出水端與二級厭氧消化池內底之間的距離 為30~50cm。
在上述技術方案的基礎上,所述二級厭氧消化池和三級厭氧消化 池通過第二連通管連接,所述第二連通管包括進水端和出水端,所述 進水端高于出水端,所述進水端位于二級厭氧消化池的內部,所述出 水端位于三級厭氧消化池的內部,所述進水端與二級厭氧消化池內頂 之間的距離為15~30cm,所述出水端與三級厭氧消化池內底之間的 距離為30~50cm。
在上述技術方案的基礎上,所述好氧消化池通過第三連通管與厭 氧消化系統的三級厭氧消化池連接,所述第三連通管包括進水端和出 水端,所述進水端高于出水端,所述進水端與三級厭氧消化池內頂之 間的距離為15~30cm,所述出水端與好氧消化池內底之間的距離為 15~30cm。
在上述技術方案的基礎上,所述好氧消化池的內部設置有曝氣裝 置和好氧凈化裝置,所述曝氣裝置位于好氧凈化裝置的上方,所述好 氧凈化裝置包括自上而下依次設置與好氧微生物填料層、秸稈碳層、 礫石層和濾網,好氧微生物填料層與好養消化池內底之間的距離為 30~50cm,其橫截面呈方形,其表面積與好樣消化池底面積相等。
在上述技術方案的基礎上,所述生態凈化系統包括若干引流單元 和若干種植管,每個引流單元上均設置有若干引流管,所述每個引流 管均與一個種植管對應,所述每個引流管均為一端與好氧消化池連接, 另一端通過對應的種植管與清水收集池連接。
在上述技術方案的基礎上,所述一級厭氧消化池與二級厭氧消化 池、三級厭氧消化池、好氧消化池的體積比為3~5:1:1:1~2。
在上述技術方案的基礎上,所述每根污水匯集管道均伸入一級厭 氧消化池的內部,污水匯集管道包括進水端和出水端,所述進水端高 于出水端,進水端與居民排污口連接,出水端位于一級厭氧消化池內, 出水端與一級厭氧消化池的內底之間的距離為60~100cm。
一種集約型裝置的建造方法,其特征在于,包括以下步驟:
S1:確定建造地的人口數量N、污水的產生系數a和人均用水量 q,根據容積計算公式V=aNqt/(24*1000),計算一級厭氧消化池、 二級厭氧消化池、三級厭氧消化池和好氧消化池的容積,所述t為水 在對應消化池中停留的時間,水在一級厭氧消化池中停留的時間為 4~7天、水在二級厭氧消化池中停留的時間為2~4天、水在三級厭 氧消化池中停留的時間為2~4天、水在好氧消化池中停留的時間為 2~4天,轉入步驟S2;
S2:選擇平地作為建設地點,在建設地點上挖建順次排列的一級 厭氧消化池、二級厭氧消化池、三級厭氧消化池和好氧消化池,轉入 步驟S3:
S3:安裝隔柵井和若干污水匯集管道,將若干污水匯集管道的一 端與居民用水排水口連接,另一端與一級厭氧消化池連接,在一級厭 氧消化池和二級厭氧消化池之間安裝第一連通管連接,在二級厭氧消 化池和三級厭氧消化池之間安裝第二連通管,在三級厭氧消化池和好 氧消化池之間安裝第三連通管,轉入步驟S4;
S4:在一級厭氧消化池的內頂安裝反沖洗裝置,在一級厭氧消化 池的內部安裝托網和厭氧微生物填料層;在好氧消化池的內部安裝曝 氣裝置和好氧凈化裝置,轉入步驟S5;
S5:將好氧消化池的外部安裝若干引流單元和若干種植管,在種 植管上播種具有凈化作用的植物,調試所述集約型裝置至正常運行。
與現有技術相比,本發明的優點在于:
(1)本發明中用于處理農村生活污水的集約型裝置,包括相互 連接的厭氧消化系統和好氧消化池,厭氧消化系統包括順次連接的一 級厭氧消化池、二級厭氧消化池和三級厭氧消化池;其中,一級厭氧 消化池、二級厭氧消化池、三級厭氧消化池和好氧消化池的容積計算 公式均為:V=aNqt/(24*1000),所述N為服務的人口數量;所述a 為污水的產生系數0.7~0.9;所述q為人均用水量80~120L/d,所述 t為水在對應消化池中停留的時間,本與現有技術中根據經驗確定消 化池尺寸,容易造成占地面積較大,成本較高相比,發明根據污水消 化的時間確定消化池的尺寸,占地面積比較合理,制作成本較低。
(2)本發明中用于處理農村生活污水的集約型裝置,包括第一 連通管、第二連通管和第三連通管,第一連通管、第二連通管和第三 連通管均包括進水端和出水端,每個進水端均高于對應的出水端,所 有進水端與對應消化池內頂之間的距離均為15~30cm,進入進水端 的水均為消化池內的上層清水;所有出水端與對應消化池內底之間的 距離均為30~50cm,出水端的水進入下一消化池后,均位于消化池 的底部,水由底部向上運動的過程中,其內部的雜質會發生自然沉降 而凈化。
(3)本發明中用于處理農村生活污水的集約型裝置,第一連通 管、第二連通管和第三連通管的高度依次降低,污水流動為溢滿自流 方式,無抽水動力系統,建造和維護費用低,能夠節約能源。
(4)本發明中用于處理農村生活污水的集約型裝置,包括生態 凈化系統,生態凈化系統包括種植管,種植管為迂回彎折的管道,管 道上種植有植物,植物能夠吸附水中的重金屬,N、P化合物,深層 凈化水質、美化環境,增加經濟效益。






