申請日2015.07.13
公開(公告)日2015.12.02
IPC分類號A61B19/00
摘要
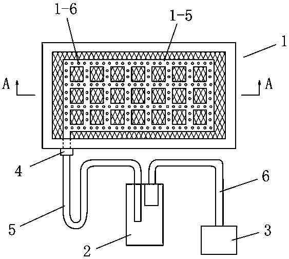
本實用新型公開了一種腔鏡手術污水處理裝置,包括地墊、蓄污水桶和負壓吸引裝置,所述地墊包括防水層、吸水層和面層,所述防水層設有防漏側立面,所述吸水層中鋪設有吸水管,吸水管上平均分布有若干個進水孔,所述吸水管通過快速接頭連接輸水管,輸水管連接蓄污水桶,蓄污水桶通過管道連接負壓吸引裝置。本實用新型與現有技術相比的優點是:本實用新型的結構能夠對腔鏡手術產生的污水進行徹底的排污處理,避免污水外溢污染手術室及醫務人員。
權利要求書
1.一種腔鏡手術污水處理裝置,其特征在于:包括地墊、蓄污水桶和負壓吸引裝置,所述地墊包括防水層、吸水層和面層,所述防水層設有防漏側立面,所述吸水層中鋪設有吸水管,吸水管上平均分布有若干個進水孔,所述吸水管通過快速接頭連接輸水管,輸水管連接蓄污水桶,蓄污水桶通過管道連接負壓吸引裝置。
2.根據權利要求1所述的一種腔鏡手術污水處理裝置,其特征在于:所述吸水管呈網狀結構。
3.根據權利要求1所述的一種腔鏡手術污水處理裝置,其特征在于:所述吸水管呈Y形結構。
4.根據權利要求1所述的一種腔鏡手術污水處理裝置,其特征在于:所述面層為PVC材料地毯。
說明書
一種腔鏡手術污水處理裝置
技術領域
本實用新型涉及醫療排污裝置,尤其涉及一種腔鏡手術污水處理裝置。
背景技術
隨著腔鏡技術在我國逐漸普及,腔鏡手術已成為骨關節外科常規診療手段。至今在全身各系統內鏡中,腔鏡功能最全面、應用最廣泛,并由此形成獨立的腔鏡外科。腔鏡手術中為了保持手術野的清晰,常需使用生理鹽水沖洗灌注手術腔隙。但由于腔鏡和器械反復進出操作孔,常導致沖洗液噴濺在手術操作者的身上及手術室地面,浸濕手術衣及雙腳,不僅增加患者感染的機會,同時還影響醫務人員的操作,增加醫務人員被污染的危險以及影響手術室地面清潔,甚至有影響手術室電器的可能。這就是腔鏡手術普遍存在的一個問題,即污水如何處理?
在骨科關節鏡手術中,目前的處理方法是使用防水鋪巾。①病人下肢消毒完畢,先鋪消毒好的塑料布或消毒油布1塊,再鋪布類敷料。②小腿和腳用治療巾繃帶包扎后,外貼無菌外科手術薄膜以防水。在大腿根部用外科手術薄膜連同洞巾一起環型貼緊,輕輕撫平。將整個患肢用手術膜包裹,以防術中因調整肢體位置而滲濕污染,同時防止殘存在皮膚毛孔內的細菌污染傷口及器械。③在膝關節處無菌敷料上再鋪2塊帶有塑料引流袋的腦科專用手術薄膜,并將引流液體的塑料袋放在臺下裝有過濾網裝置的水桶內。即使如此,仍不可避免地存在污水外溢污染手術室及醫務人員。
發明內容
本實用新型是為了解決上述不足,提供了一種腔鏡手術污水處理裝置。
本實用新型的上述目的通過以下的技術方案來實現:一種腔鏡手術污水處理裝置,包括地墊、蓄污水桶和負壓吸引裝置,所述地墊包括防水層、吸水層和面層,所述防水層設有防漏側立面,所述吸水層中鋪設有吸水管,吸水管上平均分布有若干個進水孔,所述吸水管通過快速接頭連接輸水管,輸水管連接蓄污水桶,蓄污水桶通過管道連接負壓吸引裝置。
所述吸水管呈網狀結構或Y形結構。
所述面層為PVC材料地毯。
本實用新型與現有技術相比的優點是:本實用新型的結構能夠對腔鏡手術產生的污水進行徹底的排污處理,避免污水外溢污染手術室及醫務人員。







