申請日2015.07.24
公開(公告)日2015.11.18
IPC分類號C02F1/00
摘要
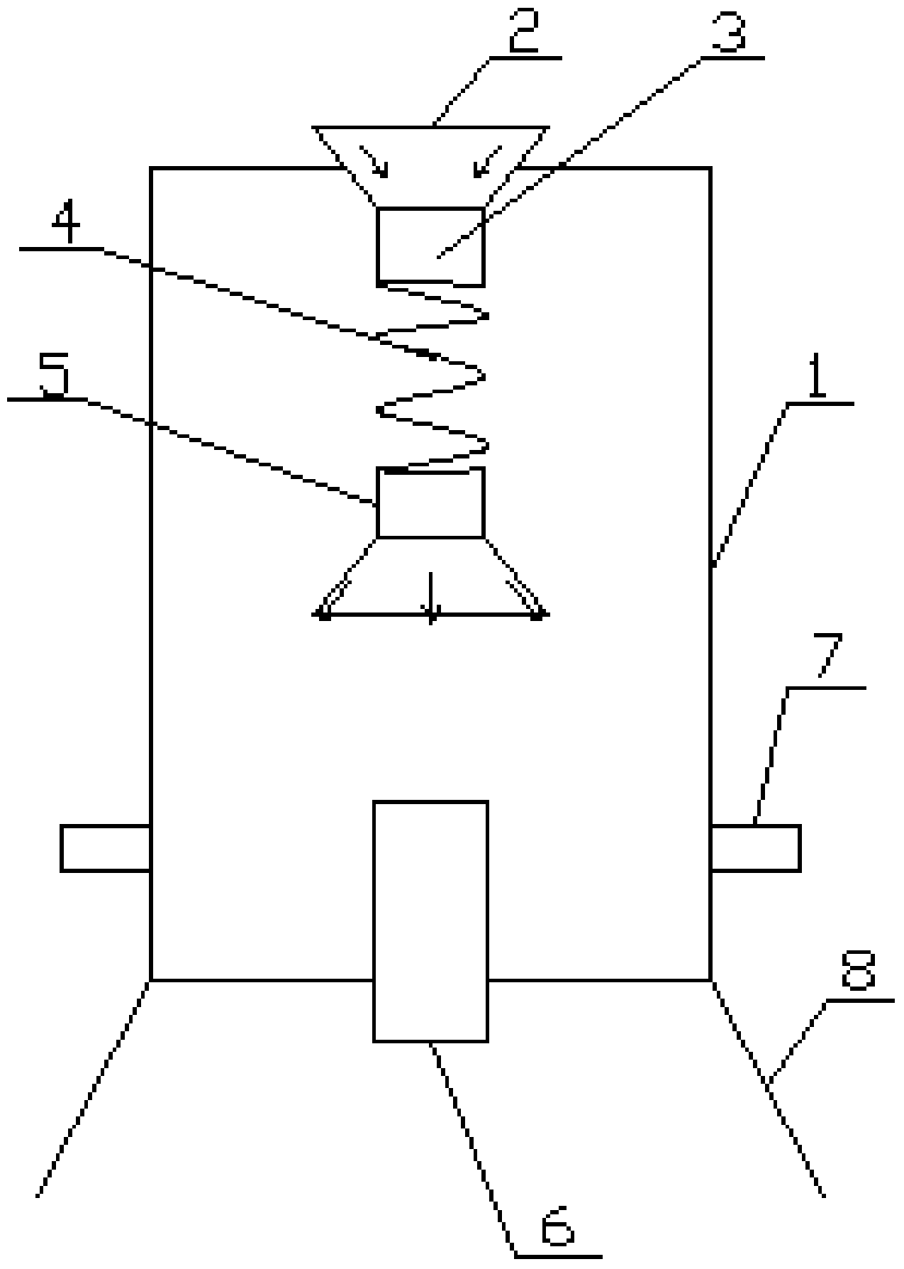
本發明公開了一種用于分離金屬顆粒的初步污水處理裝置,它包括裝置本體和設置在裝置本體底端的腳架,所述裝置本體內設有一上一下對應設置的錐狀桶,所述錐狀桶之間是通過導流管相連通的,所述裝置本體的底端正對錐狀桶方向設有收集罐,所述裝置本體的下方兩側設有出水口。本發明具有使用方便,分離效果好,能避免出現堵塞現象,拆卸清洗方便,經濟環保,使用壽命長等特點。
權利要求書
1.用于分離金屬顆粒的初步污水處理裝置,它包括裝置本體和 設置在裝置本體底端的腳架,其特征在于:所述裝置本體內設有一上 一下對應設置的錐狀桶,所述錐狀桶之間是通過導流管相連通的,所 述裝置本體的底端正對錐狀桶方向設有收集罐,所述裝置本體的下方 兩側設有出水口。
2.根據權利要求1所述用于分離金屬顆粒的初步污水處理裝置, 其特征在于:所述導流管包括中間部分的螺旋管和兩端的直筒管,并 且為一體成型設置。
3.根據權利要求1所述用于分離金屬顆粒的初步污水處理裝置, 其特征在于:所述出水口的水平高度低于收集罐的水平高度。
4.根據權利要求1所述用于分離金屬顆粒的初步污水處理裝置, 其特征在于:所述位于裝置本體內上方的錐狀桶一部分延伸至裝置本 體外。
5.根據權利要求1所述用于分離金屬顆粒的初步污水處理裝置, 其特征在于:所述位于裝置本體內的收集罐一部分延伸至裝置本體 外。
說明書
用于分離金屬顆粒的初步污水處理裝置
技術領域
本發明涉及污水處理設備技術領域,具體涉及一種用于分離金屬 顆粒的初步污水處理裝置。
背景技術
水是生命之源,是萬物生存的根本保障。水資源短缺和水污染嚴 重是當今世界所關注的主題。對于污水處理,傳統的處理工藝是將污 水通過沉淀池、平流池、過濾裝置、濃縮池、泥水分離裝置等來完成 污水處理的全過程。
隨著人們生活的改善,機械化產品越來越多,隨之帶來的環境污 染也越來越嚴重,在工業生產中會產生大量的廢水,這些工業廢水中 含有大量金屬固定顆粒,像這類工業廢水如果直接外排對人類的生存 環境造成極大的污染和危害,目前,通常是采用固液分離裝置進行沉 降,但這種分離方式效果不好,容易導致裝置堵塞,拆卸清洗不方便, 縮短了使用壽命。因此,為了克服這些問題,需要提高一種新的技術 方案來解決。
發明內容
針對以上現有技術中存在的問題,本發明提供了一種用于分離金 屬顆粒的初步污水處理裝置,該裝置使用方便,分離效果好,能避免 出現堵塞現象,拆卸清洗方便,經濟環保,使用壽命長。
本發明所要解決的技術問題采用以下技術方案來實現:
用于分離金屬顆粒的初步污水處理裝置,它包括裝置本體和設置 在裝置本體底端的腳架,其特征在于:所述裝置本體內設有一上一下 對應設置的錐狀桶,所述錐狀桶之間是通過導流管相連通的,所述裝 置本體的底端正對錐狀桶方向設有收集罐,所述裝置本體的下方兩側 設有出水口。
作為優選實例,所述導流管包括中間部分的螺旋管和兩端的直筒 管,并且為一體成型設置。
作為優選實例,所述出水口的水平高度低于收集罐的水平高度。
作為優選實例,所述位于裝置本體內上方的錐狀桶一部分延伸至 裝置本體外。
作為優選實例,所述位于裝置本體內的收集罐一部分延伸至裝置 本體外。
本發明的有益效果是:污水從錐狀桶流出,加快了水流速度,經 過導流管,由于金屬固體顆粒物自身的重量和慣性作用,再加上水流 經過螺旋狀導流管時會形成向心力作用,進而使得金屬固體顆粒物直 流入收集罐內,而水流在阻力和向心力的作用,又經下方的錐狀桶流 出,使得水流分散撒落在裝置本體內,最后經出水口流出,進行下一 步操作,從而實現初步分離效果,大幅度提高了分離效率,避免了堵 塞現象的發生,減小了占地面積和處理成本,經濟環保,且使用壽命 長。







