申請日2014.11.05
公開(公告)日2016.06.01
IPC分類號E03C1/12; E03D5/00; B01D29/03
摘要
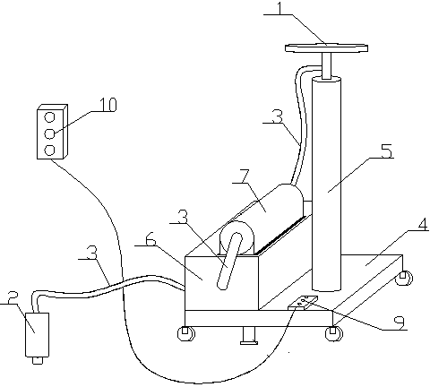
本發明公開了一種用生活廢水沖便池裝置,涉及生活機械領域,包括進水口、出水口、連接管和底座,所述進水口通過支桿與底座連接,所述底座上設有水箱和加壓泵,所述出水口通過連接管與水箱連接,所述加壓泵通過連接管與水箱和進水口連接,所述水箱的出水口設有濾網,所述底座上設有電源開關,所述電源開關連接有手持式控制器,底座上設有加壓泵,能夠對進入水箱的水進行二次加壓,水箱的出水口設有的濾網能有效防止雜物進入進水口造成堵塞,所述底座上設有電源開關,所述電源開關和手持式控制器連接,可遠程操控用生活廢水沖便池裝置的開啟和關閉,比較便捷。
權利要求書
1.一種用生活廢水沖便池裝置,包括進水口、出水口、連接管和底座,所述進水口通過支桿與底座連接,其特征在于:所述底座上設有水箱和加壓泵,所述出水口通過連接管與水箱連接,所述加壓泵通過連接管與水箱和進水口連接,所述水箱的出水口設有濾網,所述底座上設有電源開關,所述電源開關連接有手持式控制器。
說明書
一種用生活廢水沖便池裝置
技術領域
本發明涉及生活機械領域,具體涉及一種用生活廢水沖便池裝置。
背景技術
用生活廢水沖便池裝置是一種將生活廢水通過有壓水流來沖洗便池,現在生活中,人們通常將生活廢水直接用來沖便池,這樣容易導致便池發生堵塞現象,另外還有將廢水儲存在水桶中,使用時通過人工再來沖洗便池,使用起來也比較麻煩。
發明內容
本發明的目的在于提供一種用生活廢水沖便池裝置,以解決現有技術中導致的上述多項缺陷。
一種用生活廢水沖便池裝置,包括進水口、出水口、連接管和底座,所述進水口通過支桿與底座連接,所述底座上設有水箱和加壓泵,所述出水口通過連接管與水箱連接,所述加壓泵通過連接管與水箱和進水口連接,所述水箱的出水口設有濾網,所述底座上設有電源開關,所述電源開關連接有手持式控制器。
本發明的優點在于:底座上設有加壓泵,能夠對進入水箱的水進行二次加壓,水箱的出水口設有的濾網能有效防止雜物進入進水
口造成堵塞,所述底座上設有電源開關,所述電源開關和手持式控制器連接,可遠程操控用生活廢水沖便池裝置的開啟和關閉,比較便捷。







