申請日2013.09.16
公開(公告)日2014.03.12
IPC分類號C02F11/00; C02F11/14; C02F11/04
摘要
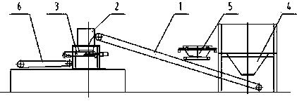
本實用新型屬于污泥處理設備,涉及一種帶有攪拌功能的污泥輸送裝置。提出的一種帶有攪拌功能的污泥輸送裝置,包括有原態污泥計量投料機構(4)、固態添加劑計量投料機構(5)、原態污泥上料皮帶機(1)、原態污泥與固態添加劑攪拌機構和分料皮帶機(6);原態污泥計量投料機構(4)、固態添加劑計量投料機構(5)均位于所述原態污泥上料皮帶機(1)的上方并間隔一段距離設置;物料接料斗(2)的進料口位于原態污泥上料皮帶機出料端的下方,出料口位于攪拌裝置(3)的上方,攪拌裝置(3)為攪拌容器和螺旋機構成。本實用新型將原態污泥、固態添加劑進行計量并混合攪拌,保證了原態污泥的發酵和脫水效果。
權利要求書
1.一種帶有攪拌功能的污泥輸送裝置,其特征在于:所述輸送裝置包括有原態污泥計量投料機構(4)、固態添加劑計量投料機構(5)、原態污泥上料皮帶機(1)、原態污泥與固態添加劑攪拌機構和分料皮帶機(6);所述原態污泥計量投料機構(4)、固態添加劑計量投料機構(5)均位于所述原態污泥上料皮帶機(1)的上方,固態添加劑計量投料機構(5)與所述原態污泥計量投料機構(4)間隔一段距離設置;所述原態污泥計量投料機構(4)具有斗體和出料螺旋機,并具有對原態污泥稱量的傳感器;所述固態添加劑計量投料機構(5)具有斗體和對固態添加劑稱量的傳感器;原態污泥通過所述的原態污泥計量投料機構,均勻投放在原態污泥上料皮帶機的輸送皮帶上,在上料過程中固態添加劑計量投料機構定量添加固態添加劑;所述原態污泥上料皮帶機的出料端位于原態污泥與固態添加劑攪拌機構的進料口的上方;所述原態污泥與固態添加劑攪拌機構具有物料接料斗(2)和攪拌裝置(3);所述物料接料斗(2)為漏斗結構,物料接料斗(2)的進料口位于原態污泥上料皮帶機出料端的下方,出料口位于攪拌裝置(3)的上方,用于接收所述原態污泥上料皮帶機輸送的物料,并將物料導入所述攪拌裝置內;所述攪拌裝置(3)為攪拌容器和螺旋機構成;分料皮帶機(6)的進料端位于攪拌裝置螺旋機出口位置的下方。
說明書
具有攪拌功能的污泥輸送裝置
技術領域
本實用新型涉及污泥處理設備,具體涉及一種帶有攪拌功能的污泥輸送裝置,用于污泥輸送過程中固體顆粒和污泥的預攪拌。
背景技術
在整套污泥處理設備中需要將原態污泥和固態添加劑兩種物料運輸至污泥儲存發酵倉。為了減少成本和實現兩種物料的摻和,將兩種物料同時投放在同一皮帶輸送機上,然后再送至污泥儲存發酵倉。在原態污泥處理中,發酵和脫水是必不可少的一道工序,而發酵和脫水須在原態污泥中添加固態添加劑。在進入污泥儲存發酵倉之前須將原態污泥與添加的固態添加劑經行摻和,使添加的固態添加劑與原態污泥充分接觸,由此才能保證污泥的發酵和脫水效果。
實用新型內容
為解決上述技術問題,本實用新型提出一種具有攪拌功能的污泥輸送裝置。
為實現上述發明目的,本實用新型采取的技術方案是:
一種具有攪拌功能的污泥輸送裝置,所述輸送裝置包括有原態污泥計量投料機構、固態添加劑計量投料機構、原態污泥上料皮帶機、原態污泥與固態添加劑攪拌機構和分料皮帶機;所述原態污泥計量投料機構、固態添加劑計量投料機構均位于所述原態污泥上料皮帶機的上方,固態添加劑計量投料機構與所述原態污泥計量投料機構間隔一段距離設置;所述原態污泥計量投料機構具有斗體和出料螺旋機,并具有對原態污泥稱量的傳感器;所述固態添加劑計量投料機構具有斗體和對固態添加劑稱量的傳感器;原態污泥通過所述的原態污泥計量投料機構,均勻投放在原態污泥上料皮帶機的輸送皮帶上,在上料過程中固態添加劑計量投料機構定量添加固態添加劑;所述原態污泥上料皮帶機的出料端位于原態污泥與固態添加劑攪拌機構的進料口的上方;所述原態污泥與固態添加劑攪拌機構具有物料接料斗和攪拌裝置;所述物料接料斗為漏斗結構,物料接料斗的進料口位于原態污泥上料皮帶機出料端的下方,出料口位于攪拌裝置的上方,用于接收所述原態污泥上料皮帶機 輸送的物料,并將物料導入所述攪拌裝置內;所述攪拌裝置為攪拌容器和螺旋運輸機構成,通過螺旋葉片將攪拌容器內的固態添加劑與原態污泥相拌混合,進行予攪拌;分料皮帶機的進料端位于螺旋機出口位置的下方,由分料皮帶機將與固態添加劑混合攪拌后的原態污泥輸送至下一處理工序。
本實用新型將原態污泥、固態添加劑進行計量并混合攪拌后,再送至污泥儲存發酵倉,使添加的固態添加劑與原態污泥充分接觸,由此保證原態污泥的發酵和脫水效果。







