申請日2013.09.16
公開(公告)日2014.03.12
IPC分類號G01G19/34
摘要
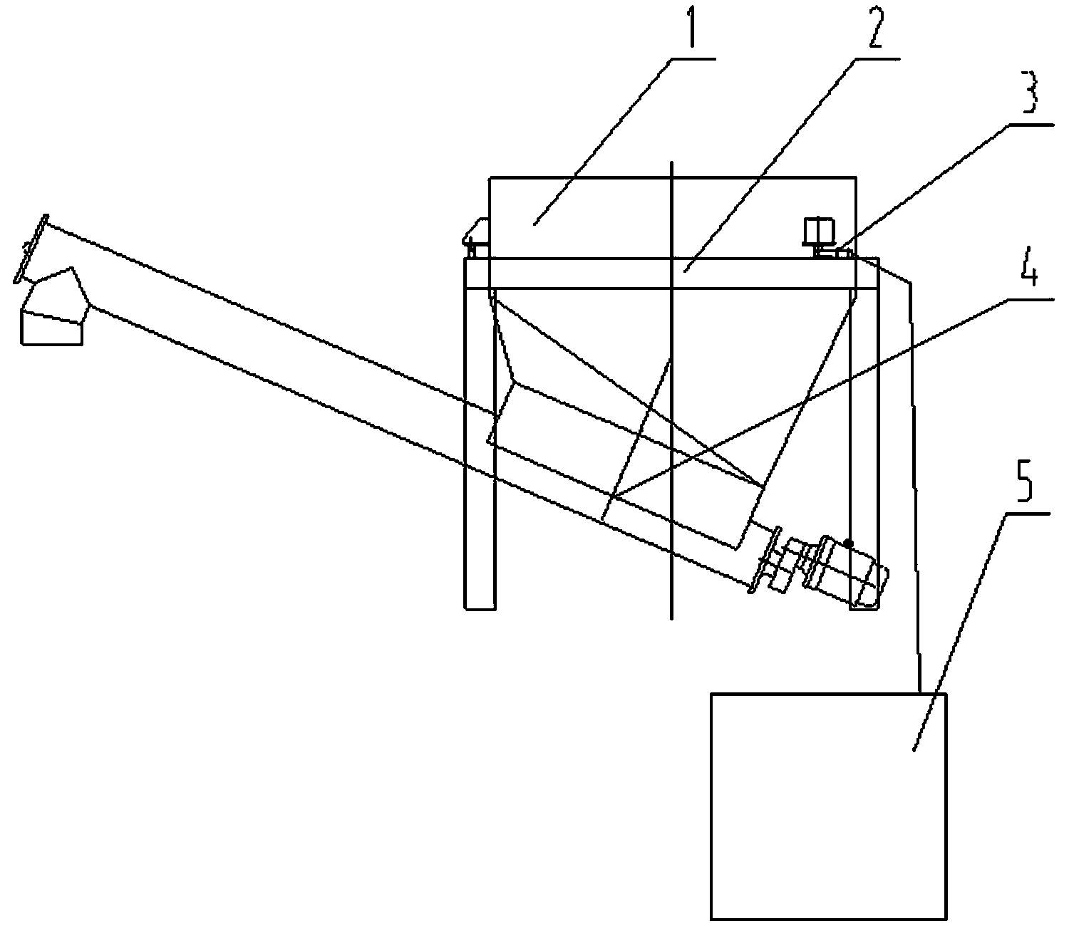
本實用新型屬于污泥處理工業化生產設備,涉及一種能夠精準計量污泥投放量的裝置。提出的一種能夠精準計量污泥投放量的裝置,包括有污泥計量斗體(1)、計量傳感器(3)、強制式出料機構(4)和數據計量控制機構(5);污泥計量斗體(1)通過所具有的支撐點設置在計量斗體支架(2)上,計量傳感器(3)位于污泥計量斗體的支撐點與計量斗體支架之間;強制式出料機構(4)安裝在所述污泥計量斗體的下部出口部位,強制式出料機構(4)的螺旋運輸機由接料端至出料端為向上傾斜設置;計量傳感器(3)與數據計量控制機構(5)連接。本實用新型能夠實現污泥的強制出料,同時配合減法計量方式,解決由于污泥粘稠的粘壁現象,從而實現精準計量。
權利要求書
1.一種能夠精準計量污泥投放量的裝置,其特征在于:所述計量投放裝置包括有污泥計量斗體(1)、計量傳感器(3)、強制式出料機構(4)和數據計量控制機構(5);所述的污泥計量斗體(1)頂部具有污泥進料口,所述污泥計量斗體的側壁上具有若干支撐點,所述的污泥計量斗體(1)通過所述支撐點設置在計量斗體支架(2)上,所述的計量傳感器(3)設置在計量斗體支架(2)上并與所述污泥計量斗體(1)上的支撐點對應,所述的計量傳感器(3)位于所述污泥計量斗體的支撐點與計量斗體支架之間;所述強制式出料機構(4)安裝在所述污泥計量斗體的下部出口部位,所述強制式出料機構(4)采用螺旋運輸機,螺旋運輸機由接料端至出料端為向上傾斜設置;所述計量傳感器(3)連接數據計量控制機構(5),所述數據計量控制機構(5)采用可編程控制器或工控機。
說明書
一種能夠精準計量污泥投放量的裝置
技術領域
本實用新型屬于污泥處理工業化生產設備,具體涉及一種能夠精準計量污泥投放量的裝置。
背景技術
涉及污泥處理目前僅存在污泥填埋、污泥干化焚燒、厭氧積肥等工藝處理,這些工藝處理對污泥投放量均沒有嚴格的要求,甚至可以說沒有投放的控制精度。若污泥進行工業化、產業化發展的話,需要對污泥以及處理時所用的輔料和添加劑按照一定重量進行行配合,才能保證處理后成品的質量;由此就涉及到對污泥投放量精準計量的要求。由于污泥本身粘稠性比較強,粘接程度大,污泥干稀程度差異比較大,較為傳統的控制及計量方式均無法滿足對控制精度的要求。
實用新型內容
為解決上述技術問題,本實用新型提出一種能夠精準計量污泥投放量的裝置,采用機械強制將污泥從計量斗體排出,通過重力傳感器計量污泥投放的質量,從而達到污泥精準計量。
為完成上述發明目的本實用新型采用如下技術方案:
一種能夠精準計量污泥投放量的裝置,所述投放裝置包括有污泥計量斗體、計量傳感器、強制式出料機構和數據計量控制機構;所述的污泥計量斗體頂部具有污泥進料口,所述污泥計量斗體的側壁上具有若干支撐點,所述的污泥計量斗體通過所述支撐點設置在計量斗體支架上,所述的計量傳感器設置在計量斗體支架上并與所述污泥計量斗體上的支撐點對應,所述的計量傳感器位于所述污泥計量斗體的支撐點與計量斗體支架之間;所述強制式出料機構安裝在所述污泥計量斗體的下部出口部位,所述強制式出料機構采用螺旋運輸機,螺旋運輸機由接料端至出料端為向上傾斜設置,以保證較稀的污泥不自流出計量斗體;所述計量傳感器連接數據計量控制機構,所述數據計量控制機構采用可編程控制器或工控機。
本實用新型提出一種能夠精準計量污泥投放量的裝置,能夠實現污泥的強制出料,同時配合減法計量方式,解決由于污泥粘稠粘壁現象,從而實現精準計量。







