公布日:2024.06.21
申請日:2024.05.07
分類號:C02F9/00(2023.01)I;C02F1/52(2023.01)N;C02F1/00(2023.01)N;C02F1/461(2023.01)N;C02F1/28(2023.01)N
摘要
本發明屬于污水處理技術領域,具體涉及一種多級污水處理器及鈦電極高效除污的方法,包括處理箱和進水箱,所述處理箱的內部可拆卸的設置有過濾件;分隔板,兩個所述分隔板設置于處理箱的上端;加藥構件,所述加藥構件設置于處理箱和進水箱之間;處理構件,所述處理構件設置于處理箱內;電解構件,所述電解構件設置于處理箱的底部;其中,所述處理構件包括驅動部,所述驅動部設置于處理箱的頂部,所述驅動部的下端設置有混合部和曝氣部,所述處理箱的內壁設置有用于清潔過濾件的清潔部,所述驅動部運作時,帶動所述過濾件轉動,并驅動混合部攪拌污水。本發明能夠有效去除污水中的顆粒物雜質、有害物質和異味。

![]()
權利要求書
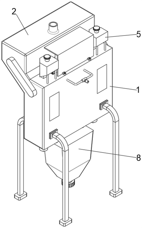
1.一種多級污水處理器,其特征在于:包括:處理箱(1)和進水箱(2),所述處理箱(1)的內部可拆卸的設置有過濾件(4);分隔板(3),兩個所述分隔板(3)設置于處理箱(1)的上端;加藥構件(5),所述加藥構件(5)設置于處理箱(1)和進水箱(2)之間,用于持續的往處理箱(1)內部滴入絮凝劑;處理構件(6),所述處理構件(6)設置于處理箱(1)內;電解構件(7),所述電解構件(7)設置于處理箱(1)的底部;其中,所述處理構件(6)包括驅動部(61),所述驅動部(61)設置于處理箱(1)的頂部,所述驅動部(61)的下端設置有混合部(62)和曝氣部(63),所述處理箱(1)的內壁設置有用于清潔過濾件(4)的清潔部(64),所述驅動部(61)運作時,帶動所述過濾件(4)轉動,并驅動混合部(62)攪拌污水。
2.根據權利要求1所述的多級污水處理器,其特征在于:所述過濾件(4)由濾筒(41)、集雜筒(42)和連接板(43)組成,所述濾筒(41)與集雜筒(42)一體成型,兩者之間相互連通,且中部呈漏斗狀,所述連接板(43)可轉動的套設在集雜筒(42)上,且集雜筒(42)的下端設置有密封塞,其中,所述處理箱(1)的底面開設有與連接板(43)相適配的連接槽(101),且濾筒(41)上固定套設有鐵環。
3.根據權利要求1所述的多級污水處理器,其特征在于:所述加藥構件(5)包括第一轉桿(501),所述第一轉桿(501)轉動連接在進水箱(2)上,所述第一轉桿(501)的中端固定套設有水輪(502),所述處理箱(1)的頂面固定連接有儲液箱(503),且儲液箱(503)的排液端貫穿處理箱(1)的頂面,并延伸至處理箱(1)內部,所述儲液箱(503)的排液端滑動插接有L型擋板(504),所述L型擋板(504)的一側固定連接有彈簧(505),且彈簧(505)的另一端固定連接在處理箱(1)的內壁上,所述處理箱(1)的側面頂部轉動連接有第二轉桿(506),所述第二轉桿(506)的一端固定連接有圓盤(507),所述圓盤(507)的外圈呈環形分布的設置有凸起半球(508),所述第一轉桿(501)與第二轉桿(506)的一端均固定安裝有第一齒輪(509)。
4.根據權利要求1所述的多級污水處理器,其特征在于:所述驅動部(61)包括空心柱(611),所述空心柱(611)轉動連接在處理箱(1)的上端,且空心柱(611)的下端貫穿兩個分隔板(3),并在貫穿處設置有密封軸承,上方所述分隔板(3)的底面轉動鑲嵌有兩個進水頭(612),且進水頭(612)的下端貫穿下方的分隔板(3),并與下方的分隔板(3)轉動連接,所述進水頭(612)的下端連接有卡箍(613),所述空心柱(611)和進水頭(612)上均固定套設有第二齒輪(614),所述處理箱(1)的頂面固定安裝有電機(615),所述電機(615)的輸出端固定安裝有第三齒輪(616),所述空心柱(611)的上端外壁固定套設有第四齒輪(617)。
5.根據權利要求4所述的多級污水處理器,其特征在于:所述混合部(62)包括滑軌(621),所述滑軌(621)固定連接在下方的分隔板(3)上,所述滑軌(621)上滑動連接有滑塊(622),所述滑塊(622)上轉動連接有圓桿(623),所述圓桿(623)上固定連接有攪拌葉(624),所述圓桿(623)的一端固定連接有第五齒輪(625),所述空心柱(611)的下端開設有螺紋槽,并螺紋連接有絲塊(626),且絲塊(626)與滑塊(622)利用支桿固定連接,所述滑塊(622)上固定連接有齒條(627)。
6.根據權利要求4所述的多級污水處理器,其特征在于:所述曝氣部(63)包括空心環(631),所述空心環(631)固定連接在空心柱(611)的下端,所述空心環(631)上環形分布的連接有排氣管(632),所述排氣管(632)的一端連接有空心球(633),且空心球(633)上均勻分布的開設有出氣孔。
7.根據權利要求1所述的多級污水處理器,其特征在于:所述清潔部(64)包括固定塊(641),所述固定塊(641)固定連接在處理箱(1)的內壁上,所述固定塊(641)上開設有滑槽(642),所述滑槽(642)的前后兩側均開設有限位槽(643),所述滑槽(642)與限位槽(643)內滑動連接有移動塊(644),所述移動塊(644)與滑槽(642)之間固定連接有壓簧(645),所述移動塊(644)的下端固定連接有安裝塊(646),且安裝塊(646)上鑲嵌有電磁鐵,上下兩個相對應的所述安裝塊(646)之間轉動連接有清潔輥(647)。
8.根據權利要求1所述的多級污水處理器,其特征在于:所述電解構件(7)包括濾框(71),所述濾框(71)設置在處理箱(1)的內腔底面,所述濾框(71)內設置有鈦陽板(72)和鈦陰板(73),所述鈦陽板(72)和鈦陰板(73)上均連接有電連接柱(74),且電連接柱(74)的一端延伸至處理箱(1)的外部。
9.根據權利要求1所述的多級污水處理器,其特征在于:所述處理箱(1)的下方設置有過濾箱(8),所述過濾箱(8)與處理箱(1)之間連接有通水管(81),且通水管(81)上設置有閥門,所述處理箱(1)的頂面固定安裝有氣泵(9),所述氣泵(9)的出氣端連通有輸氣管(91),且輸氣管(91)的另一端轉動連接在空心柱(611)的頂端內腔。
10.一種鈦電極高效除污的方法,應用于權利要求1至9中任意一項所述的多級污水處理器,包括以下步驟:步驟一,水源先進入進水箱(2)內,并通過加藥構件(5)持續的往內部加入絮凝劑,完成絮凝劑與水源的初步混合;步驟二,之后水源和絮凝劑進入過濾件(4)中,利用過濾件(4)完成過濾,去除污水中的雜質;步驟三,過濾后的水源儲存在處理箱(1)內,將電解構件(7)通電,利用鈦電極的電化學作用,去除污水中的有害物質,并啟動驅動部(61)帶動混合部(62)運作對處理箱(1)內部的污水進行攪拌,能夠讓污水在處理箱(1)內流動,使污水與電解構件(7)充分接觸;步驟四,經過通水管(81)將處理好的水源排入過濾箱(8)內,利用過濾箱(8)內的多層活性炭板進一步對水源進行吸附凈化,最后從過濾箱(8)的下端排出。
發明內容
本發明的目的是提供一種多級污水處理器及鈦電極高效除污的方法,能夠有效去除污水中的顆粒物雜質、有害物質和異味。
本發明采取的技術方案具體如下:
一種多級污水處理器,包括:
處理箱和進水箱,所述處理箱的內部可拆卸的設置有過濾件;
分隔板,兩個所述分隔板設置于處理箱的上端;
加藥構件,所述加藥構件設置于處理箱和進水箱之間,用于持續的往處理箱內部滴入絮凝劑;
處理構件,所述處理構件設置于處理箱內;
電解構件,所述電解構件設置于處理箱的底部;
其中,所述處理構件包括驅動部,所述驅動部設置于處理箱的頂部,所述驅動部的下端設置有混合部和曝氣部,所述處理箱的內壁設置有用于清潔過濾件的清潔部,所述驅動部運作時,帶動所述過濾件轉動,并驅動混合部攪拌污水。
在一種優選方案中,所述過濾件由濾筒、集雜筒和連接板組成,所述濾筒與集雜筒一體成型,兩者之間相互連通,且中部呈漏斗狀,所述連接板可轉動的套設在集雜筒上,且集雜筒的下端設置有密封塞,其中,所述處理箱的底面開設有與連接板相適配的連接槽,且濾筒上固定套設有鐵環。
在一種優選方案中,所述加藥構件包括第一轉桿,所述第一轉桿轉動連接在進水箱上,所述第一轉桿的中端固定套設有水輪,所述處理箱的頂面固定連接有儲液箱,且儲液箱的排液端貫穿處理箱的頂面,并延伸至處理箱內部,儲液箱的排液端滑動插接有L型擋板,所述L型擋板的一側固定連接有彈簧,且彈簧的另一端固定連接在處理箱的內壁上,所述處理箱的側面頂部轉動連接有第二轉桿,所述第二轉桿的一端固定連接有圓盤,所述圓盤的外圈呈環形分布的設置有凸起半球,所述第一轉桿與第二轉桿的一端均固定安裝有第一齒輪。
在一種優選方案中,所述驅動部包括空心柱,所述空心柱轉動連接在處理箱的上端,且空心柱的下端貫穿兩個分隔板,并在貫穿處設置有密封軸承,上方所述分隔板的底面轉動鑲嵌有兩個進水頭,且進水頭的下端貫穿下方的分隔板,并與下方的分隔板轉動連接,所述進水頭的下端連接有卡箍,所述空心柱和進水頭上均固定套設有第二齒輪,所述處理箱的頂面固定安裝有電機,所述電機的輸出端固定安裝有第三齒輪,所述空心柱的上端外壁固定套設有第四齒輪。
在一種優選方案中,所述混合部包括滑軌,所述滑軌固定連接在下方的分隔板上,所述滑軌上滑動連接有滑塊,所述滑塊上轉動連接有圓桿,所述圓桿上固定連接有攪拌葉,所述圓桿的一端固定連接有第五齒輪,所述空心柱的下端開設有螺紋槽,并螺紋連接有絲塊,且絲塊與滑塊利用支桿固定連接,所述滑塊上固定連接有齒條。
在一種優選方案中,所述曝氣部包括空心環,所述空心環固定連接在空心柱的下端,所述空心環上環形分布的連接有排氣管,所述排氣管的一端連接有空心球,且空心球上均勻分布的開設有出氣孔。
在一種優選方案中,所述清潔部包括固定塊,所述固定塊固定連接在處理箱的內壁上,所述固定塊上開設有滑槽,所述滑槽的前后兩側均開設有限位槽,所述滑槽與限位槽內滑動連接有移動塊,所述移動塊與滑槽之間固定連接有壓簧,所述移動塊的下端固定連接有安裝塊,且安裝塊上鑲嵌有電磁鐵,上下兩個相對應的所述安裝塊之間轉動連接有清潔輥。
在一種優選方案中,所述電解構件包括濾框,所述濾框設置在處理箱的內腔底面,所述濾框內設置有鈦陽板和鈦陰板,所述鈦陽板和鈦陰板上均連接有電連接柱,且電連接柱的一端延伸至處理箱的外部。
在一種優選方案中,所述處理箱的下方設置有過濾箱,所述過濾箱與處理箱之間連接有通水管,且通水管上設置有閥門。
在一種優選方案中,所述處理箱的頂面固定安裝有氣泵,所述氣泵的出氣端連通有輸氣管,且輸氣管的另一端轉動連接在空心柱的頂端內腔。
一種鈦電極高效除污的方法,應用于上述的多級污水處理器,包括以下步驟:
步驟一,水源先進入進水箱內,并通過加藥構件持續的往內部加入絮凝劑,完成絮凝劑與水源的初步混合;
步驟二,之后水源和絮凝劑進入過濾件中,利用過濾件完成過濾,去除污水中的雜質;
步驟三,過濾后的水源儲存在處理箱內,將電解構件通電,利用鈦電極的電化學作用,去除污水中的有害物質,并啟動驅動部帶動混合部運作對處理箱內部的污水進行攪拌,能夠讓污水在處理箱內流動,使污水與電解構件充分接觸;
步驟四,經過通水管將處理好的水源排入過濾箱內,利用過濾箱內的多層活性炭板進一步對水源進行吸附凈化,最后從過濾箱的下端排出。
本發明取得的技術效果為:
本發明通過清潔部的設計,清潔部能夠根據實際使用情況靠近或遠離過濾件,避免濾筒在轉動過程中與清潔輥一直產生摩擦,減輕磨損,延長了濾筒和清潔輥的使用壽命,減少更換和維護的頻率,且清潔輥上的刷毛能夠深入濾筒上的濾孔內,可以將濾孔內堵塞的雜質擠出,清潔效果更好;
本發明通過加藥構件的設計,在污水進入的過程中,利用污水的沖擊來控制儲液箱排液端的開閉,可達到持續定量注入絮凝劑的目的,避免一次性加入過多的絮凝劑出現與污水混合不均勻,且容易出現浪費的情況;
本發明通過多層過濾凈化的設計,先將污水與絮凝劑混合,幫助污水中的懸浮物顆粒迅速聚集形成較大的絮凝體,并利用濾筒對污水進行過濾,將污水中的雜質阻攔住,再采用鈦電極的電化學作用,去除污水中的有害物質式,最后利用過濾箱內的多層活性炭板對污水進行吸附凈化,進一步去除污水的有害物質和異味,通過多重的污水處理方式,能夠有效去除污水中的顆粒物雜質、有害物質和異味。
(發明人:談家彬)






