公布日:2023.12.05
申請日:2023.11.03
分類號:C02F1/469(2023.01)I;C01B3/00(2006.01)I;B01D11/04(2006.01)I
摘要
本申請涉及環保和新能源交叉融合的技術領域,特別是芳環含鹽廢水處置耦合儲氫的裝置、系統與方法,其中廢水處理和儲氫的一體化裝置包括LOHC萃取室和加氫部,加氫部包括陽極、陽極室、陽極室雙極膜、加氫反應室、陰離子交換膜、脫鹽解離室、陽離子交換膜、堿生成室、陰極室雙極膜、陰極室和陰極;LOHC萃取室與加氫反應室連通并且兩者間設有離子分離膜。本申請利用陰陽離子交換膜對廢水中的芳環有機物進行脫鹽處理,芳環有機物脫鹽后原位水相加氫為LOHC,同時采用雙極膜引發水電解離,控制水相LOHC解離狀態,實現產物與反應物的選擇性分離,本申請將廢水處理與氫氣的制、儲、運耦合在一起,實現廢水的清潔處理和氫能的高效利用。

權利要求書
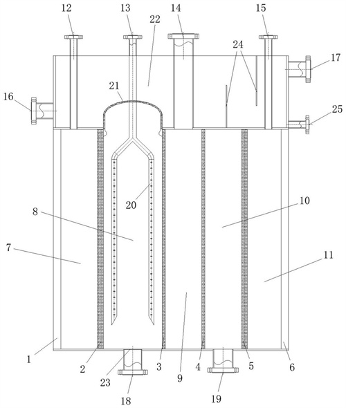
1.一種廢水處理和儲氫的一體化裝置,一體化裝置處理的廢水來源于石化行業生產過程中產生的含芳環有機物廢水,其包括LOHC萃取室(22)和加氫部,其特征在于:所述LOHC萃取室(22)為一體化裝置的上部分,其內為橫向流道且側壁分別開設有LOHC循環進管(16)和LOHC循環出管(17);所述加氫部為一體化裝置的下部分,加氫部包括依次排列的陽極(1)、陽極室(7)、陽極室雙極膜(2)、加氫反應室(8)、陰離子交換膜(3)、脫鹽解離室(9)、陽離子交換膜(4)、堿生成室(10)、陰極室雙極膜(5)、陰極室(11)和陰極(6),加氫反應室(8)內裝填有負載型金屬催化劑,金屬催化劑組分選自Ru、Pd、Ir、Cu、Fe、Ni、In中的單組分或多組分,催化劑在加氫反應室(8)中的濃度為20mg/mL~60mg/mL,水分子經陽極室雙極膜(2)作用下解離以維持加氫反應室(8)內pH控制為3.8~4.9,操作溫度為75℃~150℃,氫氣的操作壓力為0.4MPa~1.0MPa;LOHC萃取室(22)與加氫反應室(8)連通并且兩者間設有離子分離膜(21),離子分離膜(21)為陰離子隔離膜;脫鹽解離室(9)與廢水進料管(14)相連通,加氫反應室(8)分別與加氫管(13)和去芳脫鹽出水管(18)連通,堿生成室(10)與堿液出管(19)相連通,水分子經陰極室雙極膜(5)作用下解離出的OH-在堿生成室(10)中與來自脫鹽解離室(9)的陽離子生成對應的堿溶液并由堿液出管(19)排出,陰極室(11)與陰極氣體出管(15)相連通,陽極室(7)與陽極氣體出管(12)相連通。
2.根據權利要求1所述的一種廢水處理和儲氫的一體化裝置,其特征在于:所述LOHC循環進管(16)和LOHC循環出管(17)采用下進上出的方式;LOHC循環進管(16)近加氫反應室(8)的一端設置;LOHC萃取室(22)內部還設有澄清擋板(24),澄清擋板(24)近LOHC循環出管(17)的一端設置,LOHC萃取室(22)側壁還開設有萃取室水相出管(25),萃取室水相出管(25)設于LOHC循環出管(17)的下方;萃取室水相出管(25)內表面最低點近LOHC萃取室(22)的底面。
3.根據權利要求1所述的一種廢水處理和儲氫的一體化裝置,其特征在于:所述加氫反應室(8)上部設有離子分離膜(21),離子分離膜(21)包括下部的柱形和上部的拱形結構并伸入LOHC萃取室(22)內,離子分離膜(21)伸入LOHC萃取室(22)的高度為LOHC萃取室(22)流向垂直高度的1/3~1/2。
4.根據權利要求1所述的一種廢水處理和儲氫的一體化裝置,其特征在于:所述加氫反應室(8)內設有加氫分布器(20),加氫管(13)與加氫分布器(20)連通,加氫分布器(20)為Y型分支結構,Y型分支結構的夾角為60°~120°,分支結構的管道豎直向下分列于加氫反應室(8)的側邊,分支結構的管道布設有圓形氣孔,圓形氣孔的孔徑/分支結構管道直徑為1/(5~15),分支結構的管道距相鄰的膜的間距為加氫反應室(8)兩側邊間距的1/(2~4)。
5.根據權利要求1所述的一種廢水處理和儲氫的一體化裝置,其特征在于:所述負載型金屬催化劑的負載體為多孔碳氮材料,加氫反應室(8)底部設有催化劑隔離濾網(23)。
6.根據權利要求1所述的一種廢水處理和儲氫的一體化裝置,其特征在于:所述陰極氣體出管(15)與加氫管(13)連通,兩者連通管路中設有氣液分離和調壓裝置。
7.根據權利要求1所述的一種廢水處理和儲氫的一體化裝置,其特征在于:所述廢水中有機物的含量為2wt%~50wt%,鹽含量為0~20wt%。
8.一種芳環含鹽廢水處置耦合儲氫的系統,所述系統包括廢水處理和儲氫的一體化裝置,其特征在于:所述廢水處理和儲氫的一體化裝置采用權利要求1所述的一體化裝置,一體化裝置分別與廢水、儲氣罐、儲液罐、去芳水閃蒸器、換熱器連接;所述廢水經廢水進料管(14)送入脫鹽解離室(9),儲存有萃取劑的儲液罐與LOHC循環進管(16)連接,LOHC循環出管(17)與儲存加氫LOHC的儲液罐連接并且連接管路分支,分支管路依次連接換熱器、LOHC循環進管(16),換熱器還分別與儲存脫氫LOHC的儲液罐連接以及多級分離裝置連接,加氫反應室(8)還與去芳水閃蒸器連接,去芳水閃蒸器還分別與廢水進料管(14)、多級分離裝置和儲存脫鹽水的儲液罐連接。
9.一種芳環含鹽廢水處置耦合儲氫的方法,使用如權利要求1所述的廢水處理和儲氫的一體化裝置,其特征在于:來自于生產過程中的含芳環含鹽廢水經廢水進料管(14)送入廢水處理和儲氫的一體化裝置的脫鹽解離室(9),在兩側電場作用下,芳環陰離子向陽極(1)側遷移并透過陰離子交換膜(3)進入加氫反應室(8),陽離子向陰極(6)遷移并透過陽離子交換膜(4)進入堿生成室(10),水分子經陰極室雙極膜(5)作用下,解離出的OH-在堿生成室(10)中與來自脫鹽解離室(9)的陽離子生成對應的堿溶液并由堿液出管(19)排出,水分子解離出的H+在陰極室(11)電還原為氫氣并由陰極氣體出管(15)排出;加氫反應室(8)中含有加氫催化劑,廢水中的芳環陰離子在此與通入的氫氣反應生成對應的LOHC,水分子經陽極室雙極膜(2)作用下解離以維持加氫反應室(8)內pH控制為3.8~4.9;LOHC萃取室(22)中,加氫產物LOHC采用萃取劑配合離子分離膜(21)與水相實現分離,萃取劑為廢水回收的LOHC并且輔助采用同源萃取劑,所述同源萃取劑的添加量質量占比為回收LOHC的10%~45%。
發明內容
針對現有技術存在的上述技術問題,為此,本申請提出了芳環含鹽廢水處置耦合儲氫的裝置、系統與方法,可利用石化芳環含鹽廢水中的芳環有機物來實現氫氣的液態有機物儲放運輸,廢水中的無機陽離子以堿液形式回收。
一方面,本申請提出了一種廢水處理和儲氫的一體化裝置,包括LOHC萃取室22和加氫部,所述LOHC萃取室22側壁分別開設有LOHC循環進管16和LOHC循環出管17;所述加氫部包括依次排列的陽極1、陽極室7、陽極室雙極膜2、加氫反應室8、陰離子交換膜3、脫鹽解離室9、陽離子交換膜4、堿生成室10、陰極室雙極膜5、陰極室11和陰極6;LOHC萃取室22與加氫反應室8連通并且兩者間設有離子分離膜21;脫鹽解離室9與廢水進料管14相連通,加氫反應室8分別與加氫管13和去芳脫鹽出水管18連通,堿生成室10與堿液出管19相連通,陰極室11與陰極氣體出管15相連通,陽極室7與陽極氣體出管12相連通。
特別的,所述LOHC萃取室22內為橫向流道并且其為一體化裝置的上部分,LOHC循環進管16和LOHC循環出管17采用下進上出的方式;LOHC循環進管16近加氫反應室8的一端設置;LOHC萃取室22內部還設有澄清擋板24,澄清擋板24近LOHC循環出管17的一端設置,LOHC萃取室22側壁還開設有萃取室水相出管25,萃取室水相出管25設于LOHC循環出管17的下方;萃取室水相出管25內表面最低點近LOHC萃取室22的底面。
特別的,所述加氫部為一體化裝置的下部分,加氫反應室8上部設有離子分離膜21,離子分離膜21包括下部的柱形和上部的拱形結構并伸入LOHC萃取室22內,離子分離膜21伸入LOHC萃取室22的高度為LOHC萃取室22流向垂直高度的1/3~1/2,離子分離膜為陰離子隔離膜。
特別的,所述加氫反應室8內設有加氫分布器20,加氫管13與加氫分布器20連通,加氫分布器20為Y型分支結構,Y型分支結構的夾角為60°~120°,分支結構的管道豎直向下分列于加氫反應室8的側邊,分支結構的管道布設有圓形氣孔,圓形氣孔的孔徑/分支結構管道直徑為1/(5~15),分支結構的管道距相鄰的膜的間距為加氫反應室8兩側邊間距的1/(2~4)。
特別的,所述加氫反應室8內裝填有負載型金屬催化劑,負載體為多孔碳氮材料,金屬催化劑組分選自Ru、Pd、Ir、Cu、Fe、Ni、In中的單組分或多組分,催化劑在加氫反應室8中的濃度為2.0mg/mL~6.0mg/mL,加氫反應室8底部設有催化劑隔離濾網23。
特別的,所述陰極氣體出管15與加氫管13連通,兩者連通管路中設有氣液分離和調壓裝置。
特別的,所述一體化裝置處理的廢水來源于石化行業生產過程中產生的含芳環有機物廢水,廢水中有機物的含量為2wt%~50wt%,鹽含量為0~20wt%。
特別的,所述加氫反應室8的pH控制為3.8~4.9,操作溫度為75~150℃,氫氣的操作壓力為0.4~1.0MPa。
第二方面,本申請提出了一種芳環含鹽廢水處置耦合儲氫的系統,所述系統包括如上所述的廢水處理和儲氫的一體化裝置,其分別與廢水、儲氣罐、儲液罐、去芳水閃蒸器、換熱器連接;所述廢水經廢水進料管14送入脫鹽解離室9,儲存有萃取劑的儲液罐與LOHC循環進管16連接,LOHC循環出管17與儲存加氫LOHC的儲液罐連接并且連接管路分支,分支管路依次連接換熱器、LOHC循環進管16,換熱器還分別與儲存脫氫LOHC的儲液罐連接以及多級分離裝置連接,加氫反應室8還與去芳水閃蒸器連接,去芳水閃蒸器還分別與廢水進料管14、多級分離裝置和儲存脫鹽水的儲液罐連接。
第三方面,本申請提出了一種芳環含鹽廢水處置耦合儲氫的方法,使用如上所述的廢水處理和儲氫的一體化裝置、系統,自于生產過程中的含芳環含鹽廢水經廢水進料管14送入廢水處理和儲氫的一體化裝置的脫鹽解離室9,在兩側電場作用下,芳環陰離子向陽極1側遷移并透過陰離子交換膜3進入加氫反應室8,陽離子向陰極6遷移并透過陽離子交換膜4進入堿生成室10,水分子經陰極室雙極膜5作用下,解離出的OH-在堿生成室10中與來自脫鹽解離室9的陽離子生成對應的堿溶液并由堿液出管19排出,水分子解離出的H+在陰極室11電還原為氫氣并由陰極氣體出管15排出;加氫反應室8中含有加氫催化劑,廢水中的芳環陰離子在此與通入的氫氣反應生成對應的LOHC,水分子經陽極室雙極膜2作用下解離以維持加氫反應室8內pH控制為3.8~4.9;LOHC萃取室22中,加氫產物LOHC采用萃取劑配合離子分離膜21與水相實現分離,萃取劑為廢水回收的LOHC并且輔助采用同源萃取劑,所述同源萃取劑的添加量質量占比為回收LOHC的10%~45%。
在符合本領域常識的基礎上,上述各優選條件可任意組合,即得本申請各優選實例。
上述技術方案具有如下優點或有益效果:本申請對石化生產中的含芳環廢水進行高價值回收利用,芳環的回收率可達85%以上。利用陰陽離子交換膜下的離子選擇性電遷移對廢水中的芳環有機物進行脫鹽處理,芳環有機物脫鹽后原位水相加氫生成LOHC,同時采用雙極膜引發水的電解離控制水相LOHC解離狀態,從而實現產物與反應物的選擇性分離,一套裝置可實現芳環廢水的脫鹽、加氫、產物分離等過程。加氫反應熱被利用于產物分離,提高能量利用率,整套裝置可有機地將廢水處理與氫氣的制、儲、運耦合在一起,實現廢水的清潔處理和氫能的高效利用。當然,本申請的任一技術方案并不一定同時達到以上所述的所有優點。
(發明人:戴聰潤;何春曉;趙琛杰;張相)






