公布日:2024.06.04
申請日:2024.03.29
分類號:C02F3/28(2023.01)I;C02F1/00(2023.01)I;B01D29/03(2006.01)I;B01D29/50(2006.01)I;C02F101/16(2006.01)N
摘要
本發明屬于污水處理技術領域,具體的說是一種控氮反硝化濾池污水處理系統及方法,包括處理設備,處理設備的左端固定連接有輸液管,處理設備的右端固定連接有排放設備,處理設備的底部設置有支撐架;處理設備包括引流長筒,引流長筒內壁的軸心處固定連接有分流隔板。該裝置可以安裝在排放污水的管體與污水氮化物處理設備之間,在排污水的過程中,利用浮沫上浮和雜質沉底的特性,將流入引流長筒的污水等分成三部分,取中部的污水直接輸送到污水氮化物處理設備內,然后再針對浮沫和固體物的特性分別進行過濾工作,提取污水中較為純凈的部位進行氮化物處理加工,從而在不增加工序和流水線的情況下,解決污水中的絮狀物和浮沫等問題。

權利要求書
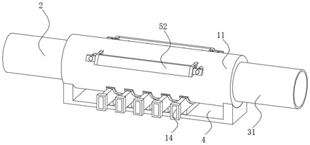
1.一種控氮反硝化濾池污水處理系統,包括處理設備(1),所述處理設備(1)的左端固定連接有輸液管(2),所述處理設備(1)的右端固定連接有排放設備(3),所述處理設備(1)的底部設置有支撐架(4),其特征在于:所述處理設備(1)包括引流長筒(11),所述引流長筒(11)內壁的上下兩側對稱固定有分流隔板(12),且分流隔板(12)的數量為兩個,所述分流隔板(12)的左端固定連接有簡易濾板(13),所述引流長筒(11)內壁底部的中部均勻設置有固體過濾板(14),上側分流隔板內壁的頂部均勻設置有回流設備(5);所述回流設備(5)包括復合內筒(51),所述復合內筒(51)的兩端均固定連接有集束牽引板(52),所述集束牽引板(52)的兩端均固定連接有分段拉力臂(53),所述分段拉力臂(53)遠離引流長筒(11)的一側固定連接有推力筒(54);所述復合內筒(51)包括軸心引導桿(511),所述軸心引導桿(511)內壁的兩側對稱設置有滑動牽引桿(512),所述滑動牽引桿(512)遠離集束牽引板(52)的一端對稱設置有插接拉桿(513),所述插接拉桿(513)的外表面固定連接有壓縮內筒(514),所述壓縮內筒(514)外表面的上部滑動連接有弧形濾板(515),所述壓縮內筒(514)外表面的下部滑動連接有切槽弧形板(516),所述切槽弧形板(516)的下表面設置有外滑框(517),所述外滑框(517)的兩側對稱設置有側位彈簧帶(518),所述軸心引導桿(511)外表面的中部對稱設置有緩沖設備(6),所述軸心引導桿(511)內腔的中部固定連接有內吸磁塊(519);所述復合內筒(51)的數量為五個,所述軸心引導桿(511)的兩端均通過貫穿口延伸至引流長筒(11)的外部,且軸心引導桿(511)外表面的兩側均通過貫穿口與引流長筒(11)的內腔固定連接,所述弧形濾板(515)的兩端均通過插口與上側分流隔板的外表面插接;所述壓縮內筒(514)的外表面與上側分流隔板的內壁滑動連接,所述滑動牽引桿(512)遠離緩沖設備(6)的一端與集束牽引板(52)的內腔固定連接,所述插接拉桿(513)的頂端與壓縮內筒(514)遠離集束牽引板(52)的一端固定連接,所述切槽弧形板(516)的兩側均與上側分流隔板內腔的頂部固定連接,所述外滑框(517)的頂部與切槽弧形板(516)下表面的中部相互擠壓,所述側位彈簧帶(518)的底端與外滑框(517)的頂部固定連接,且側位彈簧帶(518)的頂端通過滑槽與上側分流隔板的內腔滑動連接;所述排放設備(3)包括排液主管(31),所述排液主管(31)內壁的左側滑動連接有牽引滑套(32),所述牽引滑套(32)內腔右端的軸心處固定連接有單向過濾板(34),所述牽引滑套(32)的左端固定連接有填充板(33),所述填充板(33)的內腔固定連接有牽引彈簧桿(36),所述牽引彈簧桿(36)的左端滑動連接有固定引導筒(35);所述固定引導筒(35)的數量為兩根,且固定引導筒(35)遠離牽引彈簧桿(36)的一端與引流長筒(11)內壁的右側固定連接,所述填充板(33)的外表面與分流隔板(12)外表面的右側相互擠壓,且填充板(33)的外表面與排液主管(31)的內壁滑動連接,所述排液主管(31)的左端與引流長筒(11)右側的軸心處固定連接。
2.根據權利要求1所述的一種控氮反硝化濾池污水處理系統,其特征在于:所述分段拉力臂(53)遠離集束牽引板(52)的一側與引流長筒(11)的外表面固定連接,所述推力筒(54)遠離集束牽引板(52)的一側與引流長筒(11)的外表面固定連接,所述引流長筒(11)外表面左側的軸心處與輸液管(2)的右端固定連接,所述固體過濾板(14)的外表面與引流長筒(11)內壁的底部滑動連接,且固體過濾板(14)的底部與支撐架(4)的頂部滑動連接。
3.根據權利要求1所述的一種控氮反硝化濾池污水處理系統,其特征在于:所述緩沖設備(6)包括連接外殼(61),所述連接外殼(61)內壁的前后兩側對稱設置有外凸彈簧桿(62),所述外凸彈簧桿(62)遠離壓縮內筒(514)的一端固定連接有傳感器(63),所述傳感器(63)的內腔通過導線固定連接有警報筒(64)。
4.根據權利要求3所述的一種控氮反硝化濾池污水處理系統,其特征在于:所述連接外殼(61)的一端與軸心引導桿(511)外表面的中部固定連接,所述連接外殼(61)的另一端與上側分流隔板的內壁固定連接,所述外凸彈簧桿(62)遠離傳感器(63)的一端通過貫穿口延伸至連接外殼(61)的外部,且外凸彈簧桿(62)遠離傳感器(63)的一端與壓縮內筒(514)的外表面相互擠壓。
5.根據權利要求1-4任意一項所述的一種控氮反硝化濾池污水處理系統的污水處理方法,其特征在于,包括以下步驟:S1:從輸液管(2)的左端緩慢通入污水,保證污水始終能夠將輸液管(2)充滿;S2:污水進入引流長筒(11)內部后自動被分流隔板(12)分為上中下三層;S3:三層的污水都沿著引流長筒(11)自左向右流動;S4:同步處理上層和下層的污水,將雜質富集起來;S5:引流長筒(11)內部的污水被引流進入排放設備(3)輸送給污水氮化物處理設備。
發明內容
針對現有技術的不足,本發明解決其技術問題所采用的技術方案是:一種控氮反硝化濾池污水處理系統,包括處理設備,所述處理設備的左端固定連接有輸液管,所述處理設備的右端固定連接有排放設備,所述處理設備的底部設置有支撐架;
所述處理設備包括引流長筒,所述引流長筒內壁的軸心處固定連接有分流隔板,所述分流隔板的左端固定連接有簡易濾板,簡易濾板可以將輸液管輸送的污水中的較大固體物阻攔在引流長筒的外部,所述引流長筒內壁底部的中部均勻設置有固體過濾板,所述分流隔板內壁的頂部均勻設置有回流設備,輸液管的口徑比引流長筒的口徑小,所以通過輸液管輸送的污水在進入引流長筒內部時會因為分流隔板的分流作用,分為上中下三層污水自左向右運輸;
所述回流設備包括復合內筒,所述復合內筒的兩端均固定連接有集束牽引板,所述集束牽引板的兩端均固定連接有分段拉力臂,所述分段拉力臂遠離引流長筒的一側固定連接有推力筒,復合內筒并非一個筒體,只是類似筒型的結構,設置在上方分流隔板的切槽口中,并將上方分流隔板的每塊板體連接在一起;
所述復合內筒包括軸心引導桿,所述軸心引導桿內壁的兩側對稱設置有滑動牽引桿,所述滑動牽引桿遠離集束牽引板的一端對稱設置有插接拉桿,所述插接拉桿的外表面固定連接有壓縮內筒,所述壓縮內筒外表面的上部滑動連接有弧形濾板,所述壓縮內筒外表面的下部滑動連接有切槽弧形板,所述切槽弧形板的下表面設置有外滑框,所述外滑框的兩側對稱設置有側位彈簧帶,所述軸心引導桿外表面的中部對稱設置有緩沖設備,所述軸心引導桿內腔的中部固定連接有內吸磁塊,滑動牽引桿由金屬材料制成,所以會被內吸磁塊向中部吸引,進而輔助推進滑動牽引桿的工作,將壓縮內筒推長。
進一步地,所述復合內筒的數量為五個,所述軸心引導桿的兩端均通過貫穿口延伸至引流長筒的外部,且軸心引導桿外表面的兩側均通過貫穿口與引流長筒的內腔固定連接,所述弧形濾板的兩端均通過插口與分流隔板的外表面插接。所述壓縮內筒的外表面與分流隔板的內壁滑動連接,所述滑動牽引桿遠離緩沖設備的一端與集束牽引板的內腔固定連接,所述插接拉桿的頂端與壓縮內筒遠離集束牽引板的一端固定連接,所述切槽弧形板的兩側均與分流隔板內腔的頂部固定連接,所述外滑框的頂部與切槽弧形板下表面的中部相互擠壓,所述側位彈簧帶的底端與外滑框的頂部固定連接,且側位彈簧帶的頂端通過滑槽與分流隔板的內腔滑動連接。所述分段拉力臂遠離集束牽引板的一側與引流長筒的外表面固定連接,所述推力筒遠離集束牽引板的一側與引流長筒的外表面固定連接,所述引流長筒外表面左側的軸心處與輸液管的右端固定連接,所述固體過濾板的外表面與引流長筒內壁的底部滑動連接,且固體過濾板的底部與支撐架的頂部滑動連接。
進一步地,所述緩沖設備包括連接外殼,所述連接外殼內壁的前后兩側對稱設置有外凸彈簧桿,所述外凸彈簧桿遠離壓縮內筒的一端固定連接有傳感器,所述傳感器的內腔通過導線固定連接有警報筒,警報筒被啟動后,可以在裝置的內部發出警報聲。
進一步地,所述連接外殼的一端與軸心引導桿外表面的中部固定連接,所述連接外殼的另一端與分流隔板的內壁固定連接,所述外凸彈簧桿遠離傳感器的一端通過貫穿口延伸至連接外殼的外部,且外凸彈簧桿遠離傳感器的一端與壓縮內筒的外表面相互擠壓。
進一步地,所述排放設備包括排液主管,所述排液主管內壁的左側滑動連接有牽引滑套,所述牽引滑套內腔右端的軸心處固定連接有單向過濾板,單向過濾板只允許左側的廢水自左向右流過牽引滑套,但是排液主管外部的污水流入管體內部時,會被單向過濾擋住,難以向左流動,所述牽引滑套的左端固定連接有填充板,所述填充板的內腔固定連接有牽引彈簧桿,所述牽引彈簧桿的左端滑動連接有固定引導筒。
進一步地,所述固定引導筒的數量為兩根,且固定引導筒遠離牽引彈簧桿的一端與引流長筒內壁的右側固定連接,所述填充板的外表面與分流隔板外表面的右側相互擠壓,且填充板的外表面與排液主管的內壁滑動連接,所述排液主管的左端與引流長筒右側的軸心處固定連接。
從輸液管的左端緩慢通入污水,保證污水始終能夠將輸液管充滿,隨后污水進入引流長筒內部后自動被分流隔板分為上中下三層,并且三層的污水都沿著引流長筒自左向右流動,該裝置在污水流動時同步處理上層和下層的污水,將雜質富集起來,最后將引流長筒內部的污水被引流進入排放設備輸送給污水氮化物處理設備,完成預處理工作。
本發明的有益效果如下:
1.該裝置可以安裝在排放污水的管體與污水氮化物處理設備之間,在排污水的過程中,利用浮沫上浮和雜質沉底的特性,將流入引流長筒的污水等分成三部分,取中部的污水直接輸送到污水氮化物處理設備內,然后再針對浮沫和固體物的特性分別進行過濾工作,提取污水中較為純凈的部位進行氮化物處理加工,從而在不增加工序和流水線的情況下,解決污水中的絮狀物和浮沫等問題。
2.該裝置通過底部的固體過濾板對下層的污水進行固液分離處理,使固體顆粒聚集在固體過濾板的左側,由于固體過濾板可以沿著支撐架滑移,從引流長筒的底部抽出,固體過濾板不會對引流長筒起到支撐作用,所以能夠從外部隨時更換堵塞的固體過濾板,避免固體過濾板在連續工作時出現堵塞問題。
3.該裝置通過復合內筒將上層的污水引流的中層,由于上層的污水是自下而上流動,所以浮在上層的浮沫和絮狀物最終會阻擋在弧形濾板的上表面,并隨著污水的補充,始終漂浮在上方,進而達到富集的作用,由于復合內筒采用控制壓強的物理方式進行抽水和排水工作,所以復合內筒得內部不需要設置電力設備,從而避免出現電力設備長時間浸泡受潮的問題。
4.當兩側的壓縮內筒被推長的過程中,壓縮內筒的頂部會對外凸彈簧桿凸出的端頭造成擠壓,然后將外凸彈簧桿向連接外殼的內部按壓,此時外凸彈簧桿按壓對應一側的傳感器,通過觸發警報筒,由于外凸彈簧桿具備一定的彈性勢能,所以可以阻礙兩側的壓縮內筒向軸心引導桿中部的一側滑移,起到一定的緩沖作用,并且通過警報筒進行反饋,從而防止出現壓縮內筒擠壓過度的問題。
(發明人:韓青;郁岳君;周軍;郁珍;樊凡;韓國中;魏倩云)






