公布日:2023.11.24
申請日:2023.10.13
分類號:B01D36/04(2006.01)I;B01D35/16(2006.01)I;B01D29/92(2006.01)I;B01D29/94(2006.01)I;B01D35/30(2006.01)I;B01D29/56(2006.01)I;B01D29/90(2006.01)I;
C02F1/00(2023.01)N;C02F103/04(2006.01)N
摘要
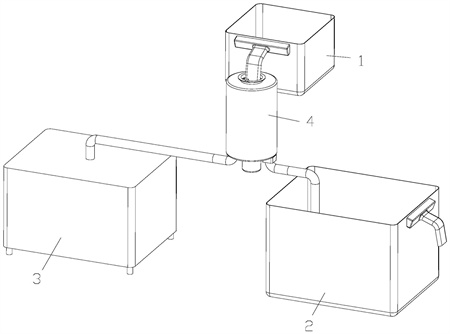
本發明涉及廢水過濾技術領域,具體涉及一種清洗機廢水過濾系統,包括:第一處理裝置,用于對皂化物顆粒進行一次富集并形成一次富集物;分離過濾器,用于對一次富集物進行過濾形成二次富集物和過濾液;第二處理裝置,用于對過濾液進行靜態沉降獲得三次富集物;以及帶式壓濾機,用于對二次富集物和三次富集物進行壓濾處理獲得固態廢渣。本發明通過分離過濾器將一次富集物進行過濾形成二次富集物和過濾液,相比于直接沉降的方式,提高了工作效率,并且降低了過濾時長。

權利要求書
1.一種清洗機廢水過濾系統,其特征在于:包括:第一處理裝置,用于對皂化物顆粒進行一次富集并形成一次富集物;分離過濾器,用于對一次富集物進行過濾形成二次富集物和過濾液;第二處理裝置,用于對過濾液進行靜態沉降獲得三次富集物;以及帶式壓濾機,用于對二次富集物和三次富集物進行壓濾處理獲得固態廢渣。
2.根據權利要求1所述的一種清洗機廢水過濾系統,其特征在于:所述第一處理裝置包括第一儲罐;所述第一儲罐的底部設有曝氣管;所述第一儲罐的頂部設有第一溢流管;所述第一溢流管設于分離過濾器。
3.根據權利要求1所述的一種清洗機廢水過濾系統,其特征在于:所述分離過濾器包括殼體;所述殼體的頂部設有與第一處理裝置連通的進料口;所述殼體的底部設有與第二處理裝置連通的第一出料口以及與帶式壓濾機連通的第二出料口;殼體內轉動設有過濾機構以及用于驅動過濾機構轉動的電機;過濾機構包括多孔層;多孔層內形成有與進料口連通的第一腔體;多孔層與殼體之間形成有第二腔體;第一出料口與第二出料口分別與第二腔體連通。
4.根據權利要求3所述的一種清洗機廢水過濾系統,其特征在于:所述過濾機構包括轉動設于殼體的底座與頂蓋;所述底座與頂蓋之間設有連接桿;所述多孔層設于底座與頂蓋之間。
5.根據權利要求4所述的一種清洗機廢水過濾系統,其特征在于:所述底座上轉動設有底轉動環;所述頂蓋上轉動設有頂轉動環;所述多孔層包括多條第一伸縮網線以及多條第二伸縮網線;所述第一伸縮網線與第二伸縮網線交錯設置從而形成有過濾孔;所述第一伸縮網線的一端設于底座;所述第一伸縮網線的另一端設于頂轉動環;所述第二伸縮網線的一端設于頂蓋;所述第二伸縮網線的另一端設于底轉動環。
6.根據權利要求5所述的一種清洗機廢水過濾系統,其特征在于:所述底座以及頂蓋均設有導向槽;所述導向槽內滑動設有滑塊;所述導向槽靠近殼體的一端設有與滑塊抵靠的彈簧;所述滑塊貫穿導向槽設有插銷;所述底轉動環以及頂轉動環均設置有呈漸開線方向延伸的驅動槽;所述插銷滑動設于驅動槽。
7.根據權利要求4所述的一種清洗機廢水過濾系統,其特征在于:所述第一腔體設有蒸汽噴管以及沖洗噴管;所述蒸汽噴管以及沖洗噴管均朝向多孔層設有噴嘴。
8.根據權利要求4所述的一種清洗機廢水過濾系統,其特征在于:所述第一腔體內設有與底座連接的轉軸;所述轉軸設有多個轉子;所述殼體在第一出料口處設有第一電磁閥;所述殼體在第二出料口處設有第二電磁閥。
9.根據權利要求1所述的一種清洗機廢水過濾系統,其特征在于:所述第二處理裝置包括第二儲罐;所述第二儲罐的底部設有排渣管;所述排渣管與帶式壓濾機連通;所述第二儲罐的頂部設有第二溢流管。
發明內容
本發明的目的是針對現有技術中的上述不足,提供了一種清洗機廢水過濾系統。
本發明的目的通過以下技術方案實現:一種清洗機廢水過濾系統,包括:
第一處理裝置,用于對皂化物顆粒進行一次富集并形成一次富集物;
分離過濾器,用于對一次富集物進行過濾形成二次富集物和過濾液;
第二處理裝置,用于對過濾液進行靜態沉降獲得三次富集物;
以及帶式壓濾機,用于對二次富集物和三次富集物進行壓濾處理獲得固態廢渣。
本發明進一步設置為,所述第一處理裝置包括第一儲罐;所述第一儲罐的底部設有曝氣管;所述第一儲罐的頂部設有第一溢流管;所述第一溢流管設于分離過濾器。
本發明進一步設置為,所述分離過濾器包括殼體;所述殼體的頂部設有與第一處理裝置連通的進料口;所述殼體的底部設有與第二處理裝置連通的第一出料口以及與帶式壓濾機連通的第二出料口;
殼體內轉動設有過濾機構以及用于驅動過濾機構轉動的電機;過濾機構包括多孔層;多孔層內形成有與進料口連通的第一腔體;多孔層與殼體之間形成有第二腔體;第一出料口與第二出料口分別與第二腔體連通。
本發明進一步設置為,所述過濾機構包括轉動設于殼體的底座與頂蓋;所述底座與頂蓋之間設有連接桿;所述多孔層設于底座與頂蓋之間。
本發明進一步設置為,所述底座上轉動設有底轉動環;所述頂蓋上轉動設有頂轉動環;所述多孔層包括多條第一伸縮網線以及多條第二伸縮網線;所述第一伸縮網線與第二伸縮網線交錯設置從而形成有過濾孔;
所述第一伸縮網線的一端設于底座;所述第一伸縮網線的另一端設于頂轉動環;
所述第二伸縮網線的一端設于頂蓋;所述第二伸縮網線的另一端設于底轉動環。
本發明進一步設置為,所述底座以及頂蓋均設有導向槽;所述導向槽內滑動設有滑塊;所述導向槽靠近殼體的一端設有與滑塊抵靠的彈簧;
所述滑塊貫穿導向槽設有插銷;
所述底轉動環以及頂轉動環均設置有呈漸開線方向延伸的驅動槽;所述插銷滑動設于驅動槽。
本發明進一步設置為,所述第一腔體設有蒸汽噴管以及沖洗噴管;所述蒸汽噴管以及沖洗噴管均朝向多孔層設有噴嘴。
本發明進一步設置為,所述第一腔體內設有與底座連接的轉軸;所述轉軸設有多個轉子;
所述殼體在第一出料口處設有第一電磁閥;所述殼體在第二出料口處設有第二電磁閥。
本發明進一步設置為,所述第二處理裝置包括第二儲罐;所述第二儲罐的底部設有排渣管;所述排渣管與帶式壓濾機連通;所述第二儲罐的頂部設有第二溢流管。
本發明的有益效果:本發明通過分離過濾器將一次富集物進行過濾形成二次富集物和過濾液,相比于直接沉降的方式,提高了工作效率,并且降低了過濾時長。
(發明人:肖忠正)






