申請日2017.10.09
公開(公告)日2018.01.05
IPC分類號C02F9/04; G01N1/34
摘要
本發明公開了廢水中甲醛、苯胺類和陰離子表面活性劑含量測定裝置,包括外殼,所述外殼為矩形中空結構,且外殼內部設置有過濾層、反應層,所述外殼內設置有過濾網,且過濾網兩側分別連接有兩組安裝件,所述外殼上對應位置設置有兩組卡板,且卡板為C形結構,所述安裝件從卡板的開口處伸入卡板內,且安裝件內設置有卡緊裝置,所述卡緊裝置包括限位扣、支撐桿、滑塊、調節滑道和彈簧,所述安裝件內設置有調節滑道。本發明中,通過設置可以活動卡接的安裝件,使廢水在過濾后,可以更換過濾網,防止長時間使用,過濾網造成堵塞,影響正常使用情況,造成測定結果不準確,本新型在廢水測定前,先對廢水進行過濾,減少了測定的難度和時間。
權利要求書
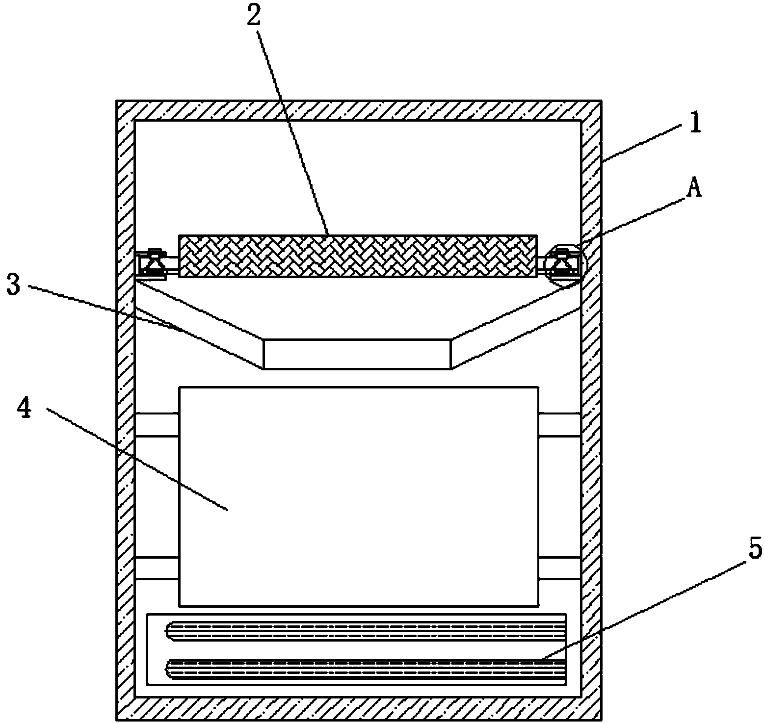
1.廢水中甲醛、苯胺類和陰離子表面活性劑含量測定裝置,包括外殼(1),其特征在于,所述外殼(1)為矩形中空結構,且外殼(1)內部設置有過濾層、反應層,所述外殼(1)內設置有過濾網(2),且過濾網(2)兩側分別連接有兩組安裝件(12),所述外殼(1)上對應位置設置有兩組卡板(6),且卡板(6)為C形結構,所述安裝件(12)從卡板(6)的開口處伸入卡板(6)內,且安裝件(12)內設置有卡緊裝置,所述卡緊裝置包括限位扣(8)、支撐桿(9)、滑塊(10)、調節滑道(11)和彈簧(13),所述安裝件(12)內設置有調節滑道(11),且調節滑道(11)固定設置在安裝件(12)內的底壁上,所述調節滑道(11)內設置有兩組滑塊(10),且兩組滑塊(10)上分別連接有支撐桿(9),所述支撐桿(9)上遠離滑塊(10)的一端活動連接,且支撐桿(9)上活動連接的一端設置有限位扣(8),所述限位扣(8)活動穿過安裝件(12),且限位扣(8)活動穿過卡板(6),所述卡板(6)上設置有卡槽,且卡槽設置在限位扣(8)穿過的位置,所述卡槽上設置有壓扣(7),且壓扣(7)活動設置在限位扣(8)的正上方,所述過濾網(2)正下方設置有反應腔(4)。
2.根據權利要求1所述的廢水中甲醛、苯胺類和陰離子表面活性劑含量測定裝置,其特征在于,兩組所述滑塊(10)之間通過彈簧(13)連接,且彈簧(13)設置在調節滑道(11)內。
3.根據權利要求1所述的廢水中甲醛、苯胺類和陰離子表面活性劑含量測定裝置,其特征在于,所述反應腔(4)和過濾網(2)之間固定設置有導流板(3),且導流板(3)的兩端固定連接在外殼(1)的內壁上。
4.根據權利要求1所述的廢水中甲醛、苯胺類和陰離子表面活性劑含量測定裝置,其特征在于,所述反應腔(4)的底部設置有加熱器(5)。
5.根據權利要求1所述的廢水中甲醛、苯胺類和陰離子表面活性劑含量測定裝置,其特征在于,所述反應腔(4)的四周通過固定裝置固定連接在外殼(1)的內壁上。
說明書
廢水中甲醛、苯胺類和陰離子表面活性劑含量測定裝置
技術領域
本發明涉及廢水處理的技術領域,尤其涉及廢水中甲醛、苯胺類和陰離子表面活性劑含量測定裝置。
背景技術
廢水是指居民活動過程中排出的水及徑流雨水的總稱,它包括生活污水、工業廢水和初雨徑流入排水管渠等其它無用水,一般指經過一定技術處理后不能再循環利用或者一級污染后制純處理難度達不到一定標準的水表面活性劑是一類非常重要的化工產品,它的應用幾乎滲透到所有技術經濟部門。
在廢水中測定甲醛、苯胺類和陰離子表面活性劑含量,過程比較復雜,廢水內的大顆粒等雜質會影響測定的結果,為此,我們急需設計出廢水中甲醛、苯胺類和陰離子表面活性劑含量測定裝置,來解決上述問題。
發明內容
本發明的目的是為了解決現有技術中存在的缺點,而提出的廢水中甲醛、苯胺類和陰離子表面活性劑含量測定裝置。
為了實現上述目的,本發明采用了如下技術方案:
廢水中甲醛、苯胺類和陰離子表面活性劑含量測定裝置,包括外殼,所述外殼為矩形中空結構,且外殼內部設置有過濾層、反應層,所述外殼內設置有過濾網,且過濾網兩側分別連接有兩組安裝件,所述外殼上對應位置設置有兩組卡板,且卡板為C形結構,所述安裝件從卡板的開口處伸入卡板內,且安裝件內設置有卡緊裝置,所述卡緊裝置包括限位扣、支撐桿、滑塊、調節滑道和彈簧,所述安裝件內設置有調節滑道,且調節滑道固定設置在安裝件內的底壁上,所述調節滑道內設置有兩組滑塊,且兩組滑塊上分別連接有支撐桿,所述支撐桿上遠離滑塊的一端活動連接,且支撐桿上活動連接的一端設置有限位扣,所述限位扣活動穿過安裝件,且限位扣活動穿過卡板,所述卡板上設置有卡槽,且卡槽設置在限位扣穿過的位置,所述卡槽上設置有壓扣,且壓扣活動設置在限位扣的正上方,所述過濾網正下方設置有反應腔。
優選的,兩組所述滑塊之間通過彈簧連接,且彈簧設置在調節滑道內。
優選的,所述反應腔和過濾網之間固定設置有導流板,且導流板的兩端固定連接在外殼的內壁上。
優選的,所述反應腔的底部設置有加熱器。
優選的,所述反應腔的四周通過固定裝置固定連接在外殼的內壁上。
與現有技術相比,本發明的有益效果是:本發明中,通過設置可以活動卡接的安裝件,使廢水在過濾后,可以更換過濾網,防止長時間使用,過濾網造成堵塞,影響正常使用情況,造成測定結果不準確,本新型在廢水測定前,先對廢水進行過濾,減少了測定的難度和時間。







