申請日2017.10.09
公開(公告)日2017.12.15
IPC分類號B01D36/04
摘要
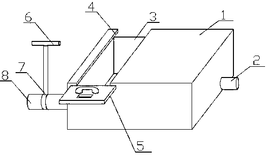
本發明公開了一種新型家用污水處理裝置,包括箱體、排水管、沉淀池、卡槽、蓋板、把手、閥體、進水管、儲物箱、第一過濾池、第二過濾池、蓄水池、連接口、扶手、觀察口、橫桿和立柱。本發明的有益效果是:通過在進水管內部設置閥體和箱體內部設置多道凈化程序。使污水從進水管進入到箱體內部,經過沉淀池、第一過濾池、第二過濾池的凈化得到凈化水。在凈化過程中,污水中大部分的雜物都遺留在沉淀池內部的儲物箱中。如需清理沉淀池,握住扶手拉開蓋板,將儲物箱從沉淀池中拿出。清理沉淀池時,通過閥體將進水管關閉,污水不能進入箱體內部,保證了清理的有序進行。該污水處理裝置在使用時,內部情況可查,清理方便,使用便捷。
權利要求書
1.一種新型家用污水處理裝置,包括箱體(1)、排水管(2)和進水管(8);其特征在于:所述箱體(1)一側連接有排水管(2),所述箱體(1)另一側連接有進水管(8),且所述進水管(8)內部設置有閥體(7),所述閥體(7)上部連接有把手(6),所述箱體(1)內部由沉淀池(3)、第一過濾池(10)、第二過濾池(11)和蓄水池(12)組成,且所述沉淀池(3)、第一過濾池(10)、第二過濾池(11)和蓄水池(12)相互之間通過連接口(13)連接,所述沉淀池(3)上部兩側均設置有卡槽(4),所述沉淀池(3)通過卡槽(4)活動連接有蓋板(5),所述蓋板(5)一側設置有扶手(14),所述沉淀池(3)內部連接有儲物箱(9),且所述儲物箱(9)上部連接有橫桿(16),所述橫桿(16)中部設置有立柱(17)。
2.根據權利要求1所述的一種新型家用污水處理裝置,其特征在于:所述蓋板(5)靠近扶手(14)一側設置有觀察口(15)。
3.根據權利要求1所述的一種新型家用污水處理裝置,其特征在于:所述閥體(7)與進水管(8)之間呈活動連接。
4.根據權利要求1所述的一種新型家用污水處理裝置,其特征在于:所述儲物箱(9)與沉淀池(3)之間呈嚙合連接。
5.根據權利要求1所述的一種新型家用污水處理裝置,其特征在于:所述儲物箱(9)的高度小于沉淀池(3)的高度。
6.根據權利要求1所述的一種新型家用污水處理裝置,其特征在于:所述扶手(14)的外形結構呈圓弧形設置。
說明書
一種新型家用污水處理裝置
技術領域
本發明涉及一種新型家用污水處理裝置,屬于污水處理應用領域。
背景技術
隨著環保意識的不斷提高,現在生活中越來越多人注重環境保護和節約用水。許多家庭為了水可以循環使用,常在家庭排水管一端連接污水處理裝置,使生活污水經過污水處理裝置處理后,可以再次使用,減少了廢水的排放,提高了水的利用率。
但是現有的污水處理裝置在使用時仍存在一些不足。現在市面上家用污水處理裝置種類繁雜,但是里面的結構大同小異。污水進入裝置內部,經過多道工序的凈化,得到可再次使用的潔凈水。這些污水處理裝置的內部情況在使用時無法查看,長時間使用內部無法得到清洗。凈化效率變低,使用壽命較短。因此,針對上述問題提出一種新型家用污水處理裝置。
發明內容
本發明的目的就在于為了解決上述問題而提供一種新型家用污水處理裝置。
本發明通過以下技術方案來實現上述目的,一種新型家用污水處理裝置,包括箱體、排水管和進水管;所述箱體一側連接有排水管,所述箱體另一側連接有進水管,且所述進水管內部設置有閥體,所述閥體上部連接有把手,所述箱體內部由沉淀池、第一過濾池、第二過濾池和蓄水池組成,且所述沉淀池、第一過濾池、第二過濾池和蓄水池相互之間通過連接口連接,所述沉淀池上部兩側均設置有卡槽,所述沉淀池通過卡槽活動連接有蓋板,所述蓋板一側設置有扶手,所述沉淀池內部連接有儲物箱,且所述儲物箱上部連接有橫桿,所述橫桿中部設置有立柱。
優選的,為了使污水處理裝置在工作過程中可以從外部查看沉淀池的內部情況,及時清理沉淀池,所述蓋板靠近扶手一側設置有觀察口。
優選的,為了使閥體可以在日常使用中在進水管內部轉動,控制進水管的開啟和關閉,所述閥體與進水管之間呈活動連接。
優選的,為了使沉淀池與儲物箱之間貼合緊密,雜物不進入沉淀池與儲物箱的連接處影響使用,所述儲物箱與沉淀池之間呈嚙合連接。
優選的,為了使沉淀池上部的蓋板可以插入卡槽中,蓋住儲物箱的上部,所述儲物箱的高度小于沉淀池的高度。
優選的,為了使手部拿動蓋板時,減少扶手對手部的磨損,所述扶手的外形結構呈圓弧形設置。
本發明的有益效果是:通過在進水管內部設置閥體和箱體內部設置多道凈化程序。使污水從進水管進入到箱體內部,經過沉淀池、第一過濾池、第二過濾池的凈化得到凈化水。在凈化過程中,污水中大部分的雜物都遺留在沉淀池內部的儲物箱中,通過沉淀池上方蓋板一側的觀察口可以隨時查看沉淀池內部情況。如需清理沉淀池,握住扶手拉開蓋板,將儲物箱從沉淀池中拿出。清理沉淀池時,通過閥體將進水管關閉,污水不能進入箱體內部,保證了清理的有序進行。該污水處理裝置在使用時,內部情況可查,清理方便,使用便捷。



