申請日2017.10.09
公開(公告)日2017.12.12
IPC分類號C02F9/02; C02F103/30
摘要
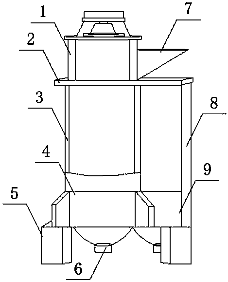
本發明公開了一種用于染缸廢水的處理裝置,包括電機箱、固定架、機箱、濾箱、底座、泄水口、進水口、處理箱、加熱箱、脫色裝置、濾網、滑竿、滑塊、附著網和轉桿。本發明的有益效果是:通過在機箱內部安裝脫色裝置,利用脫色裝置內部的附著網將廢水中的染料進行預先褪去,褪色完成的廢水流入濾箱內部進行過濾處理,并且在脫色裝置頂部安裝滑竿與滑塊,使得脫色裝置能夠在附著完染料之后利用滑塊的滑動移動到處理箱內部,利用處理箱底部的加熱箱對處理箱進行加熱處理,從而將附著網上附著的染料干燥處理,方便回收。裝置在處理染缸廢水的同時將廢水中殘留的染料回收處理,在節約資源節省成本的同時,使得排放的廢水中無殘留染料。
權利要求書
1.一種用于染缸廢水的處理裝置,包括機箱和處理箱,其特征在于:所述機箱頂部安裝電機箱,所述電機箱一側設置進水口,所述進水口下方安裝所述處理箱,所述處理箱底部安裝加熱箱,所述機箱內部安裝脫色裝置,所述脫色裝置頂部安裝滑塊,所述滑塊頂部安裝滑竿,所述脫色裝置內部安裝轉桿,所述轉桿上安裝附著網,所述機箱底部安裝濾箱,所述濾箱內部安裝濾網,所述濾箱與所述處理箱底部均設置泄水口,所述濾箱底部安裝底座。
2.根據權利要求1所述的一種用于染缸廢水的處理裝置,其特征在于:所述機箱與所述電機箱以及所述處理箱三者之間安裝固定架。
3.根據權利要求1所述的一種用于染缸廢水的處理裝置,其特征在于:所述脫色裝置通過所述滑塊與所述滑竿之間呈活動連接。
4.根據權利要求1所述的一種用于染缸廢水的處理裝置,其特征在于:所述滑竿貫穿所述機箱以及所述處理箱,且所述機箱與所述處理箱之間安裝有一塊可拆卸的封板。
5.根據權利要求1所述的一種用于染缸廢水的處理裝置,其特征在于:所述濾箱內部的濾網設置為兩層,且上層濾網的網孔直徑大與下層濾網的網孔直徑。
6.根據權利要求1所述的一種用于染缸廢水的處理裝置,其特征在于:所述脫色裝置以及加熱箱均通過導線與電機箱內部的電機呈電性連接。
說明書
一種用于染缸廢水的處理裝置
技術領域
本發明涉及一種用于染缸廢水的處理裝置,屬于廢水處理領域。
背景技術
隨著時代的發展與進步,節能環保也越來越被人們所重視,就拿染色工藝來說,紡織品顏色也不斷地豐富,我國印染行業的發展得到政府和紡織業界的高度重視。目前國內外印染行業的發展趨勢,就是高效、節能和環保,這三個方面相輔相成、缺一不可。生產力要發展,提高生產效率就是最直接的手段,而節能已到了必須采取措施的階段,在采取節能措施,發展生產力的同時,還必須要有環保意識和污染處理手段。在染色工藝中會大量排放染缸使用后的污水,因此,染缸內部的污水在排放前需要采用處理裝置進行預先處理,從而排放帶來的避免環境污染。
但是現有的用于染缸廢水的處理裝置在使用時仍存在一定缺陷,僅僅只是對廢水進行處理,忽略了廢水中殘留的染料能夠回收利用,不僅造成了資源的浪費,而且殘留的染料也加重了環境污染。因此,針對上述問題提出一種用于染缸廢水的處理裝置。
發明內容
本發明的目的就在于為了解決上述問題而提供一種用于染缸廢水的處理裝置。
本發明通過以下技術方案來實現上述目的,一種用于染缸廢水的處理裝置,包括機箱和處理箱,所述機箱頂部安裝電機箱,所述電機箱一側設置進水口,所述進水口下方安裝所述處理箱,所述處理箱底部安裝加熱箱,所述機箱內部安裝脫色裝置,所述脫色裝置頂部安裝滑塊,所述滑塊頂部安裝滑竿,所述脫色裝置內部安裝轉桿,所述轉桿上安裝附著網,所述機箱底部安裝濾箱,所述濾箱內部安裝濾網,所述濾箱與所述處理箱底部均設置泄水口,所述濾箱底部安裝底座。
優選的,為了使裝置在運行時整體結構更加穩定,所述機箱與所述電機箱以及所述處理箱三者之間安裝固定架。
優選的,為了使所述脫色裝置在脫色完成后能夠通過滑塊的滑動而移動到處理箱內部,所述脫色裝置通過所述滑塊與所述滑竿之間呈活動連接。
優選的,為了使所述進水口在進水時污水不會流入處理箱內部,所述滑竿貫穿所述機箱以及所述處理箱,且所述機箱與所述處理箱之間安裝有一塊可拆卸的封板。
優選的,為了使所述濾箱的過濾效果更佳,所述濾箱內部的濾網設置為兩層,且上層濾網的網孔直徑大與下層濾網的網孔直徑。
優選的,為了使裝置內部各個組件在運行時有足夠的電力來源,所述脫色裝置以及加熱箱均通過導線與電機箱內部的電機呈電性連接。
本發明的有益效果是:通過在機箱內部安裝脫色裝置,利用脫色裝置內部的附著網將廢水中的染料進行預先褪去,褪色完成的廢水流入濾箱內部進行過濾處理,并且在脫色裝置頂部安裝滑竿與滑塊,使得脫色裝置能夠在附著完染料之后利用滑塊的滑動移動到處理箱內部,利用處理箱底部的加熱箱對處理箱進行加熱處理,從而將附著網上附著的染料干燥成顆粒狀,方便回收。裝置在處理染缸廢水的同時將廢水中殘留的染料回收處理,在節約資源節省成本的同時,使得排放的廢水中無殘留染料。



