申請日2017.10.10
公開(公告)日2018.01.19
IPC分類號C02F9/02; C02F103/16; C02F101/20
摘要
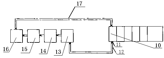
本發明公開了一種鍍鎳廢水處理系統,鍍鎳槽上有出液口與出液管路相連,所述出液管路與地上廢水處理裝置上的儲液罐通過連接管相連,所述儲液罐與高壓泵之間的連接管上安裝有閥門,所述高壓泵通過連接管與精密過濾器連接,連接管上裝有閥門,所述精密過濾器與反滲透膜通過連接管連接,所述反滲透膜將含有高濃度的鎳水經回液管路再輸送至鍍鎳槽,清水通過清水管路輸送清水槽里循環再使用。所述鍍鎳槽設置在地上安裝,出液管路、含有高濃度的鎳水回液管路和清水管路是設置在地下安裝,廢水處理裝置是在地上安裝。本技術方案涉及的廢水處理地下和地面巧妙結合,節省空間,廢水處理效果好。
權利要求書
1.一種鍍鎳廢水處理系統,其特征在于:鍍鎳槽上有出液口與出液管路相連,所述出液管路與地上廢水處理裝置上的儲液罐通過連接管相連,所述儲液罐與高壓泵之間的連接管上安裝有閥門,所述高壓泵通過連接管與精密過濾器連接,連接管上裝有閥門,所述精密過濾器與反滲透膜通過連接管連接,所述反滲透膜將含有高濃度的鎳水經回液管路再輸送至鍍鎳槽,清水通過清水管路輸送清水槽里循環再使用。
2.如權利要求1所述的一種鍍鎳廢水處理系統,其特征在于:所述鍍鎳槽設置在地上安裝,出液管路、含有高濃度的鎳水回液管路和清水管路是設置在地下安裝,廢水處理裝置是在地上安裝。
說明書
一種鍍鎳廢水處理系統
技術領域
本發明涉及一種鍍鎳廢水處理系統,特別適用于電池殼鍍鎳后的廢水處理。
背景技術
電池鋼殼在鍍鎳槽里形成電鍍層后再進入清水槽清洗,由于鍍鎳廢水中會有重金屬離子對環境造成嚴重的污染,按國家環保要求必須進行廢水處理,達標后才能排出,現有的處理方法有很多種,常見的有化學沉淀,處理中會產生大量的廢渣,廢液后續處理會造成二次污染,而且化學沉淀占用面積大。
發明內容
本發明的任務是提出一種廢水處理節省面積,能循環再使用的一種鍍鎳廢水處理系統。
本發明的任務是這樣完成的,其特征在于:鍍鎳槽上有出液口與出液管路相連,所述出液管路與地上廢水處理裝置上的儲液罐通過連接管相連,所述儲液罐與高壓泵之間的連接管上安裝有閥門,所述高壓泵通過連接管與精密過濾器連接,連接管上裝有閥門,所述精密過濾器與反滲透膜通過連接管連接,所述反滲透膜將含有高濃度的鎳水經回液管路再輸送至鍍鎳槽,清水通過清水管路輸送清水槽里循環再使用。所述鍍鎳槽設置在地上安裝,出液管路、含有高濃度的鎳水回液管路和清水管路是設置在地下安裝,廢水處理裝置是在地上安裝。
本發明具有以下效果:本技術方案涉及的廢水處理地下和地面巧妙結合,節省空間,廢水處理效果好。



