申請日2017.10.10
公開(公告)日2018.01.23
IPC分類號C02F3/12; B01F7/18
摘要
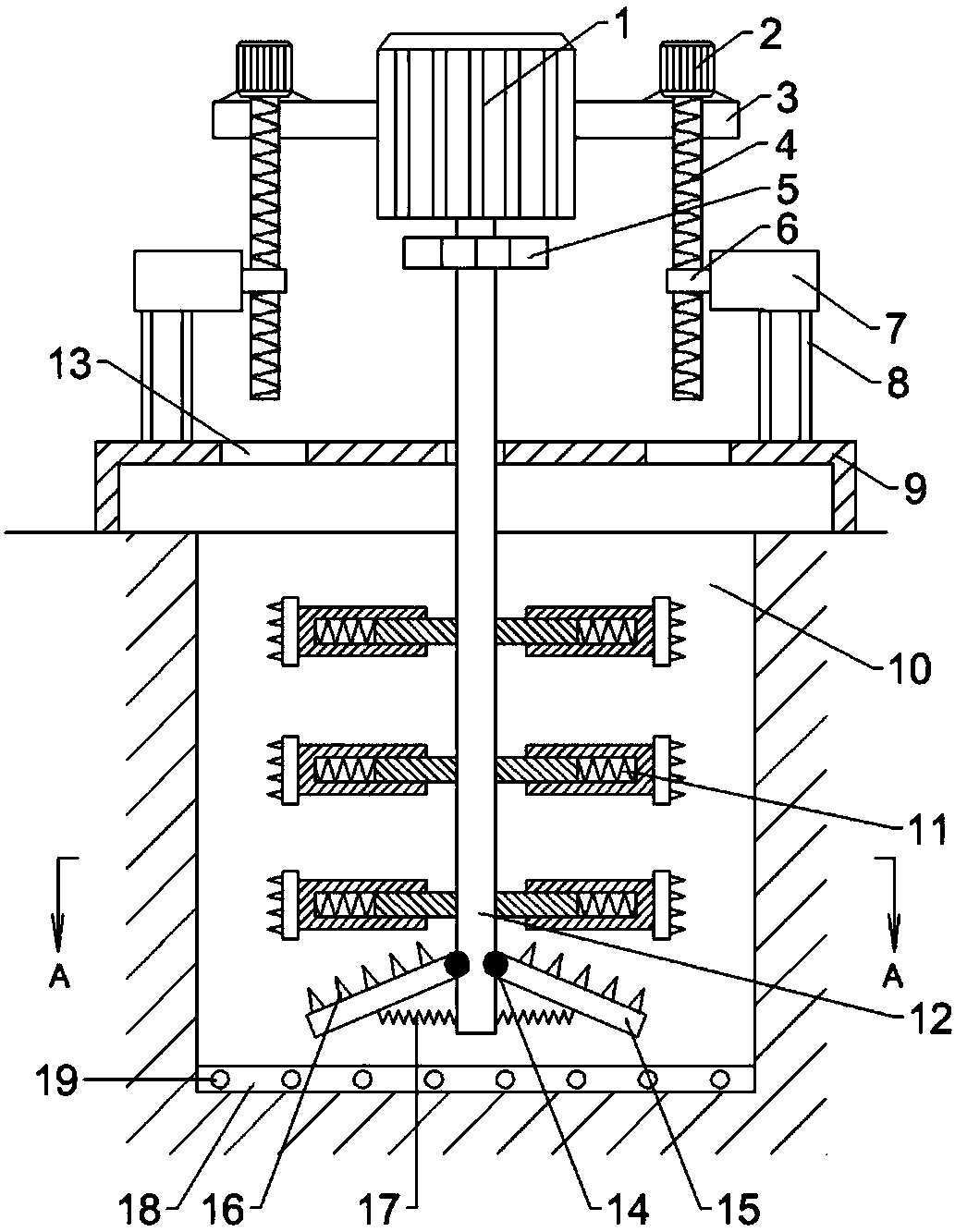
一種帶有擾動裝置的環保型污水處理設備,包括攪拌軸、變頻電機和支撐板,所述支撐板設置在污泥池上方,變頻電機固定在所述支撐板上方的中間位置處,攪拌軸位于污泥池內,且通過減速機與變頻電機相連接,支撐板上表面對稱設有兩個支撐架,支撐架上固定設有電機,電機還連接有絲母,變頻電機的兩側設有連接桿,所述連接桿遠離變頻電機的一端的下側設有絲桿,所述絲桿與絲母相配合;所述攪拌軸下方連接有攪拌裝置。本發明的有益效果是可以實現攪拌裝置的上下運動,根據實際來調整位置;攪拌裝置相對簡單的攪拌葉片而言,其攪拌效率更高;供氣裝置配合攪拌裝置使用,提高了氧氣與活性污泥的混合效果。
權利要求書
1.一種帶有擾動裝置的環保型污水處理設備,包括變頻電機、攪拌軸和支撐板,其特征在于,所述支撐板設置在污泥池上方,變頻電機固定在所述支撐板上方的中間位置處,攪拌軸位于污泥池內,且通過減速機與變頻電機相連接,支撐板上表面對稱設有兩個支撐桿,支撐桿上固定設有支撐架,所述支撐架的側邊上固定設有絲母,變頻電機的兩側設有連接板,連接板遠離變頻電機的一端的下側設有絲桿,絲桿的上端與連接板上的電機相連接,絲桿與絲母相配合;所述攪拌軸下方設有攪拌裝置,所述攪拌裝置包括攪拌板、滑移套筒和連接桿,所述連接桿與攪拌軸固定連接,連接桿的外部套設有滑移套筒,滑移套筒遠離攪拌軸的一端封閉,滑移套筒的封閉端與連接桿遠離攪拌軸的一端固定連接有復位第一彈簧,所述滑移套筒遠離攪拌軸的一端固定設有攪拌板,所述攪拌板的外表面均勻設有若干攪拌凸起,每個攪拌板之間固定連接有第一彈簧;所述攪拌軸底部對稱設置有兩個鉸鏈,鉸鏈上轉動連接有轉動桿,轉動桿下部與攪拌軸之間通過第二彈簧相連接,且轉動桿上均勻布置有若干攪拌葉片;所述污泥池內底部還布置有管道,管道與外界的鼓風機相連通,且管道上開設有出氣孔。
2.根據權利要求1所述的一種帶有擾動裝置的環保型污水處理設備,其特征在于,所述支撐板的兩側還分別對稱設有圓形開口,圓形開口的位置與絲桿相對應,且圓形開口的直徑大于絲桿的直徑。
3.根據權利要求1所述的一種帶有擾動裝置的環保型污水處理設備,其特征在于,所述滑移套筒的內徑等于連接桿的直徑。
4.根據權利要求1或3所述的一種帶有擾動裝置的環保型污水處理設備,其特征在于,所述連接桿設有六個,且呈圓周分布。
5.根據權利要求1所述的一種帶有擾動裝置的環保型污水處理設備,其特征在于,當復位第一彈簧和第一彈簧處于自由狀態時,六個攪拌板組成一個圓環形。
6.根據權利要求1所述的一種帶有擾動裝置的環保型污水處理設備,其特征在于,所述攪拌凸起呈三棱錐狀。
說明書
一種帶有擾動裝置的環保型污水處理設備
技術領域
本發明涉及污水處理設備技術領域,具體涉及一種帶有擾動裝置的環保型污水處理設備。
背景技術
活性污泥法是一種污水的好氧生物處理法,由英國的克拉克(Clark)和蓋奇(Gage)于1912年發明。如今,活性污泥法及其衍生改良工藝是處理城市污水最廣泛使用的方法。它能從污水中去除溶解性的和膠體狀態的可生化有機物以及能被活性污泥吸附的懸浮固體和其他一些物質,同時也能去除一部分磷素和氮素。該法是在人工充氧條件下,對污水和各種微生物群體進行連續混合培養,形成活性污泥。利用活性污泥的生物凝聚、吸附和氧化作用,以分解去除污水中的有機污染物。
現有污泥池中的攪拌軸長度不一,這樣就會出現攪拌軸帶動攪拌裝置旋轉后,只能在局部進行攪動,攪動的范圍過小,影響攪拌效果。
發明內容
本發明的目的在于提供一種帶有擾動裝置的環保型污水處理設備,以解決上述背景技術中提出的問題。
為實現上述目的,本發明提供如下技術方案:
一種帶有擾動裝置的環保型污水處理設備,包括變頻電機、攪拌軸和支撐板,所述支撐板設置在污泥池上方,變頻電機固定在所述支撐板上方的中間位置處,攪拌軸位于污泥池內,且通過減速機與變頻電機相連接,支撐板上表面對稱設有兩個支撐桿,支撐桿上固定設有支撐架,所述支撐架的側邊上固定設有絲母,變頻電機的兩側設有連接板,連接板遠離變頻電機的一端的下側設有絲桿,絲桿的上端與連接板上的電機相連接,絲桿與絲母相配合;所述攪拌軸下方設有攪拌裝置,所述攪拌裝置包括攪拌板、滑移套筒和連接桿,所述連接桿與攪拌軸固定連接,連接桿的外部套設有滑移套筒,滑移套筒遠離攪拌軸的一端封閉,滑移套筒的封閉端與連接桿遠離攪拌軸的一端固定連接有復位第一彈簧,所述滑移套筒遠離攪拌軸的一端固定設有攪拌板,所述攪拌板的外表面均勻設有若干攪拌凸起,每個攪拌板之間固定連接有第一彈簧。
作為本發明進一步的方案:所述支撐板的兩側還分別對稱設有圓形開口,圓形開口的位置與絲桿相對應,且圓形開口的直徑大于絲桿的直徑。
作為本發明再進一步的方案:所述滑移套筒的內徑等于連接桿的直徑。
作為本發明再進一步的方案:所述連接桿設有六個,且呈圓周分布。
作為本發明再進一步的方案:當復位第一彈簧和第一彈簧處于自由狀態時,六個攪拌板組成一個圓環形。
作為本發明再進一步的方案:所述攪拌凸起呈三棱錐狀。
作為本發明再進一步的方案:所述攪拌軸底部對稱設置有兩個鉸鏈,鉸鏈上轉動連接有轉動桿,轉動桿下部與攪拌軸之間通過第二彈簧相連接,且轉動桿上均勻布置有若干攪拌葉片;所述污泥池內底部還布置有管道,管道與外界的鼓風機相連通,且管道上開設有出氣孔。
本發明的有益效果是可以實現攪拌裝置的上下運動,根據實際來調整位置;根據離心力的大小,攪拌裝置的攪拌范圍發生改變,從而實現了不同的攪拌效果,有效促進了活性污泥的氧化作用;轉動桿受到離心力后會繞鉸鏈轉動,從而帶動攪拌葉片的傾斜方向發生改變,繼而實現了攪拌效果的調節;同時第二彈簧可以根據離心力的大小來調節轉動桿的轉動角度;利用鼓風機將外界空氣鼓入到管道內,然后從出氣孔冒出,對污水進行有效的攪拌混合作用。



