申請日2016.05.07
公開(公告)日2016.10.26
IPC分類號C02F9/14
摘要
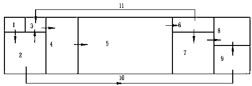
本實用新型公開了一種改良型地埋式污水處理設備,進水區、初沉區、硝化液混合區、缺氧區、接觸氧化區、硝化液回流區、二沉區與接觸消毒區之間采用水流通道順序連通,硝化液回流區與硝化液混合區之間設有水流通道。本實用新型在碳氧化、硝化的基礎上加上反硝化能力,提高設備對污水的處理能力,且通過硝化液混合區與硝化液回流區的緩沖來保證缺氧區的缺氧環境,提高反硝化能力。在初沉區前設置進水區,可對原水進行消能,降低對初沉區中水流狀態的擾動,提高初沉區沉淀效果。在接觸氧化區與二沉區之間設置硝化液回流區,對接觸氧化區出水進行消能,降低對二沉區中水流狀態的擾動,提高二沉區沉淀效果。
權利要求書
1.一種改良型地埋式污水處理設備,包括初沉區(2)、接觸氧化區(5)、二沉區(7)、接觸消毒區(8)與污泥區(9),其特征在于:所述初沉區(2)前部設置進水區(1),所述初沉區(2)與接觸氧化區(5)之間設置硝化液混合區(3)與缺氧區(4),所述接觸氧化區(5)與二沉區(7)之間設置硝化液回流區(6);進水區(1)、初沉區(2)、硝化液混合區(3)、缺氧區(4)、接觸氧化區(5)、硝化液回流區(6)、二沉區(7)與接觸消毒區(8)之間采用水流通道順序連通,硝化液回流區(6)與硝化液混合區(3)之間設有水流通道。
2.按照權利要求1所述的改良型地埋式污水處理設備,其特征在于:所述初沉區(2)與二沉區(7)設有污泥提升裝置,將污泥提升至污泥區(9)。
3.按照權利要求1所述的改良型地埋式污水處理設備,其特征在于:由左中右并列的三個區域構成,左側區域包括進水區(1)、初沉區(2)與硝化液混合區(3);中間區域包括缺氧區(4)與接觸氧化區(5);右側包括硝化液回流區(6)、二沉區(7)、接觸消毒區(8)與污泥區(9);各區根據等過水量原則設置不同面積,并組成矩形模塊。
說明書
改良型地埋式污水處理設備
技術領域
本實用新型涉及環保設備領域,尤其是一種改良型地埋式污水處理設備。
背景技術
地埋式污水處理設備是一種高效的污水生物處理設備,是一種以生物膜為凈化主體的污水處理系統。該設備的設計主要是對生活污水或類似的工業有機污水處理,主要處理手段是采用較為成熟的生化處理技術-生物接觸氧化法,通常由六部分組成:初沉區、接觸氧化區、二沉區、消毒區、污泥區與風機房。生物接觸氧化法主要是在接觸氧化狀態下進行碳氧化及硝化,能有效去除BOD5及氨氮等有機物,但是將氨氮進行硝化后使總氮濃度升高,并沒有進行反硝化將總氮轉化為氨氮,處理后的污水總氮濃度往往超標。
實用新型內容
本申請人針對上述現有傳統地埋式污水處理設備總氮濃度易超標的缺點,提供一種結構合理的改良型地埋式污水處理設備,從而提高污水處理能力。
本實用新型所采用的技術方案如下:
一種改良型地埋式污水處理設備,包括初沉區、接觸氧化區、二沉區、接觸消毒區與污泥區,所述初沉區前部設置進水區,所述初沉區與接觸氧化區之間設置硝化液混合區與缺氧區,所述接觸氧化區與二沉區之間設置硝化液回流區;進水區、初沉區、硝化液混合區、缺氧區、接觸氧化區、硝化液回流區、二沉區與接觸消毒區之間采用水流通道順序連通,硝化液回流區與硝化液混合區之間設有水流通道。
作為上述技術方案的進一步改進:
所述初沉區與二沉區設有污泥提升裝置,將污泥提升至污泥區。
由左中右并列的三個區域構成,左側區域包括進水區、初沉區與硝化液混合區;中間區域包括缺氧區與接觸氧化區;右側包括硝化液回流區、二沉區、接觸消毒區與污泥區;各區根據等過水量原則設置不同面積,并組成矩形模塊。
本實用新型的有益效果如下:
本實用新型在傳統地埋式污水處理設備中增設進水區、硝化液混合區、缺氧區、硝化液回流區。在碳氧化、硝化的基礎上加上反硝化能力,提高設備對污水的處理能力,且通過硝化液混合區與硝化液回流區的緩沖來保證缺氧區的缺氧環境,提高反硝化能力。在初沉區前設置進水區,可對原水進行消能,降低對初沉區中水流狀態的擾動,提高初沉區沉淀效果。在接觸氧化區與二沉區之間設置硝化液回流區,對接觸氧化區出水進行消能,降低對二沉區中水流狀態的擾動,提高二沉區沉淀效果。



