申請日2016.05.07
公開(公告)日2016.09.28
IPC分類號C02F9/14
摘要
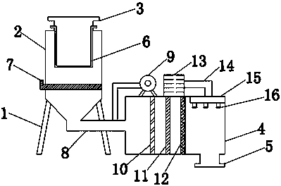
本實用新型公開了一種充分凈化的污水處理設備,包括支架、初級過濾罐和污水進口,所述初級過濾罐固定安裝在支架上,所述初級過濾罐上表面開有污水進口,所述污水進口內部卡接有中空纖維管,所述初級過濾罐內部設有初效過濾棉,所述初級過濾罐通過連通管連通有污水再處理箱,所述污水再處理箱上表面安裝有加壓泵,所述加壓泵通過加壓管連通于連通管,所述消毒液貯存箱通過輸送管連接有噴淋管,且噴淋管位于污水再處理箱內部,所述噴淋管表面設有高壓噴頭,所述污水再處理箱內部從左往右依次安裝有活性炭過濾板、離子交換樹脂過濾板和MBR生物膜板,所述污水再處理箱底部開有潔凈水出口。該裝置結構簡單,且實用性強。
權利要求書
1.一種充分凈化的污水處理設備,包括支架(1)、初級過濾罐(2)和污水進口(3),所述初級過濾罐(2)固定安裝在支架(1)上,所述初級過濾罐(2)上表面開有污水進口(3),其特征在于:所述污水進口(3)內部卡接有中空纖維管(6),所述初級過濾罐(2)內部設有初效過濾棉(7),且初效過濾棉(7)的一端伸出初級過濾罐(2)的左側,所述初級過濾罐(2)通過連通管(8)連通有污水再處理箱(4),所述污水再處理箱(4)上表面安裝有加壓泵(9),所述加壓泵(9)通過加壓管連通于連通管(8),所述加壓泵(9)右側設有消毒液貯存箱(13),所述消毒液貯存箱(13)通過輸送管(14)連接有噴淋管(15),且噴淋管(15)位于污水再處理箱(4)內部,所述噴淋管(15)表面設有高壓噴頭(16),所述污水再處理箱(4)內部從左往右依次安裝有活性炭過濾板(10)、離子交換樹脂過濾板(11)和MBR生物膜板(12),所述污水再處理箱(4)底部開有潔凈水出口(5)。
2.根據權利要求1所述的一種充分凈化的污水處理設備,其特征在于:所述中空纖維管(6)表面設有中空纖維超濾膜。
3. 根據權利要求1所述的一種充分凈化的污水處理設備,其特征在于:所述初效過濾棉(7)的過濾孔徑為0.02毫米,且初效過濾棉(7)卡接在初級過濾罐(2)的左側壁。
4.根據權利要求1所述的一種充分凈化的污水處理設備,其特征在于:所述活性炭過濾板(10)的過濾孔徑是離子交換樹脂過濾板(11)過濾孔徑的0.3倍。
說明書
一種充分凈化的污水處理設備
技術領域
本實用新型涉及污水處理技術領域,具體為一種充分凈化的污水處理設備。
背景技術
目前全國依然有22.3%的縣城沒有設立污水處理廠,而重污染的廠家大部分都分布在城市的邊緣和縣城。由于污水處理廠是工廠排污最后一道“過濾器”,而且不少工廠排污依然不符合標準,造成了污水處理廠難以負荷大量的排污量。而且許多早期建設污水處理廠設備較落后,處理能力較差,加重了排污凈化的壓力。前瞻產業研究院認為,這也是污水處理廠被迫成為“排污大戶”的重要原因。不僅污水處理方面存在資源分配不均的問題,固廢處理等其它環保領域也存在明顯的區域空白或是區域分布失衡現象。要充分考慮到目前這種區域間的落差,在政策的大力推動下,得以抓住下一階段的環保市場潛力釋放期。對于污水處理設備企業來說,前瞻產業研究院認為,縣城污水處理廠的新建和老舊設備升級改造是重要的目標市場。
一些污水處理設備主要處理的是污水中呈懸浮狀態的污染物質、膠體和有機污染物質,經過處理后的污水雖然過濾凈化了一部分的污染物,但是還達不到國家規定的污水排放標準,經過這些工序處理的污水排放到地表或地下后,會對水資源造成二次污染。
實用新型內容
本實用新型的目的在于提供一種充分凈化的污水處理設備,以解決上述背景技術中提出的問題。
為實現上述目的,本實用新型提供如下技術方案:一種充分凈化的污水處理設備,包括支架、初級過濾罐和污水進口,所述初級過濾罐固定安裝在支架上,所述初級過濾罐上表面開有污水進口,所述污水進口內部卡接有中空纖維管,所述初級過濾罐內部設有初效過濾棉,且初效過濾棉的一端伸出初級過濾罐的左側,所述初級過濾罐通過連通管連通有污水再處理箱,所述污水再處理箱上表面安裝有加壓泵,所述加壓泵通過加壓管連通于連通管,所述加壓泵右側設有消毒液貯存箱,所述消毒液貯存箱通過輸送管連接有噴淋管,且噴淋管位于污水再處理箱內部,所述噴淋管表面設有高壓噴頭,所述污水再處理箱內部從左往右依次安裝有活性炭過濾板、離子交換樹脂過濾板和MBR生物膜板,所述污水再處理箱底部開有潔凈水出口。
優選的,所述中空纖維管表面設有中空纖維超濾膜。
優選的,所述初效過濾棉的過濾孔徑為0.02毫米,且初效過濾棉卡接在初級過濾罐的左側壁。
優選的,所述活性炭過濾板的過濾孔徑是離子交換樹脂過濾板過濾孔徑的0.3倍。
與現有技術相比,本實用新型的有益效果是:本充分凈化的污水處理設備,利用設置在污水進口處的中空纖維管和中空纖維超濾膜對污水中的懸浮污染物和膠體進行過濾,污水再處理箱內部設有的MBR生物膜能夠高效的固液分離,將水中超細微的懸浮物質以及微生物群與已凈化的水分離開,能夠使得凈化水出水水質提高,在消毒液貯存箱中裝有二氧化氯,能夠殺滅污水中的有害微生物,達到消毒水質的目的。



