申請日2016.05.07
公開(公告)日2016.10.12
IPC分類號C02F1/00; C02F1/52; B08B1/04
摘要
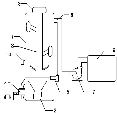
本實用新型涉及一種市政用污水處理設備,其技術方案是:分離沉淀罐上設有進液口和出液管,所述的分離沉淀罐的底部設有催化劑進口,分離沉淀罐的底部固定加熱器,所述的分離沉淀罐的內部固定連接分離桿,分離桿的頂部連接電機,所述的出液管通過水泵連接儲液箱;所述的分離桿包括攪拌軸、第一攪拌葉片、第二攪拌葉片、第三攪拌葉片,在攪拌軸的上部安裝有第一攪拌葉片,在攪拌軸的中部安裝有第二攪拌葉片,在攪拌軸的下部安裝有第三攪拌葉片,攪拌軸上固定清潔桿,所述的第一攪拌葉片與第二攪拌葉片之間設有清潔桿,第二攪拌葉片與第三攪拌葉片之間設有清潔桿;本實用新型的有益效果是:結構簡單,使用方便,有效提高了工作效率,提高了污水的處理效果。
權利要求書
1.一種市政用污水處理設備,其特征是:包括分離沉淀罐、加熱器、電機、催化劑進口、沉淀渣出口、出液管、水泵、分離桿、儲液箱、進液口,分離沉淀罐上設有進液口和出液管,所述的分離沉淀罐的底部設有催化劑進口,分離沉淀罐的底部固定加熱器,所述的分離沉淀罐的內部固定連接分離桿,分離桿的頂部連接電機,所述的出液管通過水泵連接儲液箱;所述的分離桿包括攪拌軸、第一攪拌葉片、第二攪拌葉片、第三攪拌葉片,在攪拌軸的上部安裝有第一攪拌葉片,在攪拌軸的中部安裝有第二攪拌葉片,在攪拌軸的下部安裝有第三攪拌葉片,攪拌軸上固定清潔桿,所述的第一攪拌葉片與第二攪拌葉片之間設有清潔桿,第二攪拌葉片與第三攪拌葉片之間設有清潔桿。
2.根據權利要求1所述的一種市政用污水處理設備,其特征是:所述的清潔桿包括包括上刮刀和下刮刀,所述的上刮刀和下刮刀之間設有清潔毛刷,所述的清潔桿與攪拌軸之間設有伸縮彈簧。
說明書
一種市政用污水處理設備
技術領域
本實用新型涉及一種污水處理設備,特別涉及一種市政用污水處理設備。
背景技術
目前隨著人們生活的改善,機械化產品越來越多,隨之而來環境的污染也越來越嚴重;目前機械生產中往往會產生工業廢水,這些工業廢水中往往含有大量重金屬固體顆粒,這類工業廢水外排將對人類的生存環境造成越來越嚴重的污染;目前工業上處理固液分離的裝置一般是采用沉降法,但是這種方式存在下列缺點:1)不僅固液分離的不干凈,而且分離效率較低,2)長期使用后,固液分離裝置的殼體內將產生水垢,清理較為困難。
發明內容
本實用新型的目的就是針對現有技術存在的上述缺陷,提供一種市政用污水處理設備。
其技術方案是:包括分離沉淀罐、加熱器、電機、催化劑進口、沉淀渣出口、出液管、水泵、分離桿、儲液箱、進液口,分離沉淀罐上設有進液口和出液管,所述的分離沉淀罐的底部設有催化劑進口,分離沉淀罐的底部固定加熱器,所述的分離沉淀罐的內部固定連接分離桿,分離桿的頂部連接電機,所述的出液管通過水泵連接儲液箱;所述的分離桿包括攪拌軸、第一攪拌葉片、第二攪拌葉片、第三攪拌葉片,在攪拌軸的上部安裝有第一攪拌葉片,在攪拌軸的中部安裝有第二攪拌葉片,在攪拌軸的下部安裝有第三攪拌葉片,攪拌軸上固定清潔桿,所述的第一攪拌葉片與第二攪拌葉片之間設有清潔桿,第二攪拌葉片與第三攪拌葉片之間設有清潔桿。
所述的清潔桿包括包括上刮刀和下刮刀,所述的上刮刀和下刮刀之間設有清潔毛刷,所述的清潔桿與攪拌軸之間設有伸縮彈簧。
本實用新型的有益效果是:結構簡單,使用方便,有效提高了工作效率,提高了污水的處理效果,防止污水處理過程中造成的對處理器本體內部的結垢問題,有效清除了處理器本體內部的結垢,臭氣排放過程中減少對空氣的污染。



