申請日2016.07.20
公開(公告)日2017.01.04
IPC分類號C02F11/12; C02F103/30
摘要
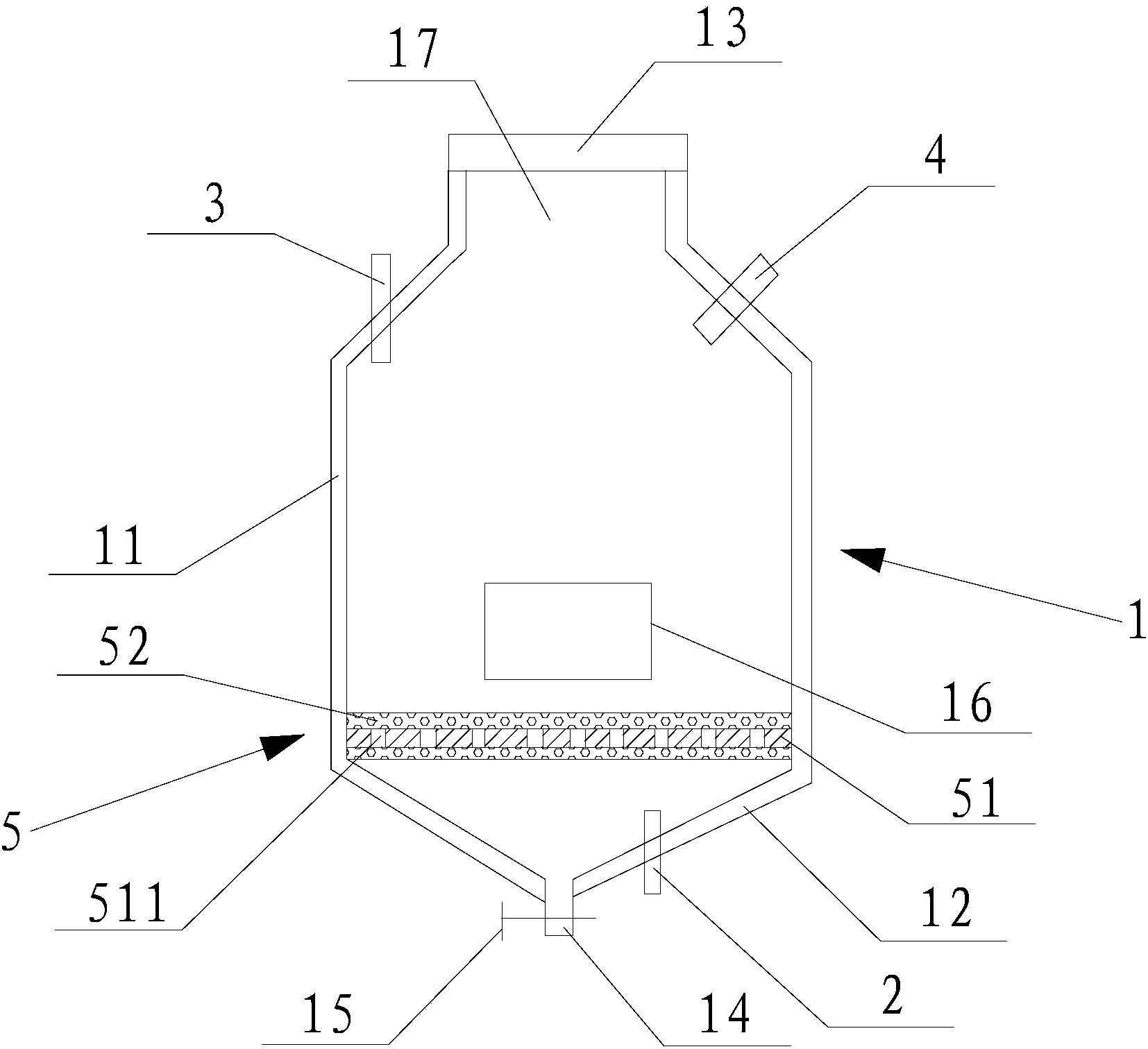
本實用新型涉及一種紡織污泥用干化罐,它包括罐體、安裝在所述罐體內的過濾機構、安裝在所述罐體上且位于所述過濾機構上方的第一蒸汽入口、安裝在所述罐體上且位于所述過濾機構下方的第二蒸汽入口以及設置于所述罐體上部的溶劑入口管,所述罐體上部具有進料口且下部開設有出液口。通過在罐體上設置分別位于過濾機構上方和下方的第一蒸汽入口、第二蒸汽入口,這樣能夠由此向罐內引入高溫蒸汽并使得干化罐內產生壓力,這樣能夠對過濾機構上的污泥進行擠壓使其中的油水由罐體的出液口排出,結構簡單、方便,成本較低。
權利要求書
1.一種紡織污泥用干化罐,其特征在于:它包括罐體(1)、安裝在所述罐體(1)內的過濾機構(5)、安裝在所述罐體(1)上且位于所述過濾機構(5)上方的第一蒸汽入口(3)、安裝在所述罐體(1)上且位于所述過濾機構(5)下方的第二蒸汽入口(2)以及設置于所述罐體(1)上部的溶劑入口管(4),所述罐體(1)上部具有進料口(17)且下部開設有出液口(14)。
2.根據權利要求1所述的紡織污泥用干化罐,其特征在于:所述過濾機構(5)包括開設有多個過濾孔(511)的支撐板(51)以及設置于所述支撐板(51)至少一個表面上的過濾網(52)。
3.根據權利要求1所述的紡織污泥用干化罐,其特征在于:所述罐體(1)包括罐身(11)以及一體設置于所述罐身(11)底部且呈漏斗狀的罐底(12),所述出液口(14)設置于所述罐底(12)底部且安裝有閥門(15),所述第二蒸汽入口(2)與所述罐底(12)相連通。
4.根據權利要求3所述的紡織污泥用干化罐,其特征在于:所述罐身(11)側壁開設有出料口(16)。
5.根據權利要求1所述的紡織污泥用干化罐,其特征在于:所述進料口(17)可拆卸地安裝有密封蓋(13)。
說明書
一種紡織污泥用干化罐
技術領域
本實用新型涉及一種容器罐,具體涉及一種紡織污泥用干化罐。
背景技術
噴水織機是紡織業中常用的一種專用設備,在作業過程中需要有一定的清潔水進行噴射帶動,每臺織機日用水量一般在1.5-2噸之間,所產生的廢水中主要含有油脂、膠狀物、懸浮物、化學漿液、色度、微生物及有機物等,其廢水的濃度約為COD500mg/l,pH約為6.5,SS為420mg/L左右,而且可生化性較差,屬難處理的工業廢水之一,這些廢水在經過處理后會產生一定量的污泥。
隨著污水處理規模的擴大及標準的提高,污泥產生量不斷增加,加之過往積累下來的污泥,中國污泥處理處置成為污水處理領域一個重大問題。從污水處理廠產生的污泥含液率(含水和油的比率)很高,一般>80%,而且含有諸如化學漿液、油脂等有機物,因此需要對這些污泥進行脫水脫油處理,這就需要設計新的紡織污泥用干化罐。
發明內容
本實用新型目的是為了克服現有技術的不足而提供一種紡織污泥用干化罐。
為達到上述目的,本實用新型采用的技術方案是:一種紡織污泥用干化罐,它包括罐體、安裝在所述罐體內的過濾機構、安裝在所述罐體上且位于所述過濾機構上方的第一蒸汽入口、安裝在所述罐體上且位于所述過濾機構下方的第二蒸汽入口以及設置于所述罐體上部的溶劑入口管,所述罐體上部具有進料口且下部開設有出液口。
優化地,所述過濾機構包括開設有多個過濾孔的支撐板以及設置于所述支撐板至少一個表面上的過濾網。
優化地,所述罐體包括罐身以及一體設置于所述罐身底部且呈漏斗狀的罐底,所述出液口設置于所述罐底底部且安裝有閥門,所述第二蒸汽入口與所述罐底相連通。
進一步地,所述罐身側壁開設有出料口。
優化地,所述進料口可拆卸地安裝有密封蓋。
由于上述技術方案運用,本實用新型與現有技術相比具有下列優點:本實用新型紡織污泥用干化罐,通過在罐體上設置分別位于過濾機構上方和下方的第一蒸汽入口、第二蒸汽入口,這樣能夠由此向罐內引入高溫蒸汽并使得干化罐內產生壓力,這樣能夠對過濾機構上的污泥進行擠壓使其中的油水由罐體的出液口排出,結構簡單、方便,成本較低。



