申請日2016.05.17
公開(公告)日2016.12.21
IPC分類號C02F1/14; C02F103/08
摘要
本實用新型公開了一種含鹽廢水、海水快速蒸發濃縮裝置,包括水池、粗糙布、支架、噴淋管和水泵,支架安裝在含鹽水的水池上,粗糙布呈循環M形的方式掛在支架上,用于向粗糙布噴鹽水的噴淋管安裝在粗糙布的上端,噴淋管通過水泵和水池連通形成水循環。本實用新型成本低,能耗低,且大大提高了蒸發濃縮的效率。
權利要求書
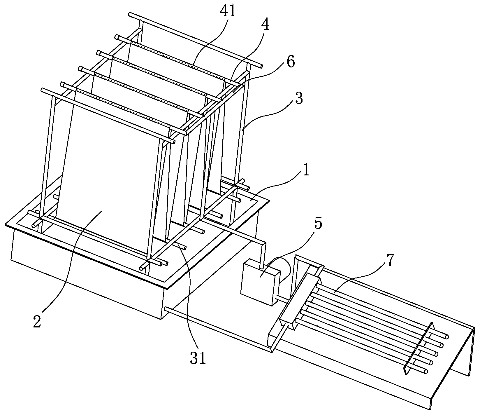
1.一種含鹽廢水、海水快速蒸發濃縮裝置,其特征在于:包括水池、粗糙布、支架、噴淋管和水泵,支架安裝在含鹽水的水池上,粗糙布呈循環M形的方式掛在支架上,用于向粗糙布噴鹽水的噴淋管安裝在粗糙布的上端,噴淋管通過水泵和水池連通形成水循環。
2.如權利要求1所述的一種含鹽廢水、海水快速蒸發濃縮裝置,其特征在于:所述粗糙布為具有很多凸起的雪尼爾布料。
3.如權利要求1所述的一種含鹽廢水、海水快速蒸發濃縮裝置,其特征在于:所述水泵和水池之間的管道處還安裝有太陽能加熱管。
4.如權利要求1所述的一種含鹽廢水、海水快速蒸發濃縮裝置,其特征在于:所述支架的下端具有多根下橫桿,支架的上端安裝有多根噴淋管,下橫桿和噴淋管俯視時呈間隔布置,粗糙布依次繞過下橫桿和噴淋管后實現呈循環M形布置。
5.如權利要求4所述的一種含鹽廢水、海水快速蒸發濃縮裝置,其特征在于:所述多根噴淋管均連通同一根主管,主管再與水泵連通。
6.如權利要求1所述的一種含鹽廢水、海水快速蒸發濃縮裝置,其特征在于:所述支架由耐腐蝕的竹竿搭設而成。
7.如權利要求1所述的一種含鹽廢水、海水快速蒸發濃縮裝置,其特征在于:所述噴淋管的兩側均開設有一排出水孔。
8.如權利要求1所述的一種含鹽廢水、海水快速蒸發濃縮裝置,其特征在于:還包括控制器,控制器和水泵電連接,控制器控制水泵間歇式泵水。
說明書
一種含鹽廢水、海水快速蒸發濃縮裝置
技術領域
本實用新型涉及一種含鹽廢水、海水快速蒸發濃縮裝置。
背景技術
含鹽廢水的處理一直是污水處理行業中的一個難題,低濃度含鹽廢水常規濃縮方法有反滲透膜、電滲析等成熟技術,這類技術一般只能把含鹽廢水濃縮到10%,最高不超過15%。目前以上二種技術處理低濃度含鹽廢水的費用一般在10元/噸以上,且所用的膜要定期更換,進一步增加了費用。最后進行將濃度10%鹽廢水進行多效蒸發、MVR等結晶處理,但該結晶處理的能耗太高,成本最少在70元/噸以上。
海鹽的生產過程為,先采用效率高的反滲透膜將海水濃度提高到10%左右,再采用鹽田蒸發海水,將海水曬到濃度為20%以上,最后將高濃度的海水進行結晶處理。但近年來鹽田陸續被征作商業或工業用地,導致土地價格快速上漲,曬鹽成本增加,且鹽田所占用的土地也在慢慢減少,因此如何提高曬鹽效率,降低曬鹽成本成為趨勢。
鑒于此,本發明人為此研制出一種含鹽廢水、海水快速蒸發濃縮裝置,有效的解決了上述問題,本案由此產生。
實用新型內容
本實用新型提供的一種含鹽廢水、海水快速蒸發濃縮裝置,成本低,且大大提高了蒸發濃縮的效率。
為了實現上述目的,本實用新型的技術方案如下:
一種含鹽廢水、海水快速蒸發濃縮裝置,包括水池、粗糙布、支架、噴淋管和水泵,支架安裝在含鹽水的水池上,粗糙布呈循環M形的方式掛在支架上,用于向粗糙布噴鹽水的噴淋管安裝在粗糙布的上端,噴淋管通過水泵和水池連通形成水循環。
所述粗糙布為具有很多凸起的雪尼爾布料。
所述水泵和水池之間的管道處還安裝有太陽能加熱管。
所述支架的下端具有多根下橫桿,支架的上端安裝有多根噴淋管,下橫桿和噴淋管俯視時呈間隔布置,粗糙布依次繞過下橫桿和噴淋管后實現呈循環M形布置。
所述多根噴淋管均連通同一根主管,主管再與水泵連通。
所述支架由耐腐蝕的竹竿搭設而成。
所述噴淋管的兩側均開設有一排出水孔。
還包括控制器,控制器和水泵電連接,控制器控制水泵間歇式泵水。
采用上述方案后,本實用新型的使用成本低,通過廉價的呈循環M形布置的粗糙布料,來增加鹽水和空氣的接觸面積,加速水份的蒸發速度。再通過粗糙布降低水向下流動的速度,減少單位時間的噴水量,降低水泵的功率,降低能耗成本和水泵成本。



