申請日2016.05.14
公開(公告)日2016.10.05
IPC分類號C02F1/00
摘要
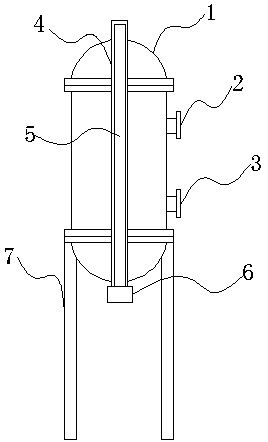
本實用新型公開了一種方便清理的污水處理器,包括污水處理罐,所述污水處理罐的右側設有加料口和出水口,所述加料口位于出水口的上方,所述污水處理罐的中心處沿豎直方向貫穿設有進水套管,所述進水套管上均有開有第一出水孔,所述進水套管的內腔插接有截污管,所述截污管上均有開有和第一出水孔相匹配的第二出水孔,所述進水套管的底端外壁上設有外螺紋,所述外螺紋活動連接內螺紋,所述內螺紋位于密封蓋的內壁上,所述密封蓋的內腔設有和截污管底端管口相匹配的凸臺。該方便清理的污水處理器,保證內部水管方便清理,不會結垢或堵塞,提高了污水處理器的使用壽命。
權利要求書
1.一種方便清理的污水處理器,包括污水處理罐(1),所述污水處理罐(1)的右側設有加料口(2)和出水口(3),所述加料口(2)位于出水口(3)的上方,其特征在于:所述污水處理罐(1)的中心處沿豎直方向貫穿設有進水套管(4),所述進水套管(4)上均有開有第一出水孔(41),所述進水套管(4)的內腔插接有截污管(5),所述截污管(5)上均有開有和第一出水孔(41)相匹配的第二出水孔(51),所述進水套管(4)的底端外壁上設有外螺紋(42),所述外螺紋(42)活動連接內螺紋(61),所述內螺紋(61)位于密封蓋(6)的內壁上,所述密封蓋(6)的內腔設有和截污管(5)底端管口相匹配的凸臺(62)。
2.根據權利要求1所述的一種方便清理的污水處理器,其特征在于:所述進水套管(4)和截污管(5)均為圓柱中空立體裝,且截污管(5)的直徑小于進水套管(4)的直徑。
3. 根據權利要求1所述的一種方便清理的污水處理器,其特征在于:所述第一出水孔(41)和第二出水孔(51)的截面為圓形,所述第一出水孔(41)和第二出水孔(51)依次線性排列。
4.根據權利要求1所述的一種方便清理的污水處理器,其特征在于:所述污水處理罐(1)的底端設有支架(7),所述支架(7)的數量為4組,分別分布在污水處理罐(1)的底端四角處。
說明書
一種方便清理的污水處理器
技術領域
本實用新型涉及環保設備技術領域,具體為一種方便清理的污水處理器。
背景技術
中國是一個缺水的國家,污水處理及回用是開發利用水資源的有效措施,污水回用是將城市污水、工業污水通過生物降解反應器等設備處理之后,將其用于綠化、沖洗、補充觀賞水體等非飲用目的,目前在水處理行業中,現在市面上的生物降解污水處理器,污水從水管進入污水處理器內時,長期使用后會導致處理器內部的出水管易結垢或造成出水孔堵塞,但是其水管在處理器內部安裝好后,不便于清理,容易影響后續污水處理效率。
實用新型內容
本實用新型的目的在于提供一種方便清理的污水處理器,以解決上述背景技術中提出的問題。
為實現上述目的,本實用新型提供如下技術方案:一種方便清理的污水處理器,包括污水處理罐,所述污水處理罐的右側設有加料口和出水口,所述加料口位于出水口的上方,所述污水處理罐的中心處沿豎直方向貫穿設有進水套管,所述進水套管上均有開有第一出水孔,所述進水套管的內腔插接有截污管,所述截污管上均有開有和第一出水孔相匹配的第二出水孔,所述進水套管的底端外壁上設有外螺紋,所述外螺紋活動連接內螺紋,所述內螺紋位于密封蓋的內壁上,所述密封蓋的內腔設有和截污管底端管口相匹配的凸臺。
優選的,所述進水套管和截污管均為圓柱中空立體裝,且截污管的直徑小于進水套管的直徑。
優選的,所述第一出水孔和第二出水孔的截面為圓形,所述第一出水孔和第二出水孔依次線性排列。
優選的,所述污水處理罐的底端設有支架,所述支架的數量為4組,分別分布在污水處理罐的底端四角處。
與現有技術相比,本實用新型的有益效果是:該方便清理的污水處理器,保證內部水管方便清理,不會結垢或堵塞,提高了污水處理器的使用壽命。污水從污水處理罐密封蓋頂端部的進水套管密封蓋進入污水處理罐密封蓋內,位于污水處理罐密封蓋內部的進水套管密封蓋內腔插接有截污管密封蓋,污水此時流入截污管密封蓋,不會影響接觸進水套管密封蓋內部,防止了進水套管密封蓋內部內部結垢污染,同時進水套管密封蓋和截污管密封蓋上開有相匹配的第一出水孔密封蓋密封蓋和第二出水孔密封蓋密封蓋,又不會影響污水的流出,在長期使用后,截污管密封蓋內部也積累了大量污垢,此時需要對截污管密封蓋進行清理來保證污水處理的工作效率,將密封蓋密封蓋通過內螺紋密封蓋密封蓋和外螺紋密封蓋密封蓋從進水套管密封蓋的底端外壁上旋轉下來,凸臺密封蓋密封蓋也退出了截污管密封蓋底端管口,將截污管密封蓋向下取出后進行清理,使用方便不用拆除污水處理器。



