申請日2016.05.30
公開(公告)日2016.12.14
IPC分類號B01D21/02
摘要
一種用于污水處理的曝氣沉砂池,其屬于污水處理的領域。這種用于污水處理的曝氣沉砂池包括池底板、兩個池橫板、池立板和白鋼擋板,兩個池橫板的上方各設有一個帶定位槽的定位塊,白鋼擋板的上部設有與定位槽相配合的外伸結構,白鋼擋板采用下部為圓弧形板的結構,白鋼擋板的大小與由一個池底板和兩個池橫板構成的槽形結構相配合,白鋼擋板與槽形結構相配合處采用防水膠條密封。該沉砂池的砂水經吸沙泵排出時,在白鋼擋板處形成旋渦流,能隨水流帶走泥砂果殼等雜物,避免了泥沙堆積造成的惡臭,不留死角,清理徹底。
摘要附圖
權利要求書
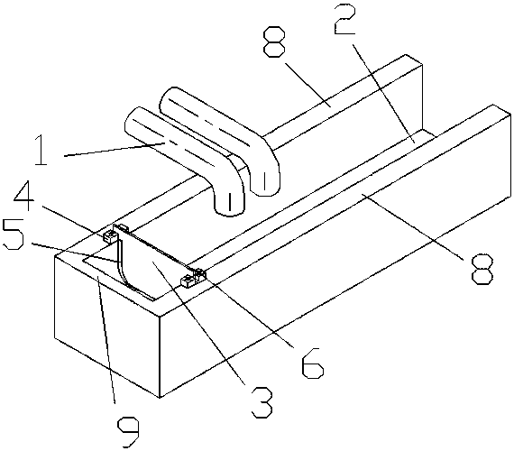
1.一種用于污水處理的曝氣沉砂池,它包括池底板(2)、兩個池橫板(8)和池立板(9),其特征在于:所述兩個池橫板(8)之間設有弧形的白鋼擋板(3),白鋼擋板(3)的弧度為45°;白鋼擋板(3)由定位塊(4)限定,定位塊(4)通過定位塊螺栓(6)固定在池橫板(8)上;白鋼擋板(3)與池橫板(8)之間由防水膠條(5)密封,防水膠條(5)通過擋板螺栓(7)固定在白鋼擋板(3)上;該沉砂池的上方設有吸沙泵排水口(1)。
說明書
一種用于污水處理的曝氣沉砂池
技術領域
本實用新型涉及一種用于污水處理的曝氣沉砂池,其屬于污水處理的領域。
背景技術
現有運行的曝氣沉砂池上的橋式洗砂機工作后,吸砂泵抽升曝氣沉砂池底部砂水混合物并排至出砂渠,因為出砂渠為長方形渠道,盡頭遠大于曝氣沉砂池的長度,所以當吸砂機走到盡頭,吸砂泵抽升上來的砂水混合物非常容易在盡頭堆積,形成死角、不便清除,且容易發生惡臭。
發明內容
為解決現有技術中存在的問題,本實用新型提供一種用于污水處理的曝氣沉砂池,達到清理徹底、不留死角的目的,避免長時間堆積產生惡臭。
本實用新型采用的技術方案:一種用于污水處理的曝氣沉砂池,它包括池底板、兩個池橫板和池立板,它還包括一個白鋼擋板,所述兩個池橫板的上方各設有一個用定位塊螺栓固定的定位塊,定位塊上設有定位槽,所述白鋼擋板的上部設有與定位塊上定位槽相配合的外伸結構,白鋼擋板采用上部為直板、下部為圓弧形板的結構,白鋼擋板的大小與由一個池底板和兩個池橫板構成的槽形結構相配合,白鋼擋板與槽形結構相配合處采用通過擋板螺栓固定在白鋼擋板上的防水膠條密封,吸沙泵進水口設置在靠近白鋼擋板的位置。
本實用新型的有益效果是:這種用于污水處理的曝氣沉砂池包括池底板、兩個池橫板、池立板和白鋼擋板,兩個池橫板的上方各設有一個帶定位槽的定位塊,白鋼擋板的上部設有與定位槽相配合的外伸結構,白鋼擋板采用下部為圓弧形板的結構,白鋼擋板的大小與由一個池底板和兩個池橫板構成的槽形結構相配合,白鋼擋板與槽形結構相配合處采用防水膠條密封。該沉砂池的砂水經吸沙泵排出時,在白鋼擋板處形成旋渦流,能隨水流帶走泥砂果殼等雜物,避免了泥沙堆積造成的惡臭,不留死角,清理徹底。


