申請日2016.04.29
公開(公告)日2016.07.20
IPC分類號C02F9/04
摘要
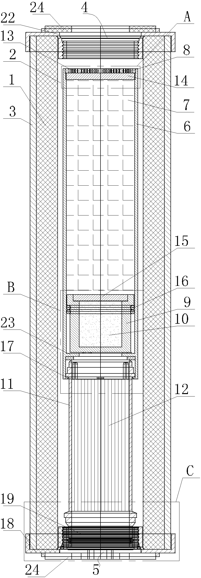
本發明提供了一種飲用水處理用五合一平壓式濾芯,其結構緊湊而且不增加過水的阻力,代替原有的三級獨立過濾,大大減小了濾芯體積。其包括燒結椰殼活性炭棒,燒結椰殼活性炭棒的中心位置為空心結構、形成貫穿的內部空腔,燒結椰殼活性炭棒的外壁設置有PE初濾殼,PE初濾殼的內壁包裹燒結椰殼活性炭棒,PE初濾殼和內層炭棒之間形成一個細窄的水流緩沖夾層,所述燒結椰殼活性炭棒內部空腔內設置有軟化樹脂罐,軟化樹脂罐的腔體內布置有陽離子軟化樹脂,軟化樹脂罐的上端設置有進水孔,軟化樹脂罐的下端布置有燒結活性炭罐,燒結活性炭罐的入口位置腔體內布置有溴樹脂顆粒,燒結活性炭罐的出口連接中空纖維超濾膜罐體的入口。
權利要求書
1.一種飲用水處理用五合一平壓式濾芯,其特征在于:其包括燒結椰殼活性炭棒,所述燒結椰殼活性炭棒的中心位置為空心結構、形成貫穿的內部空腔,所述燒結椰殼活性炭棒的外壁設置有PE初濾殼,所述PE初濾殼的內壁包裹所述燒結椰殼活性炭棒,PE初濾殼和內層炭棒之間形成一個細窄的水流緩沖夾層,所述燒結椰殼活性炭棒的內部空腔內設置有軟化樹脂罐,所述軟化樹脂罐的腔體內布置有陽離子軟化樹脂,所述軟化樹脂罐的上端設置有進水孔,所述軟化樹脂罐的下端布置有燒結活性炭罐,所述燒結活性炭罐的入口位置腔體內布置有溴樹脂顆粒,所述燒結活性炭罐的出口連接中空纖維超濾膜罐體的入口,所述中空纖維濾膜罐體的出口連通至所述出水口,中空纖維超濾膜罐體的內部腔體內設置有中空纖維超濾膜絲。
2.如權利要求1所述的一種飲用水處理用五合一平壓式濾芯,其特征在于:所述PE初濾殼具體為圓柱形結構,所述PE初濾殼具體為PE燒結濾芯。
3.如權利要求1所述的一種飲用水處理用五合一平壓式濾芯,其特征在于:所述軟化樹脂罐的傻瓜端封裝有蓋板,所述蓋板上均布有貫穿的進水孔,所述蓋板的內側設置有PP棉墊片,所述PP棉墊片下方的腔體布置有所述陽離子軟化樹脂。
4.如權利要求3所述的一種飲用水處理用五合一平壓式濾芯,其特征在于:所述燒結活性炭罐位于所述軟化樹脂罐的下端的對應腔體內,所述燒結活性炭罐的上端面和所述PP棉墊片的下端面之間設置有所述陽離子軟化樹脂,所述燒結活性炭罐的上端面蓋裝有活性炭塞片。
5.如權利要求4所述的一種飲用水處理用五合一平壓式濾芯,其特征在于:所述燒結活性炭罐的外環面和所述軟化樹脂罐的內壁間設置有硅膠O型密封圈。
6.如權利要求4所述的一種飲用水處理用五合一平壓式濾芯,其特征在于:所述軟化樹脂罐的下部底端設置有卡扣結構,所述中空纖維濾膜罐體的上端卡裝于所述卡扣結構內,所述燒結活性炭罐的下端出口位于所述中空纖維超濾膜罐體的入口的正上方。
7.如權利要求1所述的一種飲用水處理用五合一平壓式濾芯,其特征在于:所述PE初濾殼、燒結椰殼活性炭棒的下端面相平齊,PE初濾殼和內層炭棒之間形成一個細窄的水流緩沖夾層,所述PE初濾殼、燒結椰殼活性炭棒的下端蓋裝有帶內螺紋的連接蓋,所述下外連接蓋的內部設置有外螺紋,下外連接蓋的外螺紋連接所述燒結椰殼活性炭棒的下端蓋的內螺紋,所述下外連接蓋的中心為出水口,所述中空纖維超濾膜罐體的下端位于所述下外連接蓋的中心位置的上端,所述中空纖維超濾膜罐體的下端外環面和所述下外連接蓋的出水口上端的內壁間設置有硅膠O型密封圈。
8.如權利要求1所述的一種飲用水處理用五合一平壓式濾芯,其特征在于:所述PE初濾殼、燒結椰殼活性炭棒的上端面相平齊,所述連接接口具體包括上外連接蓋,所述上外連接蓋的內部設置有內螺紋,所述PE初濾殼、燒結椰殼活性炭棒的上端面蓋裝有上外連接蓋,所述上外連接蓋的內螺紋位于所述軟化樹脂罐的入口的正上方。
9.如權利要求6所述的一種飲用水處理用五合一平壓式濾芯,其特征在于:所述軟化樹脂罐的內部對應于所述燒結活性炭罐、中空纖維濾膜罐體的分隔處設置有內凸的定位隔斷。
說明書
一種飲用水處理用五合一平壓式濾芯
技術領域
本發明涉及水濾芯結構的技術領域,具體為一種飲用水處理用五合一平壓式濾芯。
背景技術
生活飲用水是人類生存不可缺少的要素,同時水也是傳播疾病的重要媒介,與人們的日常生活密切相關。生活在城市里的居民,其生活飲用水的來源是由自來水公司集中供給的。雖然自來水廠生產的水是符合飲用標準的,但是自來水在管網中,由于長距離管道運輸,管網部分會因長期使用而陳舊老化,使得管網內部產生鐵銹等有害物質。另外,目前普遍采用的利用高低位水池等進行二次供水的方式,城市高樓水箱和樓群蓄水池不清潔或常年使用不消毒,由于水池內的水在大多數情況下處于死水狀態,容易導致細菌繁殖,造成二次污染。二次污染使細菌、病毒和藻類繁殖,再加上原有的氯及氯化物、鐵銹、重金屬、放射性物質、使水體渾濁,其害無窮。所以說,在各種污染日益加重的環境下,我們要確保我們使用的水一定要是干凈的、健康的。
現在市場上的直飲水凈水器,一般都是采用三級過濾的方式:一級為PP棉濾芯,二級為活性炭濾芯,三級為中空纖維膜,且三級過濾方式獨立安裝,存在體積大,安裝復雜等缺陷。
發明內容
針對上述問題,本發明提供了一種飲用水處理用五合一平壓式濾芯,其結構緊湊而且不增加過水的阻力,代替原有的三級獨立過濾,大大減小了濾芯體積,且使產品更換、安裝方便,同時也降低了使用的成本。
一種飲用水處理用五合一平壓式濾芯,其特征在于:其包括燒結椰殼活性炭棒,所述燒結椰殼活性炭棒的中心位置為空心結構、形成貫穿的內部空腔,所述燒結椰殼活性炭棒的外壁設置有PE初濾殼,所述PE初濾殼的內壁包裹所述燒結椰殼活性炭棒,PE初濾殼和內層炭棒之間形成一個細窄的水流緩沖夾層,使穿透PE初濾殼的細小微粒雜質沉積下來,炭棒的過濾精度比PE初濾殼高,起到藏污納垢的作用,所述炭棒內部空腔內設置有軟化樹脂罐,所述軟化樹脂罐的腔體內布置有陽離子軟化樹脂,所述軟化樹脂罐的上端設置有進水孔,所述軟化樹脂罐的下端布置有燒結活性炭罐,所述燒結活性炭罐的入口位置腔體內布置有溴樹脂顆粒,所述燒結活性炭罐的出口連接中空纖維超濾膜罐體的入口,所述中空纖維濾膜罐體的出口連通至所述出水口,中空纖維超濾膜罐體的內部腔體內設置有中空纖維超濾膜絲。
整支濾芯的使用方法是安裝在適配的濾瓶上,水的流向是外進內出,從PE初濾殼經過燒結炭棒,再從軟化樹脂罐的上端進水孔進入,流過整支樹脂罐,再經過溴樹脂炭罐,再經過中空纖維超濾膜,最后從濾瓶上的出口端流出。
其進一步特征在于:所述PE初濾殼具體為圓柱形結構,所述PE初濾殼具體為PE燒結濾芯,其使得待過濾水可以以最小的阻力透過所述PE初濾殼;
所述軟化樹脂罐的傻瓜端封裝有蓋板,所述蓋板上均布有貫穿的進水孔,所述蓋板的內側設置有PP棉墊片,水透過通孔后再透過PP棉墊片,所述PP棉墊片下方的腔體布置有所述陽離子軟化樹脂;
所述燒結活性炭罐位于所述軟化樹脂罐的下端的對應腔體內,所述燒結活性炭罐的上端面和所述PP棉墊片的下端面之間設置有所述陽離子軟化樹脂,所述燒結活性炭罐的上端面蓋裝有活性炭塞片;
所述燒結活性炭罐的外環面和所述軟化樹脂罐的內壁間設置有硅膠O型密封圈,確保水只能順著燒結活性炭罐的上端面流入燒結活性炭罐內部;
所述軟化樹脂罐的下部底端設置有卡扣結構,所述中空纖維濾膜罐體的上端卡裝于所述卡扣結構內,所述燒結活性炭罐的下端出口位于所述中空纖維超濾膜罐體的入口的正上方;
所述PE初濾殼、燒結椰殼活性炭棒的下端面相平齊,所述PE初濾殼、燒結椰殼活性炭棒的下端蓋裝有帶內螺紋的連接蓋,所述下外連接蓋設置有外螺紋,下外連接蓋的外螺紋連接所述燒結椰殼活性炭棒的下端蓋的內螺紋,所述下外連接蓋的中心為出水口,所述中空纖維超濾膜罐體的下端位于所述下外連接蓋的中心位置的上端,所述中空纖維超濾膜罐體的下端外環面和所述下外連接蓋的出水口上端的內壁間設置有硅膠O型密封圈,確保水不會在兩者的間隙間從出水口流出;
所述PE初濾殼、燒結椰殼活性炭棒的上端面相平齊,所述連接接口具體包括上端蓋,所述上端蓋的內部設置有內螺紋,所述PE初濾殼、燒結椰殼活性炭棒的上端面蓋裝有上端蓋,所述上端蓋的內螺紋位于所述軟化樹脂罐的入口的正上方,所述上外端蓋的內螺紋用于連接對應的裝水容器;
所述軟化樹脂罐的內部對應于所述燒結活性炭罐、中空纖維濾膜罐體的分隔處設置有內凸的定位隔斷,確保整個結構的裝配不會互相干涉,且保證后續更換的方便。
采用上述技術方案后,整支濾芯安裝在適配的濾瓶上,水從PE初濾殼外壁流入,水的流向是外進內出,水依次透過PE初濾殼、燒結椰殼活性炭棒后進入到燒結椰殼活性炭棒的內部空腔,之后通過軟化樹脂罐的上端的進水孔進入軟化樹脂罐的腔體,經過陽離子軟化樹脂過濾,之后流入到燒結活性炭罐的內部經過溴樹脂顆粒后再流入到中空纖維濾膜內,最后流出出水口,其將PE初濾殼、燒結椰殼活性炭棒、陽離子軟化樹脂、溴樹脂顆粒和中空纖維這五種不同的過濾或處理材料制成特定的模塊并集成于一體,其結構緊湊而又不增加過水的阻力,代替原有的三級獨立過濾方式,大大減小了濾芯體積,使產品更換、安裝方便,同時也降低了使用的成本。



