申請日2016.05.05
公開(公告)日2016.10.12
IPC分類號C02F11/00; C02F11/12
摘要
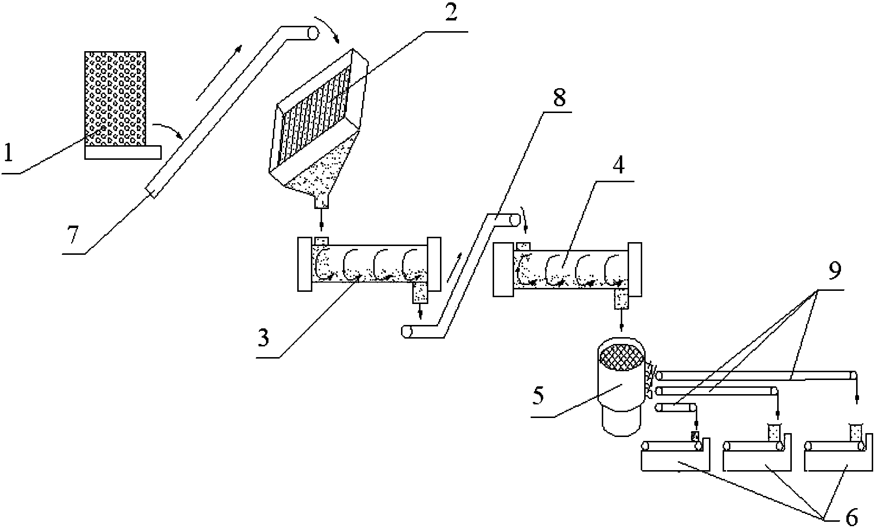
本實用新型公開了一種一體化污泥處理裝置,包括有污泥池、脫水機、造粒機、干燥機、篩分機和袋裝機,其中脫水機設在污泥池后,污泥池與脫水機之間設有第一傳送帶,污泥池內的污泥通過第一傳送帶被輸送到脫水機內,造粒機設在脫水機的下方,干燥機設在造粒機后,造粒機與干燥機之間設有第二傳送帶,篩分機設在干燥機的下方,從干燥機輸出的污泥能夠進入到篩分機內進行篩分,袋裝機設在篩分機后,袋裝機與篩分機之間設有第三傳送帶,有益效果:對污泥進行集中處理,節約污泥處理成本;該裝置包含多種機器,自動化程度較高,節約人力成本,變廢為寶,實現污泥的二次利用。
權利要求書
1.一種一體化污泥處理裝置,其特征在于:包括有污泥池、脫水機、造粒機、干燥機、篩分機和袋裝機,其中脫水機設在污泥池后,污泥池與脫水機之間設有第一傳送帶,污泥池內的污泥通過第一傳送帶被輸送到脫水機內,造粒機設在脫水機的下方,被脫水處理的污泥從脫水機輸出后進入到造粒機內進行造粒,干燥機設在造粒機后,造粒機與干燥機之間設有第二傳送帶,經過造粒的污泥從造粒機輸出后被第二傳送帶輸送到干燥機內進行干燥,篩分機設在干燥機的下方,從干燥機輸出的污泥能夠進入到篩分機內進行篩分,袋裝機設在篩分機后,袋裝機與篩分機之間設有第三傳送帶,被篩分后的污泥從篩分機輸出后進入到袋裝機內進行裝袋。
2.根據權利要求1所述的一種一體化污泥處理裝置,其特征在于:所述的第三傳送帶設有三道,袋裝機設有三臺。
說明書
一種一體化污泥處理裝置
技術領域
本實用新型涉及一種污泥處理裝置,特別涉及一種一體化污泥處理裝置。
背景技術
目前,隨著我國社會經濟發展和城市化進程的加快,城市污水處理量越來越大,相應的污泥量也在不斷增加,如污泥得不到及時處理,將會導致污水處理廠內的污泥大量積壓,嚴重影響污水處理廠的正常運營,甚至可能造成污水處理系統的全面癱瘓,從而直接影響居民正常生活。目前常見的污泥處理方式有衛生填埋、制肥利用、干化和焚燒等,但現有的污泥處理方式大多較為分散、不系統,沒有把污泥集中到一起進行完整的一體化處理,導致污泥處理效率偏低,費用偏高,同時浪費大量人力和物力,未實現污泥的穩定化處理。
發明內容
本實用新型的目的是為了解決現有的污泥處理方式較為分散、不系統,污泥處理效率偏低以及費用偏高等問題而提供的一種一體化污泥處理裝置。
本實用新型提供的一體化污泥處理裝置包括有污泥池、脫水機、造粒機、干燥機、篩分機和袋裝機,其中脫水機設在污泥池后,污泥池與脫水機之間設有第一傳送帶,污泥池內的污泥通過第一傳送帶被輸送到脫水機內,造粒機設在脫水機的下方,被脫水處理的污泥從脫水機輸出后進入到造粒機內進行造粒,干燥機設在造粒機后,造粒機與干燥機之間設有第二傳送帶,經過造粒的污泥從造粒機輸出后被第二傳送帶輸送到干燥機內進行干燥,篩分機設在干燥機的下方,從干燥機輸出的污泥能夠進入到篩分機內進行篩分,袋裝機設在篩分機后,袋裝機與篩分機之間設有第三傳送帶,被篩分后的污泥從篩分機輸出后進入到袋裝機內進行裝袋。
第三傳送帶設有三道,袋裝機設有三臺。
本實用新型的使用原理:
通過污泥運輸車將污泥集中到污泥池,之后通過第一傳送帶把污泥運送到脫水機進行脫水,脫水后的污泥進入到造粒機進行處理成污泥顆粒,之后通過第二傳送帶把污泥顆粒運送到干燥機進行干燥處理,經干燥處理后的干燥污泥顆粒進入到篩分機進行篩分,不同粒徑的干燥污泥顆粒經不同的出口輸出,并通過第三傳送帶運輸到袋裝機進行裝袋,形成袋裝污泥,進行二次利用。
本實用新型的有益效果:
對污泥進行集中處理,降低污泥處理費用,節約污泥處理成本;該裝置包含多種機器,自動化程度較高,節約人力成本,提高污泥處理效率;該裝置對污泥進行分類裝袋,變廢為寶,實現污泥的二次利用。



