申請日2016.05.05
公開(公告)日2016.10.12
IPC分類號B01D46/00; B01D50/00
摘要
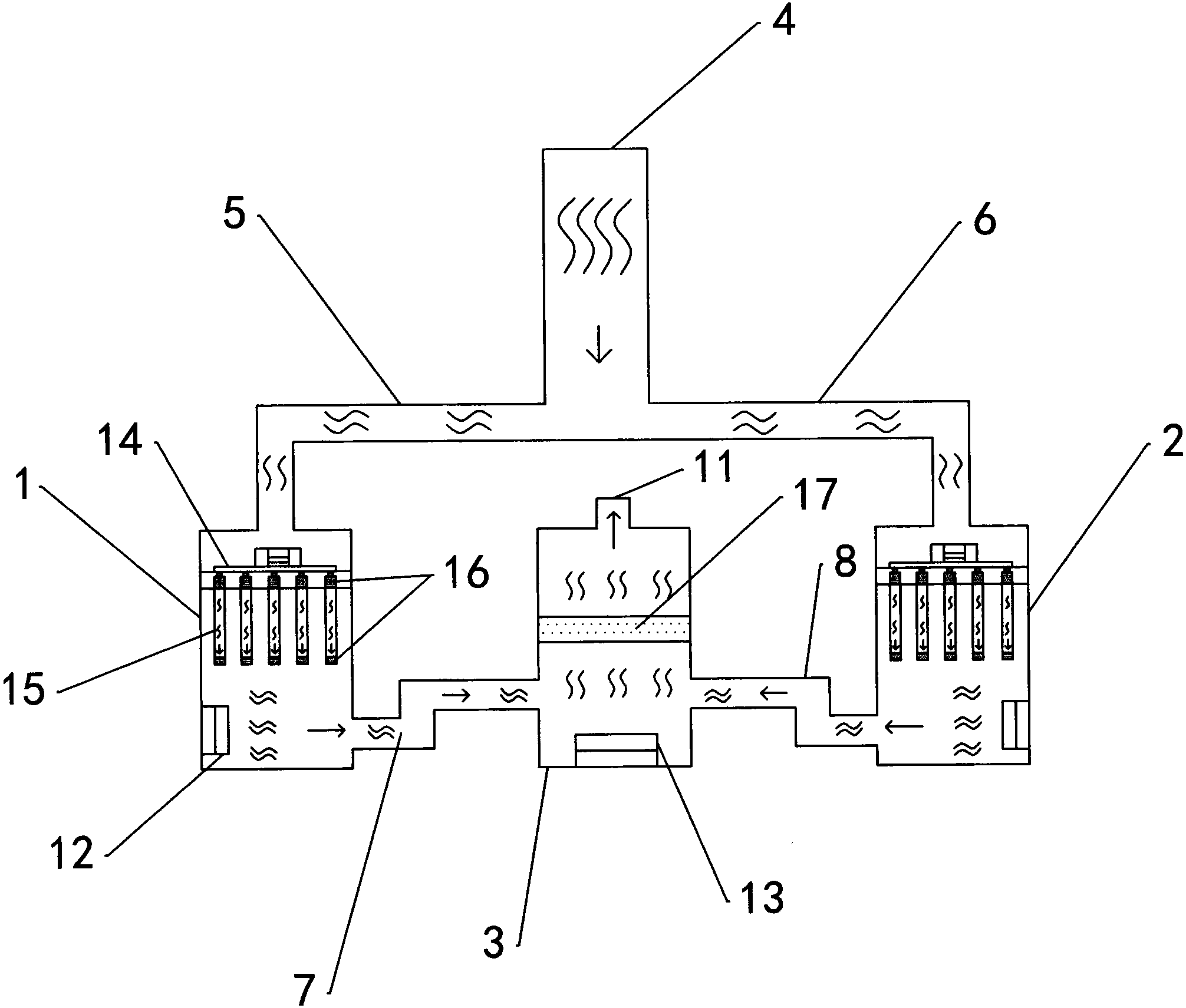
本實用新型公開了一種污泥制磚的尾排除塵系統,包括第一除塵塔、第二除塵塔和降溫塔,還包括與磚窯連接的主排管,第一除塵塔的頂部通過左管道與主排管連接,第二除塵塔的頂部通過右管道與主排管連接,第一除塵塔的右側面靠近底部處通過第一管道與降溫塔連接,第二除塵塔的左側面靠近底部處通過第二管道與降溫塔連接,降溫塔頂部設有與大氣相連通的出氣口,第一除塵塔與第二除塵塔的內部均設有除塵裝置和第一風機,降溫塔的底部設有第二風機。通過本實用新型將尾氣除塵、降溫后,排入到大氣,符合環保標準。
權利要求書
1.一種污泥制磚的尾排除塵系統,包括第一除塵塔、第二除塵塔和降溫塔,其特征在于還包括與磚窯連接的主排管,所述的第一除塵塔的頂部通過左管道與主排管連接,所述的第二除塵塔的頂部通過右管道與主排管連接,所述的第一除塵塔的右側面靠近底部處通過第一管道與降溫塔連接,所述的第二除塵塔的左側面靠近底部處通過第二管道與降溫塔連接,所述的降溫塔頂部設有與大氣相連通的出氣口,所述的第一除塵塔與第二除塵塔的內部均設有除塵裝置和第一風機,所述的降溫塔的底部設有第二風機。
2.根據權利要求1所述的一種污泥制磚的尾排除塵系統,其特征在于所述的除塵裝置包括水平設置在塔體內的支撐盤,所述的支撐盤底部設有多個氣孔,所述的支撐盤下方設有多個除塵管體,所述的多個除塵管體與多個氣孔一一對應設置,所述的除塵管體的頂部和底部均設有過濾層,所述的支撐盤上設有吸氣裝置,以及帶動除塵管體抖動的振動裝置。
3.根據權利要求1所述的一種污泥制磚的尾排除塵系統,其特征在于所述的降溫塔的左側面、右側面分別設有第一進氣口、第二進氣口,所述的第一進氣口與第一管道連接,所述的第二進氣口與第二管道連接。
4.根據權利要求1-3任意一項所述的一種污泥制磚的尾排除塵系統,其特征在于所述的降溫塔內還設有空氣過濾膜。
說明書
一種污泥制磚的尾排除塵系統
技術領域
本實用新型涉及污泥制磚領域,尤其是涉及一種污泥制磚的尾排除塵系統。
背景技術
長期以來,建筑用磚基本上是用純粘土制成,雖然采用純粘土可以制磚,滿足建筑上的需要,但是粘土都是取自地表的上層土,如果長期用純粘土制磚,就會破壞耕地、造成耕地的大量荒廢。對于人均土地資源低于世界平均水平的我國來講,保護土地資源、開發生產各類非粘土質墻體材料就顯得尤為重要。污泥的粘度很強,將污泥制成磚作為建材,很符合我們現在所提倡的廢物利用。
但是,現有的制磚廠里的尾排系統還不夠完善,大部分制磚廠的尾氣是直接通過磚窯上豎立的煙囪排放到大氣中,對大氣直接造成污染,很不環保。有些制磚廠為了節省生產成本,在夜晚偷偷排放,對附近居民的生活造成極大的影響。
發明內容
本實用新型所要解決的技術問題是提供一種污泥制磚的尾排除塵系統,使磚窯排放出氣的尾氣經處理后符合環保標準。
本實用新型解決上述技術問題所采用的技術方案為:一種污泥制磚的尾排除塵系統,包括第一除塵塔、第二除塵塔和降溫塔,還包括與磚窯連接的主排管,所述的第一除塵塔的頂部通過左管道與主排管連接,所述的第二除塵塔的頂部通過右管道與主排管連接,所述的第一除塵塔的右側面靠近底部處通過第一管道與降溫塔連接,所述的第二除塵塔的左側面靠近底部處通過第二管道與降溫塔連接,所述的降溫塔頂部設有與大氣相連通的出氣口,所述的第一除塵塔與第二除塵塔的內部均設有除塵裝置和第一風機,所述的降溫塔的底部設有第二風機。
作為本實用新型進一步改進,所述的除塵裝置包括水平設置在塔體內的支撐盤,所述的支撐盤底部設有多個氣孔,所述的支撐盤下方設有多個除塵管體,所述的多個除塵管體與多個氣孔一一對應設置,所述的除塵管體的頂部和底部均設有過濾層,所述的支撐盤上設有吸氣裝置,以及帶動除塵管體抖動的振動裝置。
作為本實用新型進一步改進,所述的降溫塔的左側面、右側面分別設有第一進氣口、第二進氣口,所述的第一進氣口與第一管道連接,所述的第二進氣口與第二管道連接。
作為本實用新型進一步改進,所述的降溫塔內還設有空氣過濾膜。進一步過濾尾氣。
與現有技術相比,本實用新型的優點在于第一除塵塔和第二除塵塔內設置了除塵裝置,從磚窯排出的尾氣通過左管道、右管道分別進入到第一除塵塔、第二除塵塔內除塵后,再利用第一風機將過濾后的尾氣分別吹入第一管道、第二管道,從第一管道、第二管道內出來的尾氣進入到降溫塔降溫,最后通過第二風機將尾氣排放到大氣中,排放到大氣中的尾氣符合環保標準。



