申請日2015.07.13
公開(公告)日2015.11.18
IPC分類號C02F1/00; C02F1/40
摘要
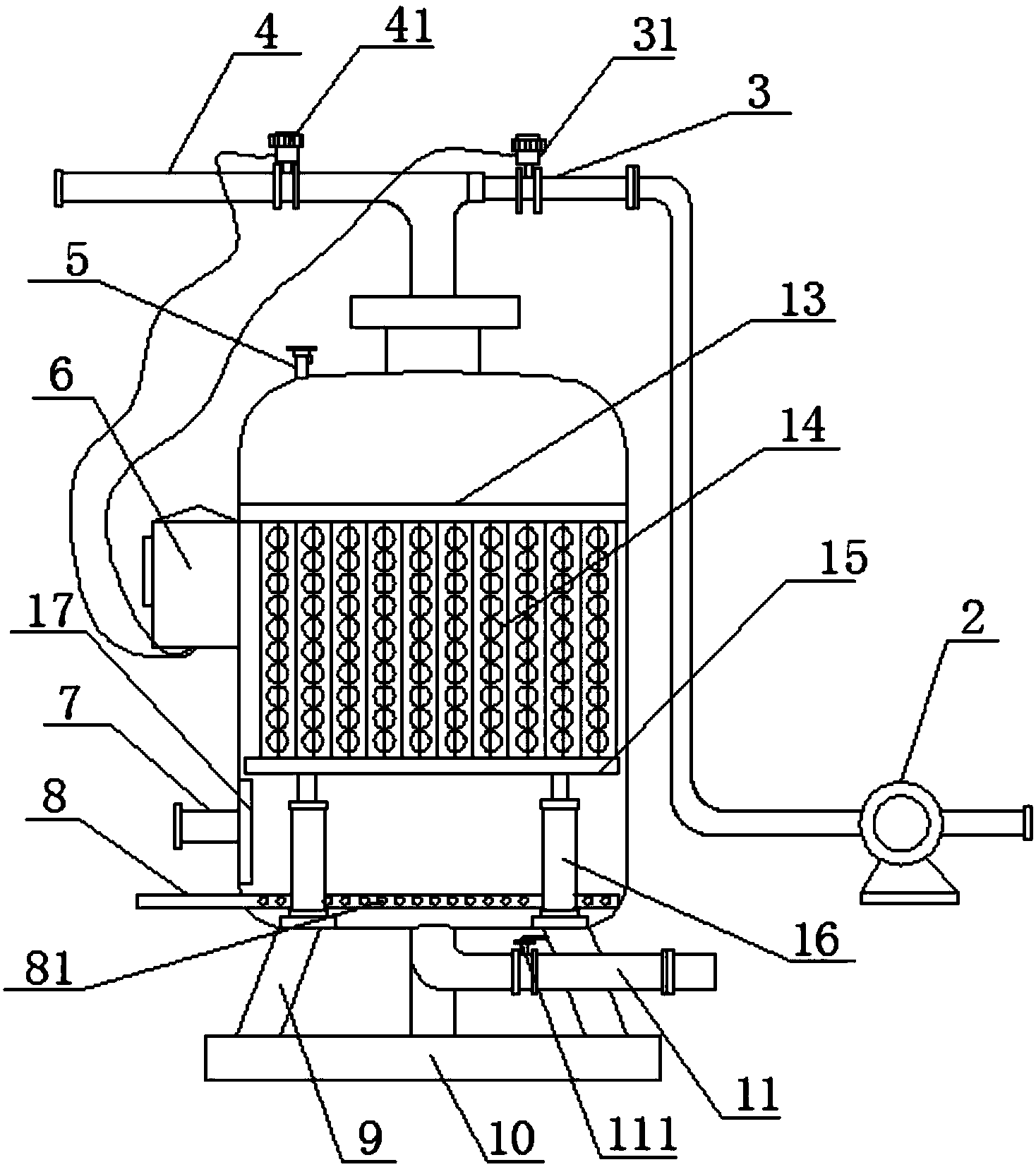
本發明公開了一種倒置式含油污水過濾裝置,包括過濾罐、反沖洗水泵、反沖洗進水管、過濾水排水管、排氣口、控制箱、污水進水管、壓縮空氣管、支架和浮油排出口,所述過濾罐下端連接污水進水管,污水進水管末端設有布水板,布水板位于過濾罐內部;過濾罐頂部連接有反沖洗進水管和過濾水排水管,過濾罐底部連接安裝有浮油排出口;所述過濾罐下端還安裝有壓縮空氣進氣管,過濾罐上端設有排氣口;所述過濾罐內安裝有固定孔板、濾料、活動孔板。本發明進水均勻,流速穩定,減小了水流對濾料造成的沖擊破壞,延長了污水與濾料的接觸時間,提高了過濾效率,過濾精度高,反沖洗效率高,防止油脂滯留,占地面積小,使用方便。
權利要求書
1.一種倒置式含油污水過濾裝置,其特征在于:包括過濾罐(1)、反沖洗水泵(2)、 反沖洗進水管(3)、過濾水排水管(4)、排氣口(5)、控制器(6)、污水進水管 (7)、壓縮空氣管(8)、支架(9)和浮油排出口(11),所述過濾罐(1)下端連接 污水進水管(7),污水進水管(7)末端設有布水板(17),布水板(17)位于過濾 罐(1)內部;過濾罐(1)頂部連接有反沖洗進水管(3)和過濾水排水管(4),過 濾罐(1)底部連接安裝有浮油排出口(11);所述過濾罐(1)下端還安裝有壓縮 空氣進氣管(8),過濾罐(1)上端設有排氣口(5);所述過濾罐(1)內安裝有固 定孔板(13)、濾料(14)、活動孔板(15),內部固定安裝有固定孔板(13),固 定孔板(13)下方懸掛濾料(14),濾料(14)底部連接活動孔板(15);所述過濾 罐(1)內還安裝有導向桿(16),導向桿(16)與活動孔板(15)相連接;所述過濾 罐(1)的一側設有控制器(6),控制器(6)與導向桿(16)相連接。
2.如權利要求1所述的一種倒置式含油污水過濾裝置,其特征在于:所述反沖 洗進水管(3)與反沖洗水泵(2)相連接,反沖洗進水管(3)上設有反沖洗調節閥 (31),反沖洗調節閥(31)與控制器(6)電連接。
3.如權利要求1所述的一種倒置式含油污水過濾裝置,其特征在于:所述過濾 水排水管(4)上設有過濾水排水調節閥(41),過濾水排水調節閥(41)與控制器 (6)電連接。
4.如權利要求1所述的一種倒置式含油污水過濾裝置,其特征在于:所述壓縮 空氣管(8)上開有壓縮空氣排氣孔(81),壓縮空氣排氣孔(81)的數量為若干 個,壓縮空氣排氣孔(81)在壓縮空氣管(8)上均勻分布,壓縮空氣排氣孔(81) 對應活動孔板(15)的位置。
5.如權利要求1所述的一種倒置式含油污水過濾裝置,其特征在于:所述導向 桿(16)豎直設置,活動孔板(15)與固定孔板(13)平行設置。
6.如權利要求1所述的一種倒置式含油污水過濾裝置,其特征在于:所述過濾 罐(1)底部連接安裝有浮油排出口(11),浮油排出口(11)處設有開關閥(111)。
7.如權利要求1所述的一種倒置式含油污水過濾裝置,其特征在于:所述過濾 罐(1)底部安裝有支架(9),支架(9)的底部連接有底座(10),底座(10)平穩放 置在地面上。
8.如權利要求1所述的一種倒置式含油污水過濾裝置,其特征在于:所述過濾 罐(1)外壁上還設有觀察窗(12)。
說明書
一種倒置式含油污水過濾裝置
【技術領域】
本發明涉及污水處理設備技術領域,特別是倒置式含油污水過濾裝置的技 術領域。
【背景技術】
工業生產往往會產生大量的污水,工業污水成分復雜,存在泥沙、油和含 油固體物等,對環境污染較大,不能直接排放。普通污水一般采用多介質過濾 器和纖維束過濾器進行處理,但普通纖維束只能處理不含油的污水。
油水分離器主要有重力法、吸附法、膜分離法和粗粒化法。利用油水比重 不同,可以進行初步分離,分離精度不高,效果和效率都較差。吸附法,吸附 材料會很快飽和,吸附材料使用時間不長,后期需要脫附處理,實用價值較低, 處理費用高,不適合工業生產使用。膜分離法處理精度高,但技術較不成熟, 耗能較大。粗粒化法使用各種濾料過濾,處理精度可調節,過濾精度較高,非 常具有實用性和發展前景。
一般的油水分離器是進水口位于頂部,出水口位于底部的結構。如果濾料 的進水口位于底部,出水口位于頂部,則為倒置式,濾芯倒置,在重力作用下, 沾附在濾芯上的部分雜質會下落,另一部分黏附在濾料上,使用一段時間后, 浮油需要排出,否則容易滯留在濾器底部,處理效果降低,濾料飽和需要反沖 洗將污染物沖洗下來,而且油污容易黏附在濾料上,非常不易沖洗,運行成本 偏高,影響濾器濾料的使用壽命。
【發明內容】
本發明的目的就是解決現有技術中的問題,提出一種倒置式含油污水過濾 裝置,進水均勻,流速穩定,提高了過濾效率,過濾精度高,反沖洗效率高。 防止油脂滯留,占地面積小,使用方便。
為實現上述目的,本發明提出了一種倒置式含油污水過濾裝置,包括過濾 罐、反沖洗水泵、反沖洗進水管、過濾水排水管、排氣口、控制箱、污水進水 管、壓縮空氣管、支架和浮油排出口,所述過濾罐下端連接污水進水管,污水 進水管末端設有布水板,布水板位于過濾罐內部;過濾罐頂部連接有反沖洗進 水管和過濾水排水管,過濾罐底部連接安裝有浮油排出口;所述過濾罐下端還 安裝有壓縮空氣進氣管,過濾罐上端設有排氣口;所述過濾罐內安裝有固定孔 板、濾料、活動孔板,內部固定安裝有固定孔板,固定孔板下方懸掛濾料,濾 料底部連接活動孔板;所述過濾罐內還安裝有導向桿,導向桿與活動孔板相連 接;所述過濾罐的一側設有控制器,控制器與導向桿相連接。
作為優選,所述反沖洗進水管與反沖洗水泵相連接,反沖洗進水管上設有 反沖洗調節閥,反沖洗調節閥與控制器電連接。
作為優選,所述過濾水排水管上設有過濾水排水調節閥,過濾水排水調節 閥與控制器電連接。
作為優選,所述壓縮空氣管上開有壓縮空氣排氣孔,壓縮空氣排氣孔的數 量為若干個,壓縮空氣排氣孔在壓縮空氣管上均勻分布,壓縮空氣排氣孔對應 活動孔板的位置。
作為優選,所述導向桿豎直設置,活動孔板與固定孔板平行設置。
作為優選,所述過濾罐底部連接安裝有浮油排出口,浮油排出口處設有開 關閥。
所述過濾罐底部安裝有支架,支架的底部連接有底座,底座平穩放置在地 面上。
所述過濾罐外壁上還設有觀察窗。
本發明的有益效果:本發明在污水進口處設置布水板,污水沿布水板重新 布水,使污水進水的水流速度降低,進水均勻,流速穩定,減小了水流對濾料 造成的沖擊破壞。延長了污水與濾料的接觸時間,提高了過濾效率,過濾精度 高。使用氣動式結合水反沖洗,避免濾料板結,延長濾料的使用壽命,反沖洗 效率高。使用一段時間后,過濾罐底部的油料可以從浮油排出口排出,防止油 脂滯留,過濾效果好,占地面積小,使用方便。







