申請日2015.07.13
公開(公告)日2015.12.02
IPC分類號C02F1/42; C02F1/40
摘要
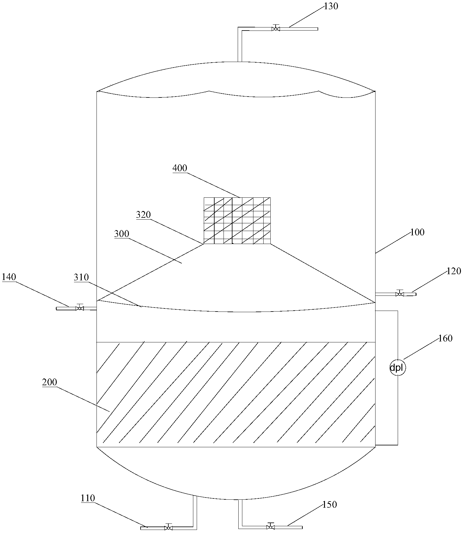
本實用新型提供一種將含油廢水中油與水分離的裝置,包括:罐體、廢水輸入口、水排出口、油排出口、引流罩、第一分離層及第二分離層。所述廢水輸入口設置于所述罐體的底部,所述油排出口設置于所述罐體的頂部。所述第一分離層靠近所述罐體底部并設置在所述罐體內。在所述第一分離層之上設置有引流罩,所述引流罩底部靠近所述第一分離層設置,所述引流罩的底部與所述罐體的內側固定連接,所述引流罩的頂部設置有第二分離層。所述水排出口設置于所述引流罩的底部緊靠上方的罐體位置處。解決現有技術中油與水分離裝置占地面積大及油與水分離效果不理想的技術問題。
權利要求書
1.一種將含油廢水中油與水分離的裝置,其特征在于,包括:用于油與水分離的罐體、用于輸入含油廢水的廢水輸入口、用于將所述含油廢水中水輸出的水排出口、用于所述含油廢水中油輸出的油排出口、用于引流的引流罩、用于對所述含油廢水進行分離的第一分離層及第二分離層,所述廢水輸入口設置于所述罐體的底部,所述油排出口設置于所述罐體的頂部,所述第一分離層靠近所述罐體底部并設置在所述罐體內,在所述第一分離層之上設置有引流罩,所述引流罩底部靠近所述第一分離層設置,所述引流罩的底部與所述罐體的內側固定連接,所述引流罩的頂部設置有第二分離層,所述水排出口設置于所述引流罩的底部緊靠上方的罐體位置處。
2.如權利要求1所述的將含油廢水中油與水分離的裝置,其特征在于:所述第一分離層及所述第二分離層中設置有離子交換樹脂。
3.如權利要求2所述的將含油廢水中油與水分離的裝置,其特征在于:所述第一分離層及所述第二分離層中設置的離子交換樹脂為同種類的離子交換樹脂。
4.如權利要求1所述的將含油廢水中油與水分離的裝置,其特征在于:在所述罐體外還設置有用于測量所述罐體內壓力的壓力測量計。
5.如權利要求4所述的將含油廢水中油與水分離的裝置,其特征在于,還包括:沖洗水接入口和沖洗水排出口,所述沖洗水接入口設置于所述引流罩底部與所述第一分離層之間的所述罐體上,所述沖洗水排出口設置于所述罐體的底部。
6.如權利要求5所述的將含油廢水中油與水分離的裝置,其特征在于:所述廢水輸入口、水排出口、油排出口、沖洗水接入口及沖洗水排出口上均設置有閥門。
7.如權利要求6所述的將含油廢水中油與水分離的裝置,其特征在于:當所述壓力測量計顯示所述罐體內壓力超過預定值時,關閉所述廢水輸入口、水排出口及油排出口的閥門,開啟所述沖洗水接入口及沖洗水排出口的閥門。
8.如權利要求6所述的將含油廢水中油與水分離的裝置,其特征在于:當所述壓力測量計顯示所述罐體內壓力未超過預定值時,開啟所述廢水輸入口、水排出口及油排出口的閥門,關閉所述沖洗水接入口及沖洗水排出口的閥門。
9.如權利要求1所述的將含油廢水中油與水分離的裝置,其特征在于:所述引流罩為一截頂的圓錐罩體。
10.如權利要求9所述的將含油廢水中油與水分離的裝置,其特征在于:所述圓錐罩體的底部直徑是頂部直徑的兩倍。
說明書
將含油廢水中油與水分離的裝置
技術領域
本實用新型涉及廢水處理領域,具體而言,涉及一種將含油廢水中油與水分離的裝置。
背景技術
現有技術中將含油廢水中的油與水分離的裝置存在著占地面積大,油與水分離效果不佳的問題。如何提供一種占地面積小,油與水分離效果好的油與水分離裝置,對本領域技術人員而言是急需解決的技術問題。
實用新型內容
有鑒于此,本實用新型提供了一種將含油廢水中油與水分離的裝置,以改善現有技術中油與水分離裝置占地面積大及油與水分離效果不理想的技術問題。
為實現上述目的,本實用新型提供如下技術方案:
一種將含油廢水中油與水分離的裝置,包括:用于油與水分離的罐體、用于輸入含油廢水的廢水輸入口、用于將所述含油廢水中水輸出的水排出口、用于所述含油廢水中油輸出的油排出口、用于引流的引流罩、用于對所述含油廢水進行分離的第一分離層及第二分離層。所述廢水輸入口設置于所述罐體的底部,所述油排出口設置于所述罐體的頂部。所述第一分離層靠近所述罐體底部并設置在所述罐體內。在所述第一分離層之上設置有引流罩,所述引流罩底部靠近所述第一分離層設置,所述引流罩的底部與所述罐體的內側固定連接,所述引流罩的頂部設置有第二分離層。所述水排出口設置于所述引流罩的底部緊靠上方的罐體位置處。
進一步地,上述將含油廢水中油與水分離的裝置中所述第一分離層及所述第二分離層中設置有離子交換樹脂。設置離子交換樹脂是便于所述離子交換樹脂吸附廢水中的油滴顆粒,使油與水分離。
進一步地,上述將含油廢水中油與水分離的裝置中所述第一分離層及所述第二分離層中設置的離子交換樹脂為同種類的離子交換樹脂。將所述第一分離層及所述第二分離層中設置同種類的離子交換樹脂便于將廢水中某一種油滴顆粒較多時對廢水進行二次分離,保證分離效果。
進一步地,上述將含油廢水中油與水分離的裝置中所述罐體外還設置有用于測量所述罐體內壓力的壓力測量計。所述壓力測量計用于測量所述第一分離層兩側的壓力值,所述壓力測量計的顯示表盤位于所述罐體外,方便工作人員隨時了解罐內壓力情況。
進一步地,上述將含油廢水中油與水分離的裝置,還包括:沖洗水接入口和沖洗水排出口,所述沖洗水接入口設置于所述引流罩底部與所述第一分離層之間的所述罐體上,所述沖洗水排出口設置于所述罐體的底部。當所述壓力測量計的值超過一預設值時,表明所述第一分離層中堵塞嚴重,通過所述沖洗水接入口放入水對所述第一分離層進行清洗,清洗后的水通過所述沖洗水排出口排出罐體外,防止第一分離層堵塞影響整個裝置的工作。
進一步地,上述將含油廢水中油與水分離的裝置中所述廢水輸入口、水排出口、油排出口、沖洗水接入口及沖洗水排出口上均設置有閥門。設置閥門方便對上述接口工作狀態(tài)進行控制。
進一步地,上述將含油廢水中油與水分離的裝置,當所述壓力測量計顯示所述罐體內壓力超過預定值時,關閉所述廢水輸入口、水排出口及油排出口的閥門,開啟所述沖洗水接入口及沖洗水排出口的閥門。當所述壓力測量計顯示所述罐體內壓力超過預定值時,需要對所述第一分離層進行清洗,以保證所述含油廢水中油與水分離的裝置能繼續(xù)工作。
進一步地,上述將含油廢水中油與水分離的裝置,當所述壓力測量計顯示所述罐體內壓力未超過預定值時,開啟所述廢水輸入口、水排出口及油排出口的閥門,關閉所述沖洗水接入口及沖洗水排出口的閥門。當所述壓力測量計顯示所述罐體內壓力未超過預定值時表明此時所述第一分離層還能繼續(xù)工作,不需對其進行清洗。
進一步地,上述將含油廢水中油與水分離的裝置中所述引流罩為一截頂的圓錐罩體,所述圓錐罩體的底部直徑是頂部直徑的兩倍。采用截頂的圓錐罩體作為引流罩的引流效果好。同時將所述圓錐罩體的底部直徑設置為頂部直徑的兩倍,在所述引流罩的頂部上設置第二分離層,此時經過所述第二分離層后油與水分離效果好。
相對現有技術而言,本實用新型提供一種將含油廢水中油與水分離的裝置,包括:用于油與水分離的罐體、用于輸入含油廢水的廢水輸入口、用于將所述含油廢水中水輸出的水排出口、用于所述含油廢水中油輸出的油排出口、用于引流的引流罩、用于對所述含油廢水進行分離的第一分離層及第二分離層。所述廢水輸入口設置于所述罐體的底部,所述油排出口設置于所述罐體的頂部。所述第一分離層靠近所述罐體底部并設置在所述罐體內。在所述第一分離層之上設置有引流罩,所述引流罩底部靠近所述第一分離層設置,所述引流罩的底部與所述罐體的內側固定連接,所述引流罩的頂部設置有第二分離層。所述水排出口設置于所述引流罩的底部緊靠上方的罐體位置處。該將含油廢水中油與水分離的裝置在一個罐體內設置兩個分離層,并使所述廢水從下至上的分離方式,改善了現有技術中油與水分離裝置占地面積大及油與水分離效果不理想的技術問題。







