申請日2015.06.11
公開(公告)日2015.09.23
IPC分類號E03F3/04; E03F5/00; E03F3/02
摘要
本發明公開了一種滲濾液導流盲管鋪設系統,在傳統垃圾填埋場底部單一環形防滲系統基礎上,加入層狀多環回字形鋪設結構。按照填埋單元的面積大小,充分分配在不同面積下,增添新的導流盲管,即在垃圾鋪設過程中,在整個填埋單元內填平一層后,在往上堆坡的過程中,按照標準標高,會是層層堆坡,壓實,到一定階段后,開始鋪設除底部外第一環導流盲管。其中包括盲溝的開挖,盲溝內的石子鋪設和管道的鋪設。其中管道為有孔管道,外面用土工布包裹。本發明解決了先前底部鋪設單一導流盲管所帶來的潛在問題,如堵塞和斷裂,而且大大減輕了滲濾液收集的壓力,減少了滲濾液的停留時間,也便于填埋垃圾的消化與沉降,提高了現場填埋作業堆體的穩定性。
摘要附圖
權利要求書
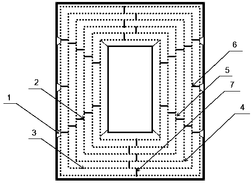
1.一種滲濾液導流盲管鋪設系統,在填埋場底部設置的環形開挖的導流盲溝(8)中鋪設環形的導流管道(3)形成環形防滲系統,導流盲溝(8)的拐角處用與所述導流管道(3)相同規格的彎頭(4)連接,其特征在于:將所述導流管道(3)外部包覆管道包裹(10)后再用石塊填料(9)固定在所述導流盲溝(8)內,所述石塊填料(9)將所述導流管道(3)完全覆蓋,在填埋場底部一共設有一系列所述環形防滲系統,形成由多道環形的所述導流盲溝(8)和多條環形的所述導流管道(3)組成的從外到內的多層回字形導流盲管鋪設系統,在每條所述導流管道(3)的封閉接口處,所述導流管道(3)的兩個接口分別通過與所述導流管道(3)相同規格的三通管(11)的第一接口和第二接口連接為T字型管路,位于不同所述導流盲溝(8)中的層間相鄰的兩個所述導流管道(3)之間通過連接管(2)進行連通,所述連接管(2)的兩端口分別與層間相鄰的兩個所述導流管道(3)的兩個所述三通管(11)的第三接口連接,所述連接管(2)的內徑大于所述導流管道(3)的內徑,所述連接管(2)分別與所述導流管道(3)和三通管(11)的借口之間所述采用可伸縮的套接方式連接,最外層的所述導流管道(3)與所述連接管(2)連接處還設有與潛水泵連接的抽水管口,所述潛水泵將滲濾液抽入位于近旁的集水井(1)中,按照填埋場底部的管道鋪設范圍,按照設定的環間距依次鋪設,直至將填埋場底部的環形防滲系統填埋飽和,同時根據填埋場的填埋高度、垃圾含水率、季節氣象情況和地區水文情況進行增加或減少鋪設環形的所述導流管道(3)的層數。
2.根據權利要求1所述滲濾液導流盲管鋪設系統,其特征在于:在整個導流盲管鋪設系統中,在與填埋場底部的長度延伸方向垂直的方向上,在不同的環間設置的連接管(2)按照從內到外形成梯形的方式進行展開排布,且在最外層的所述導流管道(3)的長度中點位置處還設有與對應次外層所述導流管道(3)連通的對應的連接管(2),形成網狀的導流盲管鋪設系統。
3.根據權利要求2所述滲濾液導流盲管鋪設系統,其特征在于:在整個導流盲管鋪設系統中,在與填埋場底部的長度延伸方向上,在不同的環間設置的連接管(2)按照交錯排列方式進行排布,形成環形的網狀的導流盲管鋪設系統。
4.根據權利要求1~3中任意一項所述滲濾液導流盲管鋪設系統,其特征在于:所述環形防滲系統按照設定的相等的環間距依次鋪設。
5.根據權利要求1~3中任意一項所述滲濾液導流盲管鋪設系統,其特征在于:所述導流盲溝(8)的深度為1m。
6.根據權利要求5所述滲濾液導流盲管鋪設系統,其特征在于:所述導流盲溝(8)的寬度為0.8m。
說明書
滲濾液導流盲管鋪設系統
技術領域
本發明涉及一種垃圾處理系統,特別是涉及一種垃圾滲濾液導排系統,應用于環境工程技術領域。
背景技術
垃圾填埋場在填埋垃圾的過程中,按照設計標準標高,是從下往上依次填埋,層層堆坡,壓實,日覆蓋,這樣一個循序漸進的過程。每進行填埋作業的同時,必然會帶有先前填埋垃圾堆體的消化與沉降,由于隨著生活水平的提高,不同地區的生活垃圾含水率以不同的季節來看,在35%~75%之間不等。如此,每層必將含有垃圾消化帶來的滲濾液,僅僅依靠填埋單元底部的滲濾液導排盲溝以不能滿足滲濾液排除需求,而且伴隨著時間的推移,填埋單元底部的滲濾液導排盲溝會發生堵塞和斷裂問題。
發明內容
為了解決現有技術問題,本發明的目的在于克服已有技術存在的不足,提供一種滲濾液導流盲管鋪設系統,適用生活垃圾填埋場的滲濾液導排工程作業,在原有的填埋場防滲系統的基礎上,增加了多環回字形設計,可根據填埋場填埋單元的不同,根據不同的需要,進行增加或減少鋪設環形管道的層數。對于不同的季節和地區,垃圾含水率有著明顯的不同,本發明特別適合垃圾含水率較高的地區,可以有效提高滲濾液的導排效果。
為達到上述發明創造目的,本發明采用下述技術方案:
一種滲濾液導流盲管鋪設系統,在填埋場底部設置的環形開挖的導流盲溝中鋪設環形的導流管道形成環形防滲系統,盲溝的開挖是按照相關規格參數實現的,根據不同的地區可參照每個地區的垃圾含水率,含水率越高,則盲溝越深,導流盲溝的拐角處用與導流管道相同規格的彎頭連接,將導流管道外部包覆管道包裹后再用石塊填料固定在導流盲溝內,石塊填料將導流管道完全覆蓋,在填埋場底部一共設有一系列環形防滲系統,形成由多道環形的導流盲溝和多條環形的導流管道組成的從外到內的多層回字形導流盲管鋪設系統,在每條導流管道的封閉接口處,導流管道的兩個接口分別通過與導流管道相同規格的三通管的第一接口和第二接口連接為T字型管路,位于不同導流盲溝中的層間相鄰的兩個導流管道之間通過連接管進行連通,連接管的兩端口分別與層間相鄰的兩個導流管道的兩個三通管的第三接口連接,連接管的內徑大于導流管道的內徑,連接管分別與導流管道和三通管的借口之間采用可伸縮的套接方式連接,最外層的導流管道與連接管連接處還設有與潛水泵連接的抽水管口,潛水泵將滲濾液抽入位于近旁的集水井中,按照填埋場底部的管道鋪設范圍,按照設定的環間距依次鋪設,直至將填埋場底部的環形防滲系統填埋飽和,同時根據填埋場的填埋高度、垃圾含水率、季節氣象情況和地區水文情況進行增加或減少鋪設環形的導流管道的層數。本發明充分考慮到生活垃圾的不穩定型,包括消化和沉降,隨之而來的便是垃圾體的上下變動,很容易損壞環于環之間的連接管,則采用以大管套小管的方式進行連接,及每環的接口處用三通管連接,相鄰兩環之間的連接則采用規格稍大一點的連接管連接,以保證其在垃圾體的變動下,管道的可收縮性。
作為本發明優選的技術方案,在整個導流盲管鋪設系統中,在與填埋場底部的長度延伸方向垂直的方向上,在不同的環間設置的連接管按照從內到外形成梯形的方式進行展開排布,且在最外層的導流管道的長度中點位置處還設有與對應次外層導流管道連通的對應的連接管,形成網狀的導流盲管鋪設系統。
作為本發明進一步優選的技術方案,在整個導流盲管鋪設系統中,在與填埋場底部的長度延伸方向上,在不同的環間設置的連接管按照交錯排列方式進行排布,形成環形的網狀的導流盲管鋪設系統。
作為上述方案中優選的技術方案,環形防滲系統按照設定的相等的環間距依次鋪設。
作為上述方案中優選的技術方案,導流盲溝的深度為1m。
作為上述方案中優選的技術方案,導流盲溝的寬度為0.8m。
本發明與現有技術相比較,具有如下顯而易見的突出實質性特點和顯著優點:
1. 本發明滲濾液導流盲管鋪設系統在傳統的垃圾填埋場底部單一環形防滲系統基礎上,加入層狀多環回字形結構,按照填埋單元的面積大小,充分分配在不同面積下,增添新的導流盲管,解決了傳統的垃圾填埋場底部鋪設單一導流盲管所帶來的潛在問題,如堵塞和斷裂,而且大大減輕了滲濾液收集的壓力,減少了滲濾液的停留時間,也便于填埋垃圾的消化與沉降,提高了現場填埋作業堆體的穩定性;
2. 本發明滲濾液導流盲管鋪設系統能夠顯現新型的滲濾液導流盲管鋪設方法,在減輕衛生填埋場滲濾液收集的壓力的同時還起到很好的雨污分流作用,使垃圾填埋工程作業的處理效果更佳。






