申請日2015.07.13
公開(公告)日2017.10.27
IPC分類號B01D24/14; B01D24/46; B01D24/40; B01D24/48
摘要
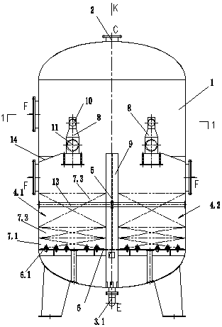
一種高效冶金行業廢水提純凈化器,包括罐體,罐體頂端的出水口、罐體底部的放空口、放空口連接放空管,罐體內設置有提純濾室,所述罐體中心設置有隔板分隔成左右兩個提純濾室,所述左右提純濾室均設置于多孔板上,多孔板上方設置有濾料層,濾料層從下往上依次設置有卵石墊層、一級硅砂濾料層以及二級硅砂濾料層,左右提純濾室均設置有單獨的旋流配水裝置,旋流配水裝置設置于提純濾室上端,每個旋流配水裝置均連接有一進水支管和一反洗出水管,左右提純濾室中心設置有連通管連接放空口,所述旋流配水裝置包括上部有頂蓋的圓筒、中部為錐形過渡段,下部為支徑大于上部的圓筒,進水支管與上部圓筒切向連接,反洗出水管與下部圓筒相切。
權利要求書
1.一種高效冶金行業廢水提純凈化器,包括罐體,罐體頂端的出水口、罐體底部的放空口、放空口連接放空管,罐體內設置有提純濾室,其特征在于所述罐體中心設置有隔板分隔成左右兩個提純濾室,所述左右提純濾室均設置于多孔板上,多孔板上安裝有承插式濾帽,多孔板上方設置有濾料層,濾料層從下往上依次設置有卵石墊層、一級硅砂濾料層以及二級硅砂濾料層,左右提純濾室均設置有單獨的旋流配水裝置,旋流配水裝置設置于提純濾室上端,每個旋流配水裝置均連接有一進水支管和一反洗出水管,左右提純濾室中心設置有連通管連接放空口,所述旋流配水裝置包括上部有頂蓋的圓筒、中部為錐形過渡段,下部為直徑大于上部的圓筒,進水支管與上部圓筒切向連接,反洗出水管與下部圓筒相切。
2.根據權利要求 1 所述的一種高效冶金行業廢水提純凈化器,其特征在于每個旋流配水裝置的進水支管均連接進水總管。
3.根據權利要求 1 所述的一種高效冶金行業廢水提純凈化器,其特征在于進水支管分別配有配套對夾式手動蝶閥和對夾式電動蝶閥各 2 套,反洗出水管分別配有配套對夾式手動蝶閥和對夾式電動蝶閥各 2 套,放空管配有配套對夾式手動蝶閥 1 套。
4.根據權利要求 3 所述的一種高效冶金行業廢水提純凈化器,其特征在于進水支管分別配有配套對夾式手動蝶閥和對夾式電動蝶閥與進水總管連接 ;反洗出水管分別配有配套對夾式手動蝶閥和對夾式電動蝶與水封槽連接 ;放空管配有配套對夾式手動蝶閥與水封槽連接。
5.根據權利要求 1 所述的一種高效冶金行業廢水提純凈化器,其特征在于旋流配水裝置四周設置有加強筋板。
6.根據權利要求 1 所述的一種高效冶金行業廢水提純凈化器,其特征在于多孔板、隔板材質為碳鋼環氧煤瀝青防腐材質。
7.根據權利要求 1 所述的一種高效冶金行業廢水提純凈化器,其特征在于濾料層的卵石墊層厚 200mm,∅4-8mm ;一級硅砂濾料層厚 200mm,∅2-4mm ;二級硅砂濾料層厚600mm,∅0.5-1mm。
8.根據權利要求 1 所述的一種高效冶金行業廢水提純凈化器,其特征在于提純濾室設置有濾料支撐管。
說明書
一種高效冶金行業廢水提純凈化器
技術領域
本發明涉及一種工業提純凈化器,具體是一種高效冶金行業廢水提純凈化器。
背景技術
在19世紀至20世紀,世界工業化進程中,鋼鐵工業一度成為世界最具成長的產業之一,得到了迅猛的發展。無論在產值、產品結構,還是工業技術都有了前所未有的提高。進入21世紀,鋼鐵仍然是人類不可替代的原材料,是衡量一個國家綜合國力和工業水平的重要指標。鋼鐵行業既是用水大戶,又是主要的環境污染源。鋼鐵行業廢水污染物主要有:酚、氰化物、石油類、COD、懸浮物等。節約用水,減少排污,在用水方面實現減量化、再利用、再循環(3R)的循環經濟運行模式,是我國鋼鐵行業發展面臨的越來越緊迫的任務。
循環水系統中沒有水質穩定措施,造成補水量大,排水量大。現在許多企業雖有循環系統及設施,但其相應補充水及循環水水質不受控制,又缺乏有效的水質穩定措施,使得循環水使用一段時間后,懸浮物增多,含鹽量增多,菌藻繁殖等,造成水質不能滿足用戶要求,必須增加補水以降低循環水中懸浮物和總含鹽量,從而造成補水量大。
國內煉鋼廢水處理傳統方法有絮凝沉淀+過濾+污泥處理系統。其中就重要污染物SS(懸浮物)去除率分析:通過投加絮凝劑、助凝劑后沉淀出水懸浮物SS含量可以達到150~200mg/L的水平,通過改進進水水力旋流器和增加磁凝聚器后出水懸浮物SS含量可以達到150~200mg/L,與達到當時國家水污染排放濃度限值的50 mg/L差距很大,因此增加了過濾系統。過濾裝置主要使用雙濾料濾池(濾速5m/h),隨著國內水處理技術的發展和提高,濾速能達到10m/h的重力過濾或機械過濾已經普遍使用。
2012年06月27日國家環保部及國家質量監督檢驗檢疫局發布了《鋼鐵工業水污染物排放標準》(GB13456-2012),新建鋼鐵企業污染物排放濃度限值及單位產品基準排水量有了新的要求,出水懸浮物SS含量30mg/L,單位產品基準排水量為0.1m3/t(煉鋼)。這對鋼鐵行業廢水減量化、再利用、再循環(3R)的要求進一步提高。
因此目前采用增加離子交換器對過濾后的廢水進行軟化,來降低廢水硬度,以減少石灰乳的投加而增加的污泥量。這樣經過絮凝沉淀+過濾+離子交換的方法處理后混合水能達到回用標準。但是為了減少廢水對離子交換樹脂的污染,需要投加二氧化氯,加藥量要達到2mg/L,同時離子交換樹脂的再生會產生酸堿廢水,軟化水系統增加運行費用為0.138元/ m3,還需要增加再生泵、再生裝置等,廢水處理系統占地面積大大增加,管理程序更加復雜,投資大大提高。
發明內容
為了克服現有技術存在的缺點,針對煉鋼工業廢水特點,本發明提供了一種壽命長,使用成本低的高效廢水提純凈化器。本發明的技術關鍵在于:1.采用單套罐體內采用2套提純濾室,克服了普通過濾反洗停產的缺陷;提純濾室采用中心進水,進水管上安裝圓形擴散筒消能,輻射式旋流布水,整個旋流配水裝置由鋼板或其他耐磨材料制成。廢水以6m/s-10m/s的速度沿切向進入圓筒,順著器壁形成向下螺旋渦流。高效提純凈化器中重而大的懸浮顆粒被甩向器壁,并在下旋水流推動和重力作用下沿器壁向下滑動,最后在錐頂形成濃縮液經底流口連續排出。小而輕的懸浮顆粒則隨內層澄清水向下旋轉一定程度后改變方向,形成二次渦流。
2:采用不銹鋼承插式濾帽克服普通產品阻力大、壓降大、抗壓抗老化性能差的弱點,使用壽命大大提高,安全性能更加可靠,整體承載能力高,集水效果好,反洗時布水均勻,不會使濾料受力不均而亂層或跑料;
3.頂、底封頭采用旋壓成型形式進水壓力增大,濾速大大提高(20m/h);濾料粒徑減小(0.5-1.0mm),提純凈化效率大大提高;進出水、反洗電動閥門根據時序控制,通過PLC控制提純凈化器自動運行;所有現場反饋信號與控制室PLC進行連接,通過HMI可遠程在線操作監控,進行技術參數設定,實現故障報警顯示,系統預留以太網接口,通過網絡通訊功能,可實現數據傳輸。
4.可用于煉鋼工業廢水處理外,還可用廣泛應于電鍍廢水、含煤廢水、冶金廢水、重金屬廢水、電力行業廢水等需深層提純凈化的工業廢水處理中,均可使出水水質達標或回用。
為實現本發明目的,提供了以下技術方案:一種高效冶金行業廢水提純凈化器,包括罐體,罐體頂端的出水口、罐體底部的放空口、放空口連接放空管,罐體內設置有提純濾室,其特征在于所述罐體中心設置有隔板分隔成左右兩個提純濾室,所述左右提純濾室均設置于多孔板上,多孔板上安裝有承插式濾帽,多孔板上方設置有濾料層,濾料層從下往上依次設置有卵石墊層、一級硅砂濾料層以及二級硅砂濾料層,左右提純濾室均設置有單獨的旋流配水裝置,旋流配水裝置設置于提純濾室上端,每個旋流配水裝置均連接有一進水支管和一反洗出水管,左右提純濾室中心設置有連通管連接放空口,所述旋流配水裝置包括上部有頂蓋的圓筒、中部為錐形過渡段,下部為直徑大于上部的圓筒,進水支管與上部圓筒切向連接,反洗出水管與下部圓筒相切。
作為優選,每個旋流配水裝置的進水支管均連接進水總管。
作為優選,進水支管分別配有配套對夾式手動蝶閥和對夾式電動蝶閥各2套,反洗出水管分別配有配套對夾式手動蝶閥和對夾式電動蝶閥各2套,放空管配有配套對夾式手動蝶閥1套。
作為優選,進水支管分別配有配套對夾式手動蝶閥和對夾式電動蝶閥與進水總管連接;反洗出水管分別配有配套對夾式手動蝶閥和對夾式電動蝶與水封槽連接;放空管配有配套對夾式手動蝶閥與水封槽連接。
作為優選,旋流配水裝置四周設置有加強筋板。
作為優選,多孔板、隔板材質為碳鋼環氧煤瀝青防腐材質。
作為優選,濾料層的卵石墊層厚200mm,∅4-8mm;一級硅砂濾料層厚200mm,∅2-4mm;二級硅砂濾料層厚600mm,∅0.5-1mm。
作為優選,提純濾室設置有濾料支撐管。
本發明有益效果:
(1)本發明的高效冶金行業廢水提純凈化器具有較高壓力的提純凈化功能:罐內壓力可以達到 0.2-0.3MPa,濾速達到20m/h,比一般過濾器提高2倍以上;
(2)本發明的高效冶金行業廢水提純凈化器高提純凈化量:效果是一般過濾器的2倍以上,且不需要多級提純凈化;
(3)本發明的高效冶金行業廢水提純凈化器提純凈化室上部設置清水倉,作為反洗用水儲備,通過罐內壓力設定,由自動控制系統控制電動閥實現反洗,不需要反洗提升及反洗提升水池,整個系統完全通過電腦控制實現自動,不需要人工操作;
(4)本發明的高效冶金行業廢水提純凈化器還具有設備體積小、無反洗中間提升水池(提升泵等)、占地面積省的優點:本提純凈化器僅需其它相同處理量的傳統過濾裝置的十分之一的占地面積,同時無反洗中間水池,提純凈化器的體積也遠小于其它過濾裝置,建設投資遠遠低于同類產品。
(5)本發明的高效冶金行業廢水提純凈化器壽命長,使用成本低:本提純凈化器具有卓越性能而達到壽命長,維護費用大大減少,操作勞動強度遠遠低于其它過濾器,由于反洗水不需要水泵提升,因此能耗低,使用成本也大為降低。







