申請日2015.07.12
公開(公告)日2015.11.18
IPC分類號F28D7/00; F28F19/02; F28F19/01; F28F9/02
摘要
本實用新型提供一種新型管殼式污水換熱器,包括依次連接的前端管箱、殼體和末端管箱,殼體內設置多個換熱管,前端管箱底部設置污水入口和污物儲納回收管口,前端管箱內部的污水過濾板,末端管箱頂部設置反沖洗進水口,末端管箱底部設置污水出口,污水入口、污物儲納回收管口、反沖洗進水口和污水出口上均設置有控制閥門;在所述換熱管上還設有防腐層,所述防腐層包括覆蓋在所述換熱管的內壁面的內防腐層、依次覆蓋在所述換熱管的外壁面的低腐蝕環氧樹脂層與高固體環氧樹脂層。本實用新型提將過濾過程結合到換熱器內部,省去了附加裝置,結構簡單,可行性好,易維護,易清垢,換熱效果好,另外,還可以提高換熱管的腐蝕性能。
權利要求書
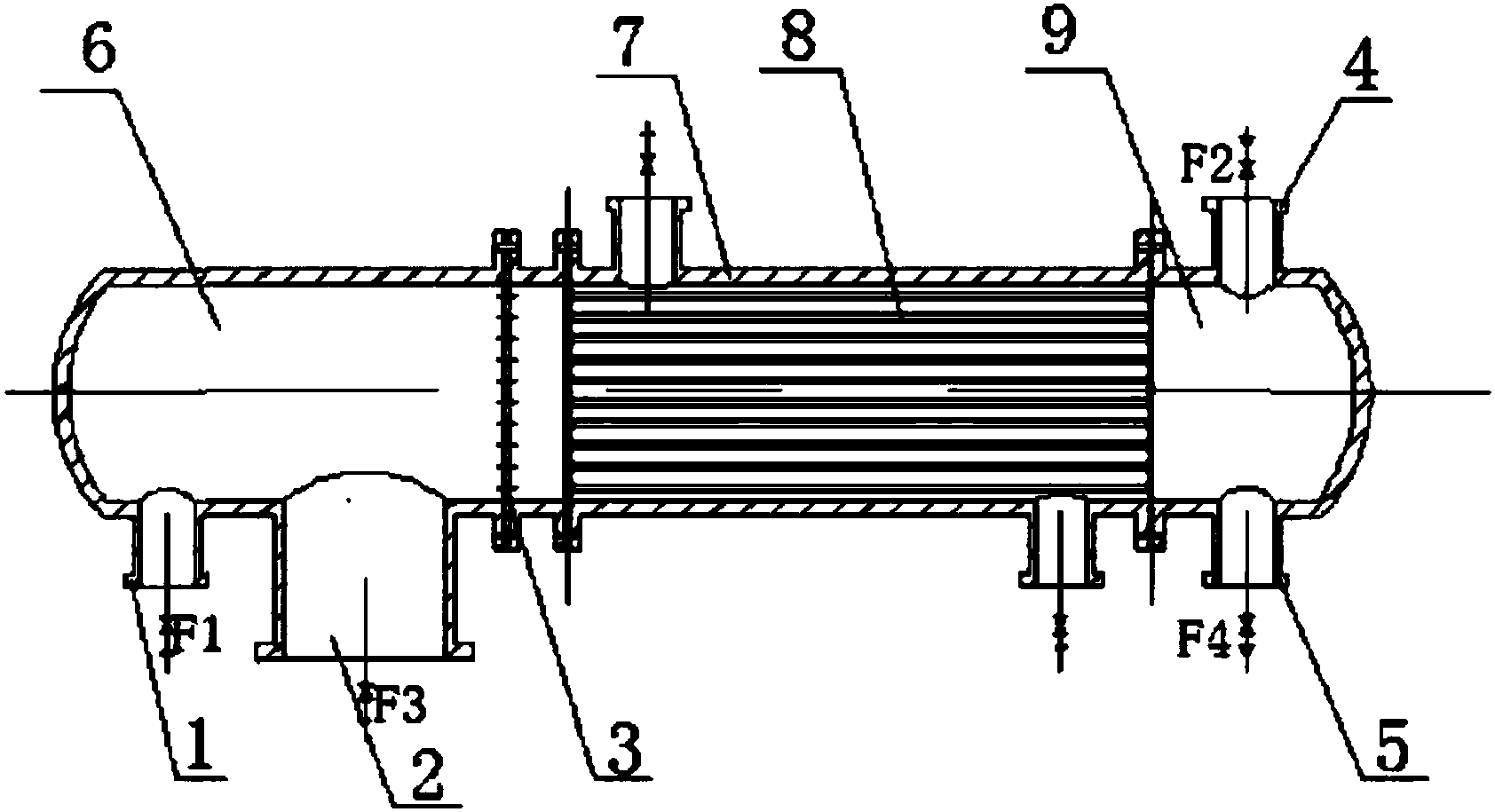
1.一種新型管殼式污水換熱器,包括依次連接的前端管箱(6)、殼體(7) 和末端管箱(9),殼體(7)內設置多個換熱管(8),其特征在于:前端管箱 (6)底部設置污水入口(1)和污物儲納回收管口(2),前端管箱(6)內部 的污水過濾板(3),末端管箱(9)頂部設置反沖洗進水口(4),末端管箱(9) 底部設置污水出口(5),污水入口(1)、污物儲納回收管口(2)、反沖洗進 水口(4)和污水出口(5)上均設置有控制閥門;
在所述換熱管(8)上還設有防腐層,所述防腐層包括覆蓋在所述換熱管 的內壁面的內防腐層(81)、依次覆蓋在所述換熱管的外壁面的低腐蝕環氧樹 脂層(82)與高固體環氧樹脂層(83)。
2.根據權利要求1所述的新型管殼式污水換熱器,其特征在于,污水過 濾板(3)為圓形過濾板,污水過濾板(3)上設置污水通孔,污水過濾板(3) 通過法蘭連接在前端管箱(6)上。
3.根據權利要求1所述的新型管殼式污水換熱器,其特征在于,污物儲 納回收管口(2)為圓管狀腔體,焊接在前端管箱(6)的底部。
4.根據權利要求1至3中任一所述的新型管殼式污水換熱器,其特征在 于,所述內防腐層(81)為改性硅樹脂,其厚度為0.07~0.12mm。
5.根據權利要求4所述的新型管殼式污水換熱器,其特征在于,所述低 腐蝕環氧樹脂層(82)的厚度為0.06~0.08mm。
6.根據權利要求5所述的新型管殼式污水換熱器,其特征在于,所述高 固體環氧樹脂層(83)的厚度為0.12~0.18mm。
說明書
新型管殼式污水換熱器
技術領域
本實用新型涉及一種換熱器,尤其是一種新型管殼式污水換熱器。
背景技術
城市污水源分布廣泛,流量充足,具有巨大的潛在熱能利用價值。污水 源熱泵作為城市污水源熱能的開發利用設備,其核心在于污水換熱器,而污 水換熱器的關鍵技術在于防堵,防垢,防腐蝕和高效換熱。而目前的管殼式 換熱器結構緊湊,構造簡單,操作可靠,應用廣泛,但是對于城市污水,極 容易在管箱內,管程入口端及管程內部形成堵塞和結垢,從而大大影響污水 的流動和換熱。另一方面,現有的污水換熱器構造較復雜,加上單獨設置的 污垢過濾裝置,容易造成熱能的損失,從而影響整體的換熱效率和經濟效益。
發明內容
針對上述問題中存在的不足之處,本實用新型提供一種將過濾過程結合 到換熱器內部,省去了附加裝置,結構簡單,可行性好,易維護,易清垢, 換熱效果好,另外,還可以提高換熱管腐蝕性能的新型管殼式污水換熱器。
為實現上述目的,本實用新型提供一種新型管殼式污水換熱器,包括依 次連接的前端管箱(6)、殼體(7)和末端管箱(9),殼體(7)內設置多個 換熱管(8),前端管箱(6)底部設置污水入口(1)和污物儲納回收管口(2), 前端管箱(6)內部的污水過濾板(3),末端管箱(9)頂部設置反沖洗進水 口(4),末端管箱(9)底部設置污水出口(5),污水入口(1)、污物儲納回 收管口(2)、反沖洗進水口(4)和污水出口(5)上均設置有控制閥門;
在所述換熱管(8)上還設有防腐層,所述防腐層包括覆蓋在所述換熱管 的內壁面的內防腐層(81)、依次覆蓋在所述換熱管的外壁面的低腐蝕環氧樹 脂層(82)與高固體環氧樹脂層(83)。
上述的新型管殼式污水換熱器,其中,污水過濾板(3)為圓形過濾板, 污水過濾板(3)上設置污水通孔,污水過濾板(3)通過法蘭連接在前端管 箱(6)上。
上述的新型管殼式污水換熱器,其中,污物儲納回收管口(2)為圓管狀 腔體,焊接在前端管箱(6)的底部。
上述的新型管殼式污水換熱器,其中,所述內防腐層(81)為改性硅樹 脂,其厚度為0.07~0.12mm。
上述的新型管殼式污水換熱器,其中,所述低腐蝕環氧樹脂層(82)的 厚度為0.06~0.08mm。
上述的新型管殼式污水換熱器,其中,所述高固體環氧樹脂層(83)的 厚度為0.12~0.18mm。
與現有技術相比,本實用新型具有以下優點:
本實用新型通過前端管箱和設置在前端管箱的污水入口、污物儲納回收 管口和污水過濾板形成污水處理腔體,一體化的設計避免了污水熱能的提前 耗散;污水過濾板能有效的過濾生活污水中較大尺寸及長纖維狀污物;污物 儲納回收管口設置在污水處理腔體下部,可以有效的收納流動過程中的沉淀 物,避免阻塞腔體影響流動,在污物儲納回收管口設置控制閥門使得可以定 期釋放回收裝置中的沉淀物,同時污物儲納回收管口可用作反沖洗出水口, 反沖洗進水口設置在末端管箱,可對整個末端管箱和管程進行沖洗。
本實用新型將過濾過程結合到換熱器內部,同時省去了附加裝置,具有 結構簡單,可行性較好,易維護,易清垢,換熱效果好的特點。
另外,由于在換熱管的內管壁與外管壁上分別覆蓋有內防腐層、低腐蝕 環氧樹脂層與高固體環氧樹脂層,從而提高換熱管的防腐性能。







