申請日2014.11.04
公開(公告)日2015.01.28
IPC分類號C02F3/12
摘要
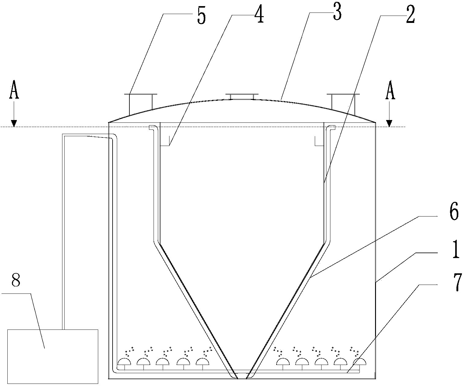
一體化低耗污水處理裝置,包括罐體,所述罐體包括罐蓋、內筒與外筒,內筒為漏斗狀,內筒的底部開有污水流通口,進入外筒內的污水通過污水流通口進入內筒;在外筒的內底部設置有曝氣裝置,曝氣裝置通過進氣管路與位于罐體外的鼓風機相連;所述罐體上安裝有回流管,所述回流管包括進氣口、進漿口、及出漿口,進漿口在內筒下部,出漿口延伸到外筒,所述進氣口與進氣管路相連接。所述污水從外筒進入,經曝氣處理,通過活性污泥法將污水內的污物進行生物降解,然后污水通過污水流通口進入內筒,在內筒通過懸浮污泥法進行過濾、澄清,清水經集水槽、處理水排放端口排出,污泥沉淀并收集在內筒下部漏斗狀部分的底部,通過回流管回流到外筒。
權利要求書
1.一體化低耗污水處理裝置,其特征在于包括罐體,罐體上設置有污水進入端口、處理 水排放端口與排氣口,所述罐體包括罐蓋、內筒與外筒,污水進入端口與排氣端口連通外筒 內部,內筒為漏斗狀,內筒的底部開有污水流通口,進入外筒內的污水通過污水流通口進入 內筒;在外筒的內底部設置有曝氣裝置,所述曝氣裝置通過進氣管路與位于罐體外的鼓風機 相連;所述罐體上安裝有回流管,所述回流管包括進氣口、進漿口、及出漿口,進漿口在內 筒下部,出漿口延伸到外筒,進氣口與進氣管路相連接。
2.如權利要求1所述一體化低耗污水處理裝置,其特征在于,所述外筒為圓筒形。
3.如權利要求1所述一體化低耗污水處理裝置,其特征在于,所述內筒上部有集水槽, 所述集水槽與處理水排放端口相連。
4.如權利要求3所述一體化低耗污水處理裝置,其特征在于,所述集水槽固定在內筒的 內壁,集水槽繞內筒內壁一圈。
5.如權利要求1所述一體化低耗污水處理裝置,其特征在于,所述罐蓋上有檢查口。
6.如權利要求5所述一體化低耗污水處理裝置,其特征在于,所述檢查口有三個。
7.如權利要求1所述一體化低耗污水處理裝置,其特征在于,所述內筒、外筒、罐蓋拼 接安裝在一起。
8.如權利要求1所述一體化低耗污水處理裝置,其特征在于,所述曝氣裝置有旋切式曝 氣器。
說明書
一體化低耗污水處理裝置
技術領域
一種污水處理裝置,具體涉及一種占地面積大、耗能低、凈化效率高、污泥產量小的一 體化污水處理裝置。
背景技術
現代社會的進步和發展離不開水資源,然而人們每天都在大量消耗著地球的水,對污水 進行處理時節約水資源的一個重要方法之一。
現代社會中,污水處理越來越受人們的重視,然而,現有的污水處理技術中,有以下問 題:
一、占地面積大。
二、設備凈化效率低。
三、污泥產量大。
四、運行費用高、操作管理復雜。
實用新型內容
為了解決現有污水處理技術中設備占地面積大、凈化效率低、污泥產量大、運行費用高、 及操作管理復雜的問題,本實用新型提供一種一體化低耗污水處理裝置。
一體化低耗污水處理裝置,包括罐體,罐體上設置有污水進入端口、處理水排放端口與排 氣口,所述罐體包括罐蓋、內筒與外筒,污水進入端口與排氣端口連通外筒內部,內筒為漏 斗狀,內筒的底部開有污水流通口,進入外筒內的污水通過污水流通口進入內筒;在外筒的 內底部設置有曝氣裝置,所述曝氣裝置通過進氣管路與位于罐體外的鼓風機相連;所述罐體 上安裝有回流管,所述回流管包括進氣口、進漿口、及出漿口,進漿口在內筒下部,出漿口 延伸到外筒,進氣口與進氣管路相連接。
優選的,所述外筒為圓筒形。
優選的,所述內筒上部有集水槽,所述集水槽與處理水排放端口相連。
優選的,所述集水槽固定在內筒的內壁,集水槽繞內筒內壁一圈。
優選的,所述罐蓋上有檢查口。
優選的,所述檢查口有三個。
優選的,所述內筒、外筒、罐蓋拼接在一起。
優選的,所述曝氣裝置包括旋切式曝氣器。
本實用新型與現有技術相比,有以下優點。
所述一體化低耗污水處理裝置,可將各種水中污染物通過活性污泥法進行生物降解,通 過懸浮污泥法過濾、澄清,出水可以達標排放并達到回用水的標準,并將污泥通過回流管回 流到外筒。與現有技術中普遍采取工藝技術相比,能自動高效節能地凈化污水,具有占地面 積小、高效、運行費用低、管理簡單、污泥產量低、使用壽命長等特點,能夠更好地滿足各 村鎮、生活小區、學校、度假區等環境保護的實際需要。







