申請日2013.09.16
公開(公告)日2014.03.19
IPC分類號C02F9/08
摘要
本實用新型屬于礦井污水處理技術領域,具體公開了一種新型礦井污水處理裝置,包括進水管、沉淀池、活性炭層、第一閥門、污水處理池、旋轉水泵、紫外燈和第二閥門。本實用新型的一種新型礦井污水處理裝置,一方面合理設計的礦井污水處理裝置,解決了開采煤礦過程中產生的污水處理效率低的問題,提高了污水處理效率(30%左右),另一方面該裝置能夠滿足多種惡劣條件下污水處理需求且污水處理效果好,杜絕水污染問題出現;同時本實用新型維護方便、易推廣。
權利要求書
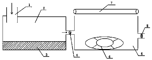
1.一種新型礦井污水處理裝置,其特征在于:包括進水管(1)、沉淀池(2)、活性炭層(3)、第一閥門(4)、污水處理池(5)、旋轉水泵(6)、紫外燈(7)和第二閥門(8);所述進水管(1)設置在沉淀池(2)一側;所述活性炭層(3)設置在沉淀池(2)底部;所述第一閥門(4)設置在沉淀池(2)和污水處理池(5)中間;所述旋轉水泵(6)設置在污水處理池(5)底部;所述紫外燈(7)設置在污水處理池(5)上方;所述第二閥門(8)設置在污水處理池(5)一側。
2.根據權利要求1所述的一種新型礦井污水處理裝置,其特征在于:所述活性炭層(3)厚度為15-20cm。
3.根據權利要求1所述的一種新型礦井污水處理裝置,其特征在于:所述紫外燈(7)可移動。
4.根據權利要求1所述的一種新型礦井污水處理裝置,其特征在于:所述第一閥門(4)和第二閥門(8)通過手動或自動控制。
說明書
一種新型礦井污水處理裝置
技術領域
本實用新型涉及礦井污水處理技術領域,具體涉及一種新型礦井污水處理裝置。
背景技術
從所周知,在煤礦開采過程中對水資源造成污染(尤其是地下水),開礦中產生大量煤粉、巖石粉塵、施工人員的生活用水等,若直接排放大量不經處理的超標污水,直接污染地下水源、破壞地下水系統。
現有開礦中雖然采取污水處理裝置或系統進行污水處理,但是處理效率低且處理效果差,尤其是部分病原體污染物無法進行消毒處理,若直接排放危害極大。
基于上述問題,本實用新型提供一種新型礦井污水處理裝置。
實用新型內容
實用新型目的:本實用新型的目的是針對現有技術的不足,提供一種新型礦井污水處理裝置,解決開采煤礦過程中產生的污水處理效率低及處理效果差的問題,杜絕水污染現象出現、達到環保開采要求。
技術方案:一種新型礦井污水處理裝置,包括進水管、沉淀池、活性炭層、第一閥門、污水處理池、旋轉水泵、紫外燈和第二閥門;所述進水管設置在沉淀池一側;所述活性炭層設置在沉淀池底部;所述第一閥門設置在沉淀池和污水處理池中間;所述旋轉水泵設置在污水處理池底部;所述紫外燈設置在污水處理池上方;所述第二閥門設置在污水處理池一側。
優選的所述活性炭層厚度為15-20cm。
優選的所述紫外燈可移動。
優選的所述第一閥門和第二閥門通過手動或自動控制。
與現有技術相比,本實用新型的有益效果在于:
本實用新型的一種新型礦井污水處理裝置,一方面合理設計的礦井污水處理裝置,解決了開采煤礦過程中產生的污水處理效率低的問題,提高了污水處理效率(30%左右),另一方面該裝置能夠滿足多種惡劣條件下污水處理需求且污水處理效果好,杜絕水污染問題出現;同時本實用新型維護方便、易推廣。







