公布日:2024.06.14
申請日:2024.03.11
分類號:C02F1/50(2023.01)I;B01F27/90(2022.01)I
摘要
本發明公開了一種污水滅菌處理裝置及處理方法,處理裝置包括殺菌罐、注料裝置和混料裝置,殺菌罐的上端設置有污水管,注料裝置包括注料筒、往復活塞,注料管與殺菌罐一側相連,注料管上設置有第一單向閥;混料裝置包括有混料罐和輸送管,輸送管延伸至混料罐內液體液面以下,輸送管與注料筒相連且相連處位于往復活塞的靠近注料管一側,輸送管上設置有控制內部流體向注料筒單向流通的第二單向閥,往復活塞沿注料筒軸向移動將混料罐中物料抽吸至注料筒中并從注料管向殺菌罐中輸送。本發明實現對污水殺菌處理同時,通過將粉狀的漂白粉先進行預混合,再將漂白粉溶劑與污水混合進行殺菌,從而提高混合的均勻性,提高滅菌效果。

權利要求書
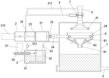
1.一種污水滅菌處理裝置,其特征在于:包括殺菌罐(1)、注料裝置(2)和混料裝置(3),所述殺菌罐(1)的上端設置有向殺菌罐(1)注入污水的污水管(4),所述殺菌罐(1)的底部設置有將殺菌罐(1)中處理水排出的排水管(5);所述注料裝置(2)包括注料筒(21)、設置在注料筒(21)一端的注料管(22)和位于注料筒(21)中的往復活塞(23),所述注料管(22)與殺菌罐(1)一側相連以向殺菌罐(1)中輸送殺菌劑,所述注料管(22)上設置有控制內部流體向殺菌罐(1)單向流通的第一單向閥(24);所述混料裝置(3)包括有混料罐(31)和輸送管(32),所述輸送管(32)延伸至混料罐(31)內液體液面以下,所述輸送管(32)與注料筒(21)相連且相連處位于往復活塞(23)的靠近注料管(22)一側,所述輸送管(32)上設置有控制內部流體向注料筒(21)單向流通的第二單向閥(33),所述往復活塞(23)沿注料筒(21)軸向移動將混料罐(31)中物料抽吸至注料筒(21)中并從注料管(22)向殺菌罐(1)中輸送;所述混料罐(31)的一側固定連接有送料管(34),所述送料管(34)中轉動連接有第一轉軸(35),所述第一轉軸(35)上設置有第一螺旋葉片(36),所述送料管(34)的上方設置有加料斗(37),所述加料斗(37)的底部開設有將加料斗(37)內部與送料管(34)內腔連通的送料孔,所述送料管(34)的遠離混料罐(31)的一端安裝有第一驅動電機(38),所述第一驅動電機(38)的輸出軸與第一轉軸(35)傳動連接以驅動第一轉軸(35)旋轉;所述送料管(34)穿過混料罐(31)側壁延伸至混料罐(31)內以將殺菌粉料輸送至混料罐(31)中,所述混料罐(31)的中部轉動連接有豎直布置的第二轉軸(39),所述第二轉軸(39)的下端延伸至混料罐(31)內液體液面以下并固定連接有攪拌桿(310),所述第一轉軸(35)延伸至混料罐(31)中并與第二轉軸(39)通過錐齒輪傳動以驅動第二轉軸(39)旋轉;所述注料筒(21)的外壁上連接有控制管(6),所述控制管(6)位于往復活塞(23)遠離注料管(22)一側,所述污水管(4)上設置有控制閥體(7),所述控制閥體(7)中活動連接有控制污水管(4)通斷的閘板(71),所述控制閥體(7)內設置有控制腔(701),所述控制腔(701)內設置有滑動板(72),所述滑動板(72)與閘板(71)之間通過固定桿(73)固定連接,所述控制管(6)與控制閥體(7)相連并與控制腔(701)連通,往復活塞(23)向遠離注料管(22)方向移動時往復活塞(23)遠離注料管(22)一側液體注入至控制腔(701)中推動滑動板(72)將閘板(71)向污水管(4)內移動將污水管(4)關閉。
2.根據權利要求1所述的一種污水滅菌處理裝置,其特征在于:所述混料罐(31)的上端連接有加水管(311),所述加水管(311)與污水管(4)相連以將污水管(4)中的水引入至混料罐(31)中,所述加水管(311)上連接有調節加水流量的流量閥(312)。
3.根據權利要求1所述的一種污水滅菌處理裝置,其特征在于:所述注料管(22)中轉動連接有第三轉軸(25),所述第三轉軸(25)的外壁上設置有撥片(26),所述撥片(26)沿第三轉軸(25)的軸向傾斜布置以在水流經過時驅動第三轉軸(25)旋轉,所述第三轉軸(25)的端部延伸至注料筒(21)中并固定連接有攪拌棒(27)。
4.根據權利要求3所述的一種污水滅菌處理裝置,其特征在于:所述注料管(22)的管徑小于注料筒(21)的內徑,所述撥片(26)位于注料管(22)中,所述撥片(26)沿第三轉軸(25)的軸心圓周陣列布置有多個。
5.根據權利要求1所述的一種污水滅菌處理裝置,其特征在于:所述污水管(4)的下端延伸至殺菌罐(1)的內部并固定連接有出水管(41),所述注料管(22)延伸至殺菌罐(1)中并固定連接有噴水管(28),所述殺菌罐(1)中設置有接水盤(8),所述接水盤(8)位于出水管(41)的下方,所述接水盤(8)的底部開設有落水孔(81),所述噴水管(28)設置在接水盤(8)內部,所述噴水管(28)的管壁上開設有噴水孔,所述出水管(41)的底部開設有向下出水的出水孔,所述出水管(41)中向下水流與噴水管(28)噴出的殺菌劑水流在接水盤(8)中匯流混合后從落水孔(81)流至殺菌罐(1)的底部。
6.根據權利要求5所述的一種污水滅菌處理裝置,其特征在于:所述接水盤(8)中設置有接水凹槽(82),所述接水凹槽(82)位于出水孔的下方,所述接水盤(8)內位于接水凹槽(82)內側設置有向上凸起的擋水圈(83),所述擋水圈(83)的上端面低于接水盤(8)的外邊沿上端面以使得水流從擋水圈(83)溢出至落水孔(81)中。
7.根據權利要求1所述的一種污水滅菌處理裝置,其特征在于:所述往復活塞(23)固定連接有推移桿(29),所述注料筒(21)遠離殺菌罐(1)一端安裝有直線驅動裝置(210),所述直線驅動裝置(210)的驅動端與推移桿(29)固定連接以驅動推移桿(29)沿注料筒(21)軸向往復移動。
8.一種污水滅菌處理方法,應用于權利要求1-7任一項所述的一種污水滅菌處理裝置,其特征在于:按如下步驟:1、將污水通過管路接入污水管(4)中,將漂白粉殺菌劑投入至加料斗(37)中;2、啟動第一驅動電機(38)帶動第一轉軸(35)旋轉,第一轉軸(35)旋轉將從加料斗(37)落入送料管(34)的漂白粉輸送至混料罐(31)中,同時驅動第二轉軸(39)旋轉,使得攪拌桿(310)轉動對混料罐(31)中的污水及漂白粉進行初步混合成高濃度的漂白粉混合液;3、啟動直線驅動裝置(210),通過直線驅動裝置(210)驅動往復活塞(23)沿注料筒(21)軸向往復移動,將混料罐(31)中漂白粉混合液輸送至殺菌罐(1)中,與污水進行混合對污水進行滅菌;4、殺菌罐(1)中的漂白粉混合液與污水進行混合對污水進行滅菌,混合漂白粉殺菌劑的污水從排水管(5)排出進行下一步處理。
發明內容
本發明目的是解決上述技術問題,提供一種污水滅菌處理裝置及處理方法。
為了實現上述目的,本發明采用以下技術方案予以實現:
一種污水滅菌處理裝置,包括殺菌罐、注料裝置和混料裝置,所述殺菌罐的上端設置有向殺菌罐注入污水的污水管,所述殺菌罐的底部設置有將殺菌罐中處理水排出的排水管;所述注料裝置包括注料筒、設置在注料筒一端的注料管和位于注料筒中的往復活塞,所述注料管與殺菌罐一側相連以向殺菌罐中輸送殺菌劑,所述注料管上設置有控制內部流體向殺菌罐單向流通的第一單向閥;所述混料裝置包括有混料罐和輸送管,所述輸送管延伸至混料罐內液體液面以下,所述輸送管與注料筒相連且相連處位于往復活塞的靠近注料管一側,所述輸送管上設置有控制內部流體向注料筒單向流通的第二單向閥,所述往復活塞沿注料筒軸向移動將混料罐中物料抽吸至注料筒中并從注料管向殺菌罐中輸送。
進一步的,所述混料罐的一側固定連接有送料管,所述送料管中轉動連接有第一轉軸,所述第一轉軸上設置有第一螺旋葉片,所述送料管的上方設置有加料斗,所述加料斗的底部開設有將加料斗內部與送料管內腔連通的送料孔,所述送料管的遠離混料罐的一端安裝有第一驅動電機,所述第一驅動電機的輸出軸與第一轉軸傳動連接以驅動第一轉軸旋轉;所述送料管穿過混料罐側壁延伸至混料罐內以將殺菌粉料輸送至混料罐中,所述混料罐的中部轉動連接有豎直布置的第二轉軸,所述第二轉軸的下端延伸至混料罐內液體液面以下并固定連接有攪拌桿,所述第一轉軸延伸至混料罐中并與第二轉軸通過錐齒輪傳動以驅動第二轉軸旋轉。
進一步的,所述混料罐的上端連接有加水管,所述加水管與污水管相連以將污水管中的水引入至混料罐中,所述加水管上連接有調節加水流量的流量閥。
進一步的,所述注料管中轉動連接有第三轉軸,所述第三轉軸的外壁上設置有撥片,所述撥片沿第三轉軸的軸向傾斜布置以在水流經過時驅動第三轉軸旋轉,所述第三轉軸的端部延伸至注料筒中并固定連接有攪拌棒。
進一步的,所述注料管的管徑小于注料筒的內徑,所述撥片位于注料管中,所述撥片沿第三轉軸的軸心圓周陣列布置有多個。
進一步的,所述注料筒的外壁上連接有控制管,所述控制管位于往復活塞遠離注料管一側,所述污水管上設置有控制閥體,所述控制閥體中活動連接有控制污水管通斷的閘板,所述控制閥體內設置有控制腔,所述控制腔內設置有滑動板,所述滑動板與閘板之間通過固定桿固定連接,所述控制管與控制閥體相連并與控制腔連通,往復活塞向遠離注料管方向移動時往復活塞遠離注料管一側液體注入至控制腔中推動滑動板將閘板向污水管內移動將污水管關閉。
進一步的,所述污水管的下端延伸至殺菌罐的內部并固定連接有出水管,所述注料管延伸至殺菌罐中并固定連接有噴水管,所述殺菌罐中設置有接水盤,所述接水盤位于出水管的下方,所述接水盤的底部開設有落水孔,所述噴水管設置在接水盤內部,所述噴水管的管壁上開設有噴水孔,所述出水管的底部開設有向下出水的出水孔,所述出水管中向下水流與噴水管噴出的殺菌劑水流在接水盤中匯流混合后從落水孔流至殺菌罐的底部。
進一步的,所述接水盤中設置有接水凹槽,所述接水凹槽位于出水孔的下方,所述接水盤內位于接水凹槽內側設置有向上凸起的擋水圈,所述擋水圈的上端面低于接水盤的外邊沿上端面以使得水流從擋水圈溢出至落水孔中。
進一步的,所述往復活塞固定連接有推移桿,所述注料筒遠離殺菌罐一端安裝有直線驅動裝置,所述直線驅動裝置的驅動端與推移桿固定連接以驅動推移桿沿注料筒軸向往復移動。
一種污水滅菌處理方法,應用于上述一種污水滅菌處理裝置,按如下步驟:
1、將污水通過管路接入污水管中,將漂白粉殺菌劑投入至加料斗中;
2、啟動第一驅動電機帶動第一轉軸旋轉,第一轉軸旋轉將從加料斗落入送料管的漂白粉輸送至混料罐中,同時驅動第二轉軸旋轉,使得攪拌桿轉動對混料罐中的污水及漂白粉進行初步混合成高濃度的漂白粉混合液;
3、啟動直線驅動裝置,通過直線驅動裝置驅動往復活塞沿注料筒軸向往復移動,將混料罐中漂白粉混合液輸送至殺菌罐中,與污水進行混合對污水進行滅菌;
4、殺菌罐中的漂白粉混合液與污水進行混合對污水進行滅菌,混合漂白粉殺菌劑的污水從排水管排出進行下一步處理。
本發明提供的一種污水滅菌處理裝置及處理方法,具有以下有益效果:通過混料裝置將漂泊粉與污水進行初步混合成高濃度的漂白粉溶劑,通過注料裝置將混料罐中的漂白粉溶劑注入至殺菌罐中對污水進行滅菌,實現對污水殺菌處理,同時,通過將粉狀的漂白粉先進行預混合為液態的漂白粉溶劑,再將液體的漂白粉溶劑與污水混合進行殺菌,從而提高混合的均勻性,提高滅菌效果;通過往復活塞在注料筒中往復移動,從而將混料罐中的漂白粉溶劑單向輸送至殺菌罐中對污水進行滅菌。
(發明人:吳東;寧莉;姚燕;萬靜靜;高潔;周章宇;黃瑞)






