公布日:2024.06.04
申請日:2024.04.02
分類號:C02F3/34(2023.01)I;C02F1/00(2023.01)I
摘要
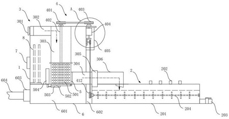
本發明涉及沼液污水處理技術領域,具體涉及一種用于沼液污水的處理設備,包括處理罐,該處理罐內安裝有進液管機構,該處理罐的右側底部安裝有沼液處理池,該處理罐的底面安裝有過濾物處理池;所述進液管機構的下部安裝有旋轉式自清理過濾網機構;所述處理罐右側上部安裝有驅動機構,驅動旋轉式自清理過濾網機構旋轉動作及沼液處理池中的攪拌槳旋轉;它具有能夠在沼液進入處理池時,將沼液中的雜質進行過濾,實現分離;進口處設置有旋轉式過濾機構,從而不會形成堵塞。

權利要求書
1.一種用于沼液污水的處理設備,其特征在于:包括處理罐,該處理罐內安裝有進液管機構,該處理罐的右側底部安裝有沼液處理池,該處理罐的底面安裝有過濾物處理池;所述進液管機構的下部安裝有旋轉式自清理過濾網機構;所述處理罐右側上部安裝有驅動機構,驅動旋轉式自清理過濾網機構旋轉動作及沼液處理池中的攪拌槳旋轉。
2.根據權利要求1所述的一種用于沼液污水的處理設備,其特征在于:所述處理罐內底面左側安裝有加熱棒。
3.根據權利要求1所述的一種用于沼液污水的處理設備,其特征在于:所述處理罐左側下部安裝有控制箱,控制箱的前面安裝有若干控制按鈕,控制箱內安裝有線路板,線路板上安裝有PLC控制器,PLC控制器通過防水絕緣導線分別與驅動機構中的雙頭電機、旋轉式自清理過濾網機構中的氣缸相連。
4.根據權利要求1所述的一種用于沼液污水的處理設備,其特征在于:所述進液管機構包括安裝在處理罐內中部的第一豎向管,第一豎向管的頂端安裝有與其相連通的第二水平進料管;所述第一豎向管的右側設置有出液開口,出液開口與第三水平出液管相連,第三水平出液管相連的右側端穿插過處理罐右側下部相對應的開孔,與第四倒L形出液管相連通,第四倒L形出液管的左側端處安裝有第一水泵,第四倒L形出液管的右端出口與沼液處理池相連通。
5.根據權利要求1所述的一種用于沼液污水的處理設備,其特征在于:所述旋轉式自清理過濾網機構包括安裝在第一豎向管下部內壁四周的若干個短彈簧,每個短彈簧的外端頭安裝有弧形刷;若干個短彈簧的上方安裝有環形遮板;所述第一豎向管內下部安裝有筒形過濾網,筒形過濾網的頂端四周均勻安裝有三個連桿,三個連桿的內端與中心盤相連;所述筒形過濾網的外端邊緊抵在若干弧形刷的內側面上;所述第一豎向管的底面上鉸接有底托板,底托板的內壁四周嵌設有密封膠圈,該底托板的底面左側安裝有液壓支撐桿,液壓支撐桿與豎向氣缸的缸軸鉸接;豎向氣缸安裝在處理罐內底面左側。
6.根據權利要求5所述的一種用于沼液污水的處理設備,其特征在于:所述連桿為三角形桿體,連桿的三角尖頭朝向第一豎向管的頂面。將連桿設置為三角形桿體,這樣能夠沼液中的顆粒殘屑滯留在連桿上。
7.根據權利要求1所述的一種用于沼液污水的處理設備,其特征在于:所述沼液處理池包括與第一處理池,第一處理池內安裝有水平攪拌槳,第一處理池的頂面右側安裝有輔助進口;所述第一處理池右側底部安裝有排出管,排出管上安裝有電磁閥。
8.根據權利要求1所述的一種用于沼液污水的處理設備,其特征在于:所述驅動機構包括安裝在處理罐右側上部的控制箱,控制箱的底面為開口狀,該控制箱內左側上部安裝有雙頭電機,雙頭電機的頂端機軸與安裝在控制箱頂面左側第一軸承上的第一同步輪相連,第一同步輪通過第一同步帶與第二同步輪相連,第二同步輪安裝在第二軸承上,第二軸承安裝在處理罐的頂面上,第二同步輪的底面中部設置有第一轉軸;第一轉軸的底端穿插過處理罐頂面相對應的通孔,與旋轉式自清理過濾網機構中的中心盤相連,驅動中心盤旋轉;所述雙頭電機的底端機軸與第三傘形齒輪相連,第三傘形齒輪與第四傘形齒輪,第四傘形齒輪的外側面中部設置有水平短桿,水平短桿的外端上設置有第五同步輪,第五同步輪通過第二同步帶與第六同步輪;所述第六同步輪與第一處理池中的水平攪拌槳相連。
9.根據權利要求1所述的一種用于沼液污水的處理設備,其特征在于:所述過濾物處理池包括安裝在處理罐底面上的第二處理池,第二處理池右側設置有豎向隔板,分隔成污泥左室和齒輪右室;所述第二處理池左側面安裝有污泥泵,污泥泵與排污管相連。
發明內容
本發明的目的在于針對現有技術的缺陷和不足,提供一種用于沼液污水的處理設備。
本發明所述的一種用于沼液污水的處理設備,包括處理罐,該處理罐內安裝有進液管機構,該處理罐的右側底部安裝有沼液處理池,該處理罐的底面安裝有過濾物處理池;所述進液管機構的下部安裝有旋轉式自清理過濾網機構;所述處理罐右側上部安裝有驅動機構,驅動旋轉式自清理過濾網機構旋轉動作及沼液處理池中的攪拌槳旋轉。
進一步地,所述處理罐內底面左側安裝有加熱棒。通過安裝加熱棒,來保護處理罐內的溫度,從而保證在天氣寒冷時,其不易凍結。
進一步地,所述處理罐左側下部安裝有控制箱,控制箱的前面安裝有若干控制按鈕,控制箱內安裝有線路板,線路板上安裝有PLC控制器,PLC控制器通過防水絕緣導線分別與驅動機構中的雙頭電機、旋轉式自清理過濾網機構中的氣缸相連。
進一步地,所述進液管機構包括安裝在處理罐內中部的第一豎向管,第一豎向管的頂端安裝有與其相連通的第二水平進料管;所述第一豎向管的右側設置有出液開口,出液開口與第三水平出液管相連,第三水平出液管相連的右側端穿插過處理罐右側下部相對應的開孔,與第四倒L形出液管相連通,第四倒L形出液管的左側端處安裝有第一水泵,第四倒L形出液管的右端出口與沼液處理池相連通。
進一步地,所述旋轉式自清理過濾網機構包括安裝在第一豎向管下部內壁四周的若干個短彈簧,每個短彈簧的外端頭安裝有弧形刷;若干個短彈簧的上方安裝有環形遮板;所述第一豎向管內下部安裝有筒形過濾網,筒形過濾網的頂端四周均勻安裝有三個連桿,三個連桿的內端與中心盤相連;所述筒形過濾網的外端邊緊抵在若干弧形刷的內側面上;所述第一豎向管的底面上鉸接有底托板,底托板的內壁四周嵌設有密封膠圈,該底托板的底面左側安裝有液壓支撐桿,液壓支撐桿與豎向氣缸的缸軸鉸接;豎向氣缸安裝在處理罐內底面左側。
進一步地,所述連桿為三角形桿體,連桿的三角尖頭朝向第一豎向管的頂面。將連桿設置為三角形桿體,這樣能夠沼液中的顆粒殘屑滯留在連桿上。
進一步地,所述沼液處理池包括與第一處理池,第一處理池內安裝有水平攪拌槳,第一處理池的頂面右側安裝有輔助進口;所述第一處理池右側底部安裝有排出管,排出管上安裝有電磁閥。
進一步地,所述驅動機構包括安裝在處理罐右側上部的控制箱,控制箱的底面為開口狀,該控制箱內左側上部安裝有雙頭電機,雙頭電機的頂端機軸與安裝在控制箱頂面左側第一軸承上的第一同步輪相連,第一同步輪通過第一同步帶與第二同步輪相連,第二同步輪安裝在第二軸承上,第二軸承安裝在處理罐的頂面上,第二同步輪的底面中部設置有第一轉軸;第一轉軸的底端穿插過處理罐頂面相對應的通孔,與旋轉式自清理過濾網機構中的中心盤相連,驅動中心盤旋轉;所述雙頭電機的底端機軸與第三傘形齒輪相連,第三傘形齒輪與第四傘形齒輪,第四傘形齒輪的外側面中部設置有水平短桿,水平短桿的外端上設置有第五同步輪,第五同步輪通過第二同步帶與第六同步輪;所述第六同步輪與第一處理池中的水平攪拌槳相連。
進一步地,所述過濾物處理池包括安裝在處理罐底面上的第二處理池,第二處理池右側設置有豎向隔板,分隔成污泥左室和齒輪右室;所述第二處理池左側面安裝有污泥泵,污泥泵與排污管相連。
本發明有益效果為:本發明所述的一種用于沼液污水的處理設備,它采用在處理罐內安裝有進液管機構,處理罐的右側底部安裝有沼液處理池,處理罐的底面安裝有過濾物處理池;進液管機構的下部安裝有旋轉式自清理過濾網機構;處理罐右側上部安裝有驅動機構,驅動旋轉式自清理過濾網機構旋轉動作及沼液處理池中的攪拌槳旋轉;它具有能夠在沼液進入處理池時,將沼液中的雜質進行過濾,實現分離;進口處設置有旋轉式過濾機構,從而不會形成堵塞。
(發明人:時有宇;莫明和;晏玲;李向東;樊艷蓉;毛俞升;何家德;管和平)






