申請日2017.10.10
公開(公告)日2018.02.13
IPC分類號B01D53/84; B01D53/48; C02F1/78; B01D53/76
摘要
本發明公開一種污水廠臭氧與臭氣協同凈化系統,其特征在于:污水廠污水處理系統包括臭氧接觸池,所述臭氣凈化系統包括用于收集污水處理單元臭氣的臭氣收集單元;用于對臭氣進行預處理的臭氣預處理單元,所述臭氣預處理單元與臭氧接觸池的臭氧尾氣收集器相連通,通過臭氧對臭氣進行預處理;和對臭氣進行生物處理的生物處理單元,所述生物處理單元包括生物填料反應塔,經臭氣收集單元收集的臭氣經過臭氣預處理單元的臭氣氧化后進入生物填料反應塔內通過生物處理進行處理后排出。本發明利用臭氧預處理后再由進行生物除臭,使系統得到優化,提升了整體的除臭效果。
權利要求書
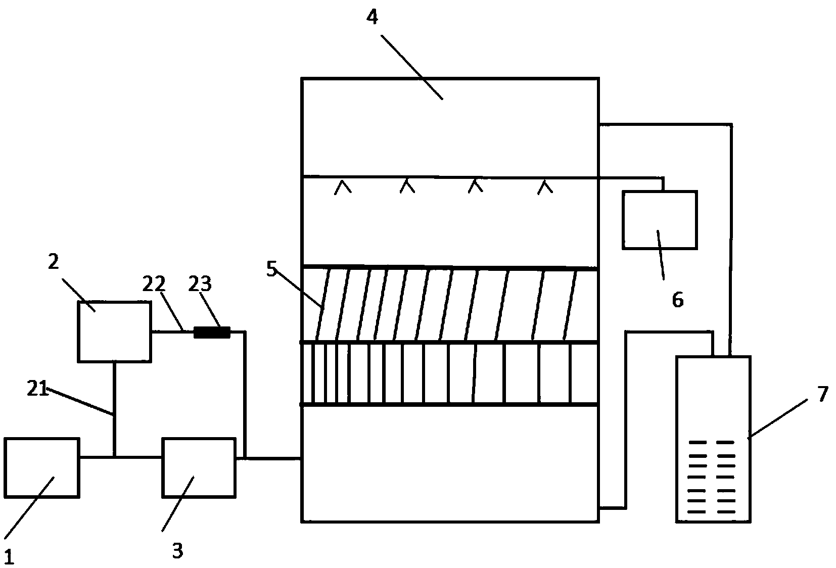
1.一種污水廠臭氧與臭氣協同凈化系統,其特征在于:污水廠污水處理系統包括臭氧接觸池,所述臭氣凈化系統包括用于收集污水處理單元臭氣的臭氣收集單元;用于對臭氣進行預處理的臭氣預處理單元,所述臭氣預處理單元與臭氧接觸池的臭氧尾氣收集器相連通,通過臭氧對臭氣進行預處理;和對臭氣進行生物處理的生物處理單元,所述生物處理單元包括生物填料反應塔,經臭氣收集單元收集的臭氣經過臭氣預處理單元的臭氣氧化后進入生物填料反應塔內通過生物處理進行處理后排出。
2.根據權利要求1所述的污水廠臭氧與臭氣協同凈化系統,其特征在于:所述臭氣預處理單元包括與臭氧接觸池的臭氧尾氣收集器相連通的臭氧輸送管道和臭氧破壞器,所述臭氧輸送管道包括第一臭氧輸送管道和第二臭氧輸送管道,所述第一臭氧輸送管道與所述臭氣收集單元的臭氣輸送管道相連通,所述第二臭氧輸送管道上設置有臭氧破壞器,所述第一臭氧輸送管道和臭氣輸送管道經預處理反應后和第二臭氧輸送管道破壞后的氣體匯合后進入所述生物填料反應塔的下部。
3.根據權利要求2所述的污水廠臭氧與臭氣協同凈化系統,其特征在于:臭氣輸送管道和臭氧輸送管道上設置氣體控制閥。
4.根據權利要求1所述的污水廠臭氧與臭氣協同凈化系統,其特征在于:所述生物填料反應塔由下往上依次設置的配氣空間,填料層,設置于所述配氣空間的進氣管,設置于所述生物填料反應塔的上部的排氣管,設置于所述生物填料反應塔的上部的排液管,所述進氣管內設置有進氣閥,所述排氣管道內設置有排氣閥。
5.根據權利要求4所述的污水廠臭氧與臭氣協同凈化系統,其特征在于:所述填料層至少分二層,填料采用錯開安裝,下層填料密集,上層填料疏松,所述填料為復合纖維填料,包括有機生物填料和惰性填料。
6.根據權利要求4所述的污水廠臭氧與臭氣協同凈化系統,其特征在于:還包括用于向填料層上的填料內補充生物填料液的生物填料加藥泵。
7.根據權利要求1所述的生物填料反應塔,其特征在于,還包括與所述排液管相連通的緩沖溶液池,用于中和反應后的液體。
8.根據權利要求1所述的生物填料反應塔,其特征在于,還包括設置于所述生物填料反應塔上部的高壓霧化噴頭,所述的高壓霧化噴頭與外部水源相連通。
說明書
一種污水廠臭氧與臭氣協同凈化系統
技術領域
本發明屬于污水處理技術領域,具體是污水處理廠臭氣凈化系統。
背景技術
隨著我國污水處理產業化的發展,到2010年,我國設區市城市污水處理率將不低于70%,將有一大批污水處理廠陸續建成,同時也產生了新的大量污染源——臭氣。污水處理廠惡臭發生源主要有粗格柵、沉砂池、曝氣池、回流泵房、脫水機房及污泥堆場等場所。污水中的惡臭物質向大氣擴散受到水溫、pH、水質、曝氣池的布局設計、廠周邊建筑物的密度及氣象條件等因素的影響,每座污水處理廠惡臭濃度大小不同。而且惡臭多是無組織排放,即使同一座污水廠,其不同地點惡臭濃度也不同。它作為一種典型的環境公害已為世界各國所公認,不少發達國家將其作為一種單列公害進行研究,并專項立法實施防治。國外對惡臭污染的治理工作也開展較早,在日本及歐美的多個工業領域中,采用如固定床式活性炭吸附脫臭等技術已有一定歷史。近年來,我國也開始重視對惡臭的監測與防治,制訂了部分惡臭化合物的排放標準(GB 14554-93)和配套的分析方法。
目前國際國內治理惡臭的手段主要采用:目前國際國內治理惡臭的手段主要采用:1、直接燃燒法;2、催化氧化法;3、臭氧除臭法;4、活性炭吸附法;5、藥液噴淋法等等;6、生物除臭法等。但單一處理設備在不同程度上存在設備投資高,運行成本高,處理氣量小,工作不穩定,脫臭效率不高等問題。因此尋找一種設計合理,能有效降低投資成本和運行成本的臭氣凈化系統。
發明內容
為了解決上述問題,本發明的目的在于提供一種污水廠臭氧與臭氣協同凈化系統,該污水廠污水處理系統包括臭氧接觸池,所述臭氣凈化系統包括用于收集污水處理單元臭氣的臭氣收集單元;用于對臭氣進行預處理的臭氣預處理單元,所述臭氣預處理單元與臭氧接觸池的臭氧尾氣收集器相連通,通過臭氧對臭氣進行預處理;和對臭氣進行生物處理的生物處理單元,所述生物處理單元包括生物填料反應塔,經臭氣收集單元收集的臭氣經過臭氣預處理單元的臭氣氧化后進入生物填料反應塔內通過生物處理進行處理后排出。
進一步地,所述污水廠臭氧與臭氣協同凈化系統中,所述臭氣預處理單元包括與臭氧接觸池的臭氧尾氣收集器相連通的臭氧輸送管道和臭氧破壞器,所述臭氧輸送管道包括第一臭氧輸送管道和第二臭氧輸送管道,所述第一臭氧輸送管道與所述臭氣收集單元的臭氣輸送管道相連通,所述第二臭氧輸送管道上設置有臭氧破壞器,所述第一臭氧輸送管道和臭氣輸送管道經預處理反應后和第二臭氧輸送管道破壞后的氣體匯合后進入所述生物填料反應塔的下部。
進一步地,所述污水廠臭氧與臭氣協同凈化系統中,臭氣輸送管道和臭氧輸送管道上設置氣體控制閥。
進一步地,所述污水廠臭氧與臭氣協同凈化系統中,所述生物填料反應塔由下往上依次設置的配氣空間,填料層,設置于所述配氣空間的進氣管,設置于所述生物填料反應塔的上部的排氣管,設置于所述生物填料反應塔的上部的排液管,所述進氣管內設置有進氣閥,所述排氣管道內設置有排氣閥。
進一步地,所述污水廠臭氧與臭氣協同凈化系統中,所述填料層至少分二層,填料采用錯開安裝,下層填料密集,上層填料疏松,所述填料為復合纖維填料,包括有機生物填料和惰性填料。
進一步地,所述污水廠臭氧與臭氣協同凈化系統中,還包括用于向填料層上的填料內補充生物填料液的生物填料加藥泵。
進一步地,所述污水廠臭氧與臭氣協同凈化系統中,還包括與所述排液管相連通的緩沖溶液池,用于中和反應后的液體。
進一步地,所述污水廠臭氧與臭氣協同凈化系統中,還包括設置于所述生物填料反應塔上部的高壓霧化噴頭,所述的高壓霧化噴頭與外部水源相連通。
有益效果:
本發明對臭氣進行臭氧預處理除臭后再由生物填料反應塔進行生物除臭,不但使臭氧接觸池的尾氣得到有效的利用,避免了臭氧能源的浪費,而且還節約了生物填料反應塔設備投入,減少了生物填料反應塔的體積,同時由于增大了生物填料反應塔的氣體流量,風阻減少,同時高壓霧化噴頭使得生物填料反應塔內的濕氣更均勻,使得氣液接觸更加充分,反應更加充分,提升了整體的除臭效果。



