申請日2016.07.20
公開(公告)日2017.01.04
IPC分類號C02F9/10
摘要
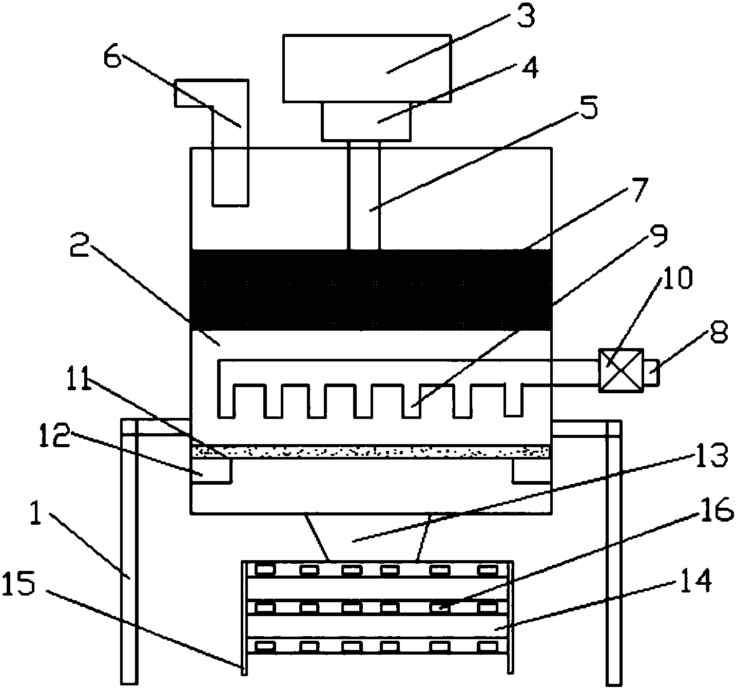
本實用新型公開了一種污水過濾裝置,包括機架和過濾桶,所述過濾桶固定設置于支架上,所述過濾桶上部左端設置有進液口,所述過濾桶內腔中部設置有高密度過濾網,所述高密度過濾網上端粘接有推動桿,所述推動桿穿過過濾桶連接至活塞,所述活塞通過氣缸驅動,位于所述高密度過濾網下方的過濾桶內腔設置有清洗管道,所述清洗管道伸出過濾桶外,所述清洗管道上設置有清洗泵,所述清洗管道上設置有若干個清洗分支,所述過濾桶下端部設置有清洗濾芯,所述清洗濾芯通過支撐桿支撐設置于過濾桶內,所述過濾桶底端設置有出液口,所述出液口下端設置有蒸發裝置,所述蒸發裝置包括架體和若干層水槽,所述水槽層疊于架體上,所述水槽呈矩形。
權利要求書
1.一種污水過濾裝置,包括機架和過濾桶,其特征在于:所述過濾桶固定設置于支架上,所述過濾桶上部左端設置有進液口,所述過濾桶內腔中部設置有高密度過濾網,所述高密度過濾網上端粘接有推動桿,所述推動桿穿過過濾桶連接至活塞,所述活塞通過氣缸驅動,位于所述高密度過濾網下方的過濾桶內腔設置有清洗管道,所述清洗管道伸出過濾桶外,所述清洗管道上設置有清洗泵,所述清洗管道上設置有若干個清洗分支,所述過濾桶下端部設置有清洗濾芯,所述清洗濾芯通過支撐桿支撐設置于過濾桶內,所述過濾桶底端設置有出液口,所述出液口下端設置有蒸發裝置,所述蒸發裝置包括架體和若干層水槽,所述水槽層疊于架體上,所述水槽呈矩形。
2.根據權利要求1所述的一種污水過濾裝置,其特征在于,所述過濾桶為耐腐蝕的不銹鋼材料制成。
3.根據權利要求1所述的一種污水過濾裝置,其特征在于,所述進液口處設置有壓力傳感器。
4.根據權利要求1所述的一種污水過濾裝置,其特征在于,所述高密度過濾網與過濾桶側壁鉸接。
5.根據權利要求1所述的一種污水過濾裝置,其特征在于,所述水槽內設有輔助蒸發框,所述輔助蒸發框上纏繞有布條。
6.根據權利要求1所述的一種污水過濾裝置,其特征在于,所述架體采用鋼筋混凝土柱搭建而成。
說明書
一種污水過濾裝置
技術領域
本實用新型涉及污水處理技術領域,具體屬于一種污水過濾裝置。
背景技術
目前,由于水質原因和水的循環使用,水質常被垃圾雜物等污染,造成水資源的極大浪費,而現有技術中的成品污水處理裝置過于復雜,造價昂貴,不符合實際工程中的需要,為了解決污水再利用的問題,亟需一種結構簡單,方便使用的污水過濾裝置。
實用新型內容
本實用新型的目的在于提供一種污水過濾裝置,將經過過濾后的污水在自然的情況下進行蒸發,水蒸氣進入空氣中,剩余的物質留在水槽內,并定期給水槽進行清理即可,對環境污染較小;通過水槽內設有輔助蒸發框,輔助蒸發框上纏繞有布條,有利于污水的快速蒸發,本實用新型的污水處理裝置結構簡單,使用方便,尤其對于少量污水過濾工作具有高效率,還可降低生產成本,增加不同方向的需求。
為實現上述目的,本實用新型提供如下技術方案:
一種污水過濾裝置,包括機架和過濾桶,所述過濾桶固定設置于支架上,所述過濾桶上部左端設置有進液口,所述過濾桶內腔中部設置有高密度過濾網,所述高密度過濾網上端粘接有推動桿,所述推動桿穿過過濾桶連接至活塞,所述活塞通過氣缸驅動,位于所述高密度過濾網下方的過濾桶內腔設置有清洗管道,所述清洗管道伸出過濾桶外,所述清洗管道上設置有清洗泵,所述清洗管道上設置有若干個清洗分支,所述過濾桶下端部設置有清洗濾芯,所述清洗濾芯通過支撐桿支撐設置于過濾桶內,所述過濾桶底端設置有出液口,所述出液口下端設置有蒸發裝置,所述蒸發裝置包括架體和若干層水槽,所述水槽層疊于架體上,所述水槽呈矩形。
所述過濾桶為耐腐蝕的不銹鋼材料制成。
所述進液口處設置有壓力傳感器。
所述高密度過濾網與過濾桶側壁鉸接。
所述水槽內設有輔助蒸發框,所述輔助蒸發框上纏繞有布條。
所述架體采用鋼筋混凝土柱搭建而成。
與現有技術相比,本實用新型的有益效果是:本實用新型將經過過濾后的污水在自然的情況下進行蒸發,水蒸氣進入空氣中,剩余的物質留在水槽內,并定期給水槽進行清理即可,對環境污染較小;通過水槽內設有輔助蒸發框,輔助蒸發框上纏繞有布條,有利于污水的快速蒸發,本實用新型的污水處理裝置結構簡單,使用方便,尤其對于少量污水過濾工作具有高效率,還可降低生產成本,增加不同方向的需求。



