申請日2016.05.30
公開(公告)日2016.12.07
IPC分類號E03F5/22
摘要
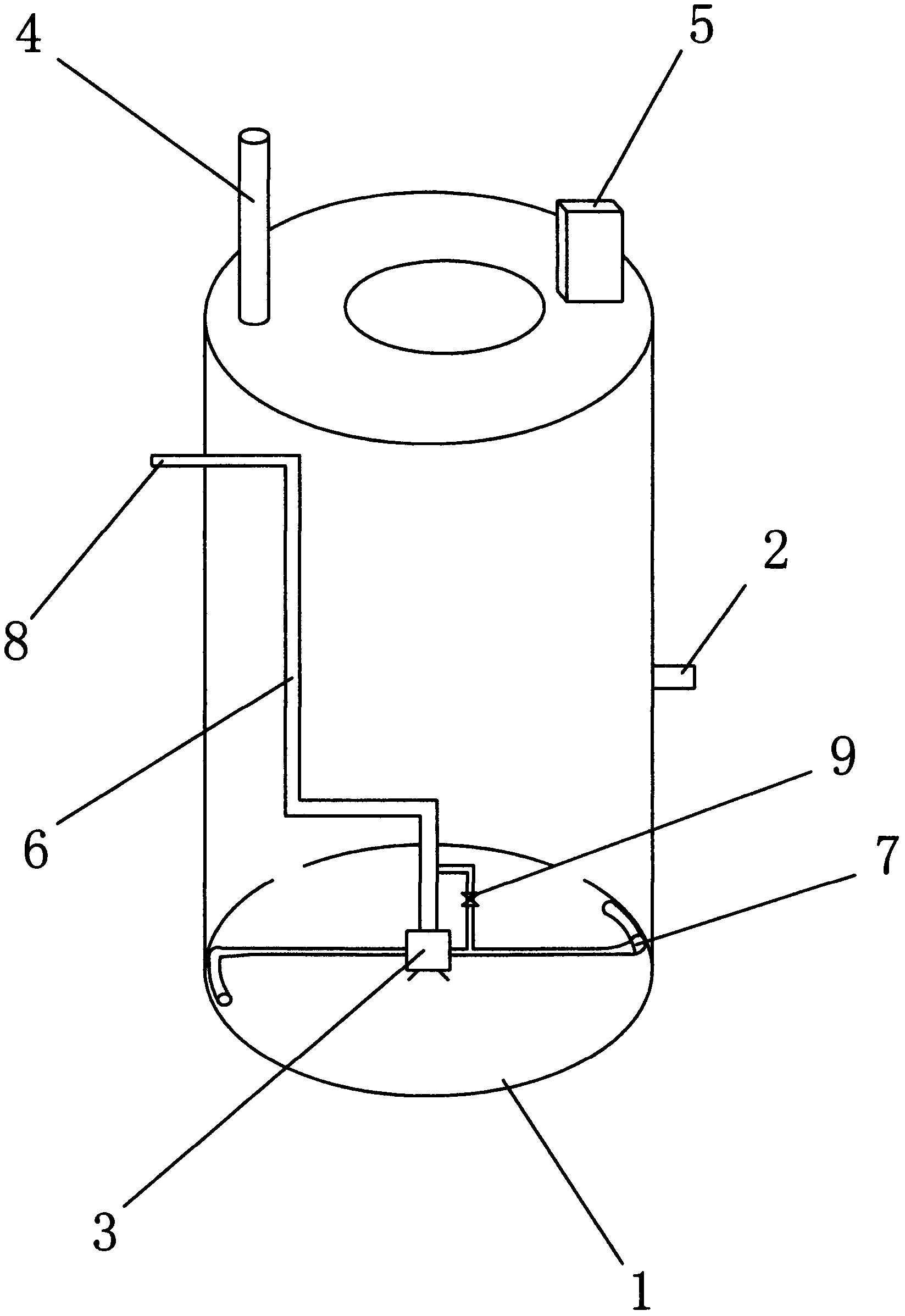
本實用新型提供的程控式污水提升泵站,它包括筒體、筒體的側壁設有進水口、出水口,筒體底部設有提升泵,筒體的頂部設有排氣管以及控制箱,提升泵通過排水管與出水口連接,它還包括沖污管,沖污管位于簡體的底部,沖污管與排水管聯通,沖污管上設有電磁閥。在簡體底部配置一個專用的沖污管,通過程序設置,在使用一段時間之后,自動啟動電機并開啟沖污管內上的電磁閥,通過筒體內的污水不斷沖刷帶動,使沉積的污物重新被沖起,沖刷增加沉積物的流動性,可以避免沉積物的堆積固化,沖刷一段時間后,再通過排水管道就可以將筒體內的污水全部排出,可以有效的解決沉積物堆積的問題。
摘要附圖
權利要求書
1.一種程控式污水提升泵站,它包括筒體(1)、筒體(1)的側壁設有進水口(2)、出水口(8),筒體(1)底部設有提升泵(3),筒體(1)的頂部設有排氣管(4)以及控制箱(5),提升泵(3)通過排水管(6)與出水口(8)連接,其特征在于:它還包括沖污管(7),沖污管(7)位于筒體(1)的底部,沖污管(7)與排水管(6)聯通,沖污管(7)上設有電磁閥(9)。
2.根據權利要求1所述的程控式污水提升泵站,其特征在于:所述的沖污管(7)為弧形,沿筒體(1)底部的邊沿布置。
3.根據權利要求2所述的程控式污水提升泵站,其特征在于:所述的沖污管(7)有兩根,分別對稱分布在提升泵(3)的兩側。
說明書
程控式污水提升泵站
技術領域
本實用新型涉及污水處理技術領域,具體講是一種程控式污水提升泵站。
背景技術
在工業生產以及社會生活中都會產生各種各樣的工業污水或者生活污水,隨著人們環保意識提高,對環保的要求逐漸提高,因此也就對各種污水的處理提高了要求,不能向以前那樣亂排亂放。其中,一種常用的一體化污水處理設備是污水提升泵站,在污水處理過程中經常要用到提升泵站,污水進入提升泵站,污水達到一定高度后通過控制程序啟動電機自動將污水排出到后續程序,但是提升泵站在長時間使用后,筒體的底部會有較多的沉積物,沉積物流動性較差,再加上長時間的堆積固化,歷次抽吸都很難將沉積物抽完進而形成堆積,沉積物的堆積會降低筒體的污水容量,增加電機工作的頻繁度,降低電機工作效能,因此需要專門解決。
實用新型內容
本實用新型所要解決的技術問題是,提供一種有效處理內部沉積物的程控式污水提升泵站。
為解決上述技術問題,本實用新型提供的程控式污水提升泵站,它包括筒體、筒體的側壁設有進水口、出水口,筒體底部設有提升泵,筒體的頂部設有排氣管以及控制箱,提升泵通過排水管與出水口連接,它還包括沖污管,沖污管位于筒體的底部,沖污管與排水管聯通,沖污管上設有電磁閥。
所述的沖污管為弧形,沿筒體底部的邊沿布置。
所述的沖污管有兩根,分別對稱分布在提升泵的兩側。
采用以上結構后,本實用新型與現有技術相比,具有以下優點:
在筒體底部配置一個專用的沖污管,通過程序設置,在使用一段時間之后,自動啟動電機并開啟沖污管內上的電磁閥,通過筒體內的污水不斷沖刷帶動,使沉積的污物重新被沖起,沖刷增加沉積物的流動性,可以避免沉積物的堆積固化,沖刷一段時間后,再通過排水管道就可以將筒體內的污水全部排出,可以有效的解決沉積物堆積的問題,使提升泵站具有自洗功能。


