申請日2016.05.30
公開(公告)日2016.12.07
IPC分類號B01D21/02; C02F1/52; B01F7/18
摘要
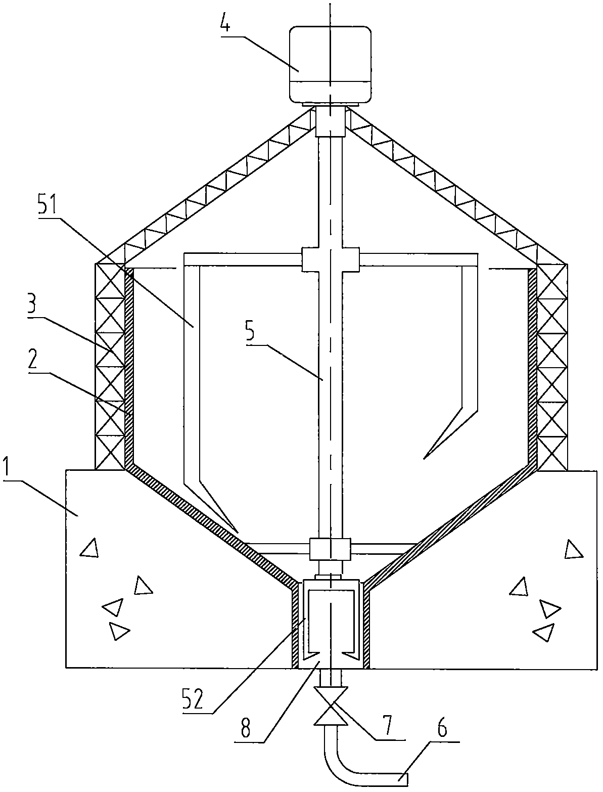
本實用新型屬污水處理設備領域,尤其涉及一種塑料防腐污水處理沉降槽,其特征在于,包括混凝土基座、塑料槽體、鋼質支撐架、減速電機和攪拌槳,所述塑料槽體設于混凝土基座上,塑料槽體外側設有鋼質支撐架,減速電機設于鋼質支撐架的頂部,攪拌槳連接于減速電機的輸出軸上,塑料槽體底部設有底流孔,底流孔連接排污管路,排污管路上設有閥門。所述攪拌槳分為位于槽體部分的主槳和位于底流孔部分的底槳。與現有技術相比,本實用新型的有益效果是:塑料槽體采用樹脂料帶螺旋纏繞搭接結構,攪拌槳表面設有塑料涂鍍強化層,具有制造成本低,結構簡單,防腐性能好等特點,可顯著延長設備的整體使用壽命。
摘要附圖
權利要求書
1.塑料防腐污水處理沉降槽,其特征在于,包括混凝土基座、塑料槽體、鋼質支撐架、減速電機和攪拌槳,所述塑料槽體設于混凝土基座上,塑料槽體外側設有鋼質支撐架,減速電機設于鋼質支撐架的頂部,攪拌槳連接于減速電機的輸出軸上,塑料槽體底部設有底流孔,底流孔連接排污管路,排污管路上設有閥門。
2.根據權利要求1所述的塑料防腐污水處理沉降槽,其特征在于,所述塑料槽體采用樹脂料帶螺旋纏繞搭接結構。
3.根據權利要求1所述的塑料防腐污水處理沉降槽,其特征在于,所述攪拌槳分為位于槽體部分的主槳和位于底流孔部分的底槳。
4.根據權利要求3所述的塑料防腐污水處理沉降槽,其特征在于,所述攪拌槳表面設有塑料涂鍍強化層。
說明書
塑料防腐污水處理沉降槽
技術領域
本實用新型涉及污水處理設備領域,尤其涉及一種塑料防腐污水處理沉降槽。
背景技術
按污水的物化性質劃分,水的污染有兩類:一類是自然污染;另一類是人為污染。當前對水體危害較大的是人為污染。水污染可根據污染雜質的不同而主要分為化學性污染、物理性污染和生物性污染三大類。污染物主要有:(1)未經處理而排放的工業廢水;(2)未經處理而排放的生活污水(3)大量使用化肥、農藥、除草劑的農田污水;(4)堆放在河邊的工業廢棄物和生活垃圾;(5)水土流失;(6)礦山污水。目前,大部分污水經過現有污水處理設備處理后,雖然能大大改善出水的水質,但色度和難降解有機物的去除效果甚差,出水色度,COD往往達不到國家排放標準。直接排放不僅污染環境,而且也是對水資源的極大浪費。另外,現有污水處理設備尚存在制造成本高,結構復雜,使用壽命短等問題。
沉降處理是使污水與絮凝劑充分混合,緩慢沉降,初步分離懸浮物,是污水處理中必不可少的一道工序,目前此類設備多以混凝土質或鋼質為主,對某些腐蝕性污水的處理,設備使用壽命受到很大影響。
發明內容
本實用新型的目的是克服現有技術的不足之處,提供一種制造成本低,結構簡單,使用壽命長的塑料防腐污水處理沉降槽。
為了實現上述目的,本實用新型的技術方案是這樣的:
塑料防腐污水處理沉降槽,包括混凝土基座、塑料槽體、鋼質支撐架、減速電機和攪拌槳,所述塑料槽體設于混凝土基座上,塑料槽體外側設有鋼質支撐架,減速電機設于鋼質支撐架的頂部,攪拌槳連接于減速電機的輸出軸上,塑料槽體底部設有底流孔,底流孔連接排污管路,排污管路上設有閥門。
所述塑料槽體采用樹脂料帶螺旋纏繞搭接結構。
所述攪拌槳分為位于槽體部分的主槳和位于底流孔部分的底槳。
所述攪拌槳表面設有塑料涂鍍強化層。
與現有技術相比,本實用新型的有益效果是:塑料槽體采用樹脂料帶螺旋纏繞搭接結構,攪拌槳表面設有塑料涂鍍強化層,防腐性能好,具有制造成本低,結構簡單,使用壽命長等特點,可顯著延長設備的整體使用壽命。


