申請日2016.05.29
公開(公告)日2017.01.18
IPC分類號B01F7/02
摘要
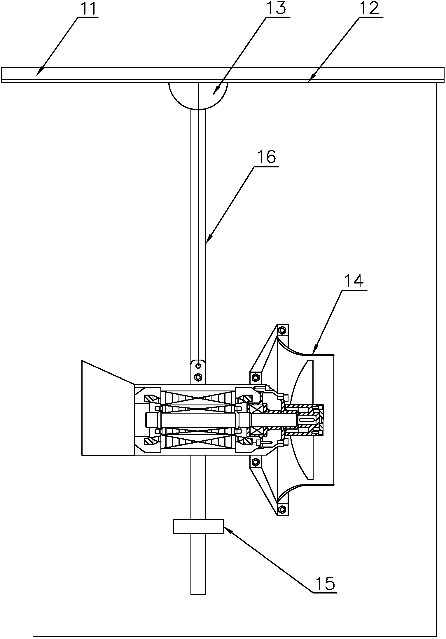
本實用新型公開了一種污水處理用潛水攪拌機,包括橫梁、導軌Ⅰ、旋轉裝置、導軌Ⅱ、潛水攪拌機,所述橫梁橫跨生化池,所述橫梁下側內部設有導軌Ⅰ,所述導軌Ⅰ下側設有旋轉裝置,所述旋轉裝置沿橫梁下側內部的導軌Ⅰ水平移動,所述旋轉裝置下側設有導軌Ⅱ,所述導軌Ⅱ一端與旋轉裝置連接,導軌Ⅱ通過旋轉裝置沿導軌Ⅱ中心線轉動,所述導軌Ⅱ上設有潛水攪拌機,潛水攪拌機沿導軌Ⅱ上下移動。本實用新型設備結構簡單,潛水攪拌機安裝在導軌上,導軌安裝在橫梁上,導軌在橫梁上隨時移動、轉動,實現360°攪拌無死角,適用于不同體積的生化池攪拌,適用范圍廣,資源能耗低,攪拌效果好。
摘要附圖
權利要求書
1.一種污水處理用潛水攪拌機,包括橫梁、導軌Ⅰ、旋轉裝置、導軌Ⅱ、潛水攪拌機,其特征在于所述橫梁安裝在生化池上部,所述橫梁橫跨生化池,所述橫梁下側內部設有導軌Ⅰ,所述導軌Ⅰ下側設有旋轉裝置,所述旋轉裝置沿橫梁下側內部的導軌Ⅰ水平移動,所述旋轉裝置下側設有導軌Ⅱ,所述導軌Ⅱ一端與旋轉裝置連接,導軌Ⅱ通過旋轉裝置沿導軌Ⅱ中心線轉動,所述導軌Ⅱ上設有潛水攪拌機,潛水攪拌機沿導軌Ⅱ上下移動;
所述潛水攪拌機包括機殼、吊耳、電機、導流罩、攪拌葉片、端蓋、密封套、軸承、傳動軸,所述機殼外部一側設有吊耳,所述吊耳上設有吊孔,所述機殼內部設有電機,所述電機內部設有傳動軸,所述傳動軸兩端設有軸承,所述軸承一側設有密封套,所述傳動軸一端設有端蓋,所述傳動軸通過鍵與攪拌葉片連接,所述攪拌葉片外部設有導流罩。
2.根據權利要求1所述的污水處理用潛水攪拌機,其特征在于所述導軌Ⅱ下端設有限位塊,所述限位塊為可調式限位塊。
3.根據權利要求1所述的污水處理用潛水攪拌機,其特征在于所述密封套一側設有漏水傳感器,所述漏水傳感器為壁掛電極式漏水傳感器。
說明書
一種污水處理用潛水攪拌機
技術領域
本實用新型屬于污水處理設備技術領域,特別涉及一種污水處理用潛水攪拌機。
背景技術
潛水攪拌機是對生物反應池中污水進行攪拌的主要設備,安裝在水下安裝系統上運行,工作時通過葉輪對水體的攪拌,實現生化過程中固、液氣三相流的均質化,防止含微生物的活性泥沉淀。
申請號為201310608772.9的發明專利公開了一種潛水攪拌機安裝結構,它包括工作臺,所述工作臺上方設有上預埋鋼板,在所述上預埋鋼板上設有水上支架,在所述水上支架中部設有手搖卷揚機構,在所屬水上支架上部設有滑輪,在所述工作臺側面設有導軌,在所述導軌上設有潛水攪拌機,在所述潛水攪拌機上設有監視器;雖然其增強了設備的穩定性和牢固性,但是仍然存在以下局限:1)當生化池體積較大時,所需的潛水攪拌機需要大功率電機驅動,這會造成耗能增加,設備運行成本增高;2)由于潛水攪拌機只能上下移動,造成潛水攪拌存在一定的盲區,即部分區域攪拌不到,造成生化處理效果降低。
發明內容
本實用新型的目的是克服現有技術中不足,提供一種污水處理用潛水攪拌機,設備結構簡單,潛水攪拌機安裝在導軌上,導軌安裝在橫梁上,導軌在橫梁上隨時移動、轉動,實現360°攪拌無死角,適用于不同體積的生化池攪拌,適用范圍廣,資源能耗低,攪拌效果好。
為了實現上述目的,本實用新型提供一種污水處理用潛水攪拌機,包括橫梁、導軌Ⅰ、旋轉裝置、導軌Ⅱ、潛水攪拌機,所述橫梁安裝在生化池上部,所述橫梁橫跨生化池,所述橫梁下側內部設有導軌Ⅰ,所述導軌Ⅰ下側設有旋轉裝置,所述旋轉裝置沿橫梁下側內部的導軌Ⅰ水平移動,所述旋轉裝置下側設有導軌Ⅱ,所述導軌Ⅱ一端與旋轉裝置連接,導軌Ⅱ通過旋轉裝置沿導軌Ⅱ中心線轉動,所述導軌Ⅱ上設有潛水攪拌機,潛水攪拌機沿導軌Ⅱ上下移動;
所述潛水攪拌機包括機殼、吊耳、電機、導流罩、攪拌葉片、端蓋、密封套、軸承、傳動軸,所述機殼外部一側設有吊耳,所述吊耳上設有吊孔,所述機殼內部設有電機,所述電機內部設有傳動軸,所述傳動軸兩端設有軸承,所述軸承一側設有密封套,所述傳動軸一端設有端蓋,所述傳動軸通過鍵與攪拌葉片連接,所述攪拌葉片外部設有導流罩。
優選的,所述導軌Ⅱ下端設有限位塊,所述限位塊為可調式限位塊,限位塊控制潛水攪拌機的行程,另一方面防止潛水攪拌機因意外墜落入生化池中,提高了設備的安全性能。
優選的,所述密封套一側設有漏水傳感器,所述漏水傳感器為壁掛電極式漏水傳感器,當生化池中的污水接觸到電極傳感器表面時,傳感器電阻發生變化,從而進行放大處理,保證結構設計完全密封,以確保潛水攪拌機的精度和可靠性,具有靈敏度高,響應時間快,使用方便,易于安裝等優質特點。
本實用新型與現有技術相比較有益效果表現在:
1)設備結構簡單,潛水攪拌機安裝在導軌上,導軌安裝在橫梁上,導軌在橫梁上隨時移動、轉動,實現360°攪拌無死角,適用于不同體積的生化池攪拌,適用范圍廣,資源能耗低,攪拌效果好;
2)導軌Ⅱ下端設有限位塊,所述限位塊為可調式限位塊,限位塊控制潛水攪拌機的行程,另一方面防止潛水攪拌機因意外墜落入生化池中,提高了設備的安全性能;
3)密封套一側設有漏水傳感器,漏水傳感器為壁掛電極式漏水傳感器當生化池中的污水接觸到電極傳感器表面時,傳感器電阻發生變化,從而進行放大處理,保證結構設計完全密封,以確保潛水攪拌機的精度和可靠性,具有靈敏度高,響應時間快,使用方便,易于安裝等優質特點。


