申請日2015.07.13
公開(公告)日2016.01.13
IPC分類號C02F1/28; C02F1/62
摘要
本實用新型涉及一種處理含鈾廢水的自流滲透壩,所述自流滲透壩包括壩體,所述壩體與儲水池相連接,所述壩體內設置有去污材料層,所述去污材料層上端設置有隔水層,所述壩體的上端設置有抗壓頂蓋,所述壩體靠近儲水池的一側設置有若干進水口,所述進水口處設置有攔阻網,所述壩體遠離儲水池的一側設置有若干出水管,所述出水管上均設置有閥門,所述壩體遠離儲水池的一側的下端設置有去污材料出口構件;本實用新型具有造價便宜,構建容易,操作簡單,處理量大,經濟效益好,無需能源和人工長期維護,且易于推廣應用的優點。
權利要求書
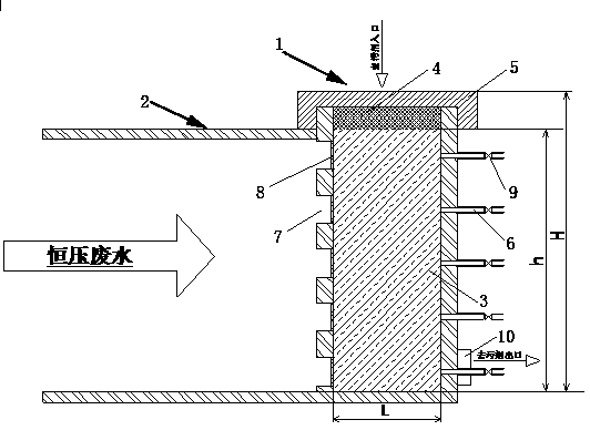
1.一種處理含鈾廢水的自流滲透壩,其特征在于,所述自流滲透壩包括壩體(1),所述壩體(1)與儲水池(2)相連接,所述壩體(1)內設置有去污材料層(3),所述去污材料層(3)上端設置有隔水層(4),所述壩體(1)的上端設置有抗壓頂蓋(5),所述壩體(1)靠近儲水池(2)的一側設置有若干進水口(7),所述進水口(7)處設置有攔阻網(8),所述壩體遠離儲水池(2)的一側設置有若干出水管(6),所述出水管(6)上均設置有閥門(9),所述壩體(1)遠離儲水池(2)的一側的下端設置有去污材料出口構件(10)。
2.根據權利要求1所述處理含鈾廢水的自流滲透壩,其特征在于,所述壩體(1)的構筑結構呈正方體或長方體。
3.根據權利要求1所述處理含鈾廢水的自流滲透壩,其特征在于,所述壩體(1)的高度H≥1.2m,所述去污材料層3的高度0.8≤h≤2m,所述去污材料層(3)的長度L≥1.0m。
4.根據權利要求2或3所述處理含鈾廢水的自流滲透壩,其特征在于,所述儲水池(2)的高度H0≥5h。
5.根據權利要求1所述處理含鈾廢水的自流滲透壩,其特征在于,所述壩體(1)的構筑結構呈傾角α設置,所述45°≤α<90°。
6.根據權利要求5所述處理含鈾廢水的自流滲透壩,其特征在于,所述儲水池(2)的墻體上設置有水位計(11),所述儲水池(2)上設置有廢水閥門(12)。
7.根據權利要求5所述處理含鈾廢水的自流滲透壩,其特征在于,所述壩體(1)的上端設置有卡突(13)。
8.根據權利要求5至7任一權利要求所述處理含鈾廢水的自流滲透壩,其特征在于,所述儲水池(2)高度H0≥2.3m,所述儲水池(2)容積≥10m3,所述去污材料層(3)的高度h≥0.8m,所述去污材料層(3)的長度L≥1.2m,所述壩體(1)的高度H≥0.9m。
說明書
一種處理含鈾廢水的自流滲透壩
技術領域
本實用新型涉及含鈾廢水處理領域,具體涉及一種處理含鈾廢水的自流滲透壩。
背景技術
鈾礦開采、鈾冶煉、鈾礦冶設施退役、反應堆操作、放射化學分離等工藝過程所產生的含鈾放射性廢水對生態環境和人類健康危害極大,如果不加處理即排入到環境中,就會造成極其嚴重的后果。傳統的含鈾廢水處理的方法在實際運行過程中存在工藝流程冗長復雜,處理繁瑣、還需對二次廢物進行再處理,并且用于處理低含量、大水量含鈾放射性廢水時,往往操作費用和原材料成本相對較高。因此,人們一直在致力于研究和尋求經濟、高效、安全、設備投入少且操作簡易的放射性含鈾廢水治理的新技術。
發明內容
本實用新型的目的在于克服現有技術的不足,提供一種處理含鈾廢水的自流滲透壩,當含有一定濃度鈾元素的廢水在自身重力作用下流經此滲透壩后,廢水中的鈾離子即被去除,處理后的廢水中的鈾含量可達到國家排放標準,而處理后的去污材料則可以作為一種次生礦物加以利用;本實用新型具有造價便宜,構建容易,操作簡單,處理量大,經濟效益好,無需能源和人工長期維護,且易于推廣應用的優點。
為實現上述目的,本實用新型采用如下技術手段:
一種處理含鈾廢水的自流滲透壩,所述自流滲透壩包括壩體,所述壩體與儲水池相連接,所述壩體內設置有去污材料層,所述去污材料層上端設置有隔水層,所述壩體的上端設置有抗壓頂蓋,所述壩體靠近儲水池的一側設置有若干進水口,所述進水口處設置有攔阻網,所述壩體遠離儲水池的一側設置有若干出水管,所述出水管上均設置有閥門,所述壩體遠離儲水池的一側的下端設置有去污材料出口構件。
本實用新型在壩體內部設置去污材料層,本實用新型中,去污材料選用“上進下出”的進料和出料方式,去污材料層是廢水處理過程中控制廢水流態保證裝置正常運行的關鍵;將去污材料填充進入去污材料層后構成自流式滲濾壩體,當含有一定濃度鈾元素的廢水在自身重力作用下流經此滲濾壩體后,廢水中的鈾離子即被去除,處理后的廢水中的鈾含量可達到國家排放標準,而處理后的去污劑還可以作為一種次生礦物加以利用;本實用新型還設置有抗壓頂蓋,所述抗壓頂蓋可以避免儲水池的水壓過高造成大壩的解體。
作為一種優選方案,本實用新型中的處理含鈾廢水的自流滲透壩設置為恒壓式自流滲透壩,此時所述壩體的構筑結構呈正方體或長方體。
優選地,所述壩體的高度H≥1.2m,所述去污材料層的高度0.8≤h≤2m,所述去污材料層的長度L≥1.0m。
優選地,所述儲水池的高度H0≥5h,當儲水池的高度H0≥5倍去污材料層的填充高度時,進入滲透壩的水即可視為近似恒壓水。
作為另一種優選方案,本實用新型中的處理含鈾廢水的自流滲透壩設置為恒流式自流滲透壩,此時所述壩體的構筑結構呈傾角α設置,所述45°≤α<90°。
優選地,所述儲水池的墻體上設置有水位計,所述儲水池上設置有廢水閥門;在恒流式自流滲透壩中,本實用新型采用水位計與廢水閥門聯動的控制模式,用水位計自動控制廢水閥門的開度,以穩定儲水池的水位,使得滲透壩所受的水壓保持相對平穩。
優選地,所述壩體的上端設置有卡突;設置卡突可以加固抗壓頂蓋對大壩的作用力,防止儲水池的水壓過高造成大壩解體。
優選地,所述儲水池高度H0≥2.3m,所述儲水池容積≥10m3,所述去污材料層的高度h≥0.8m,所述去污材料層的長度L≥1.2m,所述壩體的高度H≥0.9m。
在本實用新型中,所述去污材料可以是已知的對鈾有吸附作用的材料,包括沸石、磷酸鈣等。
在本實用新型中,含鈾廢水處理過程的操作參數:進樣廢水的pH一般要求≥5.0,進樣廢水中鈾離子含量一般要求≤5.0mg/L;鐵、錳金屬雜離子總量一般要求≤5000mg/L;進樣廢水濁度一般要求小于100度;廢水處理過程中,保持廢水的總滲流速≤18個床層體積(指去污劑床層整體的體積)/h運行,一般取10個床層體積/h。
本實用新型中的恒壓式自流滲透壩尤其適用于少量含鈾廢水的處理,并具有投資省、基建難度小的優點;恒流式自流滲透壩尤其適用于大量含鈾廢水的處理,并具有投資省、操作容易的優點;在具體使用過程中,應盡量減少外來雨水等進入滲透壩以減輕處理設施的處理負擔,延長滲透壩的使用時間。
與現有技術相比,本實用新型具有如下有益效果:
本實用新型提供的處理含鈾廢水的自流滲透壩具有如下特點:
(1)基建設施結構簡單、投資省、占地面積小、處理量大、經濟效益好;
(2)機械和能源的投入少,在材料選擇上具有材料來源廣、成本低、處理容量大且透水效果好等優點;
(3)操作簡單,人工投入小,易實現自動化等優點。







