申請日2015.06.11
公開(公告)日2015.09.23
IPC分類號F22B37/54; C02F9/02; F22B3/04; F22B1/14
摘要
本發明公開了一種鍋爐排污廢水焓差補償擴容凈化回收裝置,包括混合過濾罐、與混合過濾罐連通的精密過濾罐;其中所述的混合過濾罐罐體上安裝有鍋爐排污廢水進水管和工作蒸汽進汽管;所述的鍋爐排污廢水進水管和工作蒸汽進汽管分別與安裝在混合過濾罐罐體內的文丘里噴射器相連,所述的文丘里噴射器與安裝在混合過濾罐罐體內的初步過濾氨基復合納米材料的吸附濾芯連通;所述的混合過濾罐通過連通管與精密過濾罐連通;所述的精密過濾罐內安裝有精密過濾氨基復合納米材料的吸附濾芯;所述的精密過濾罐上安裝有出汽管。本發明裝置通過等溫降壓擴容、汽化、吸附凈化,將鍋爐汽水系統排出的廢水轉變為中低壓過熱或飽和蒸汽,再并入供熱網管,從而做到廢熱回收利用率達98.5%以上。
摘要附圖
權利要求書
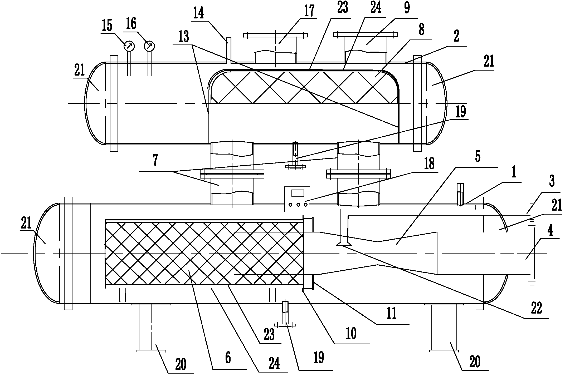
1.一種鍋爐排污廢水焓差補償擴容凈化回收裝置,其特征在于,包括混合過濾罐(1)、與混合過濾罐(1)連通的精密過濾罐(2);其中所述的混合過濾罐(1)罐體上安裝有鍋爐排污廢水進水管(3)和工作蒸汽進汽管(4);所述的鍋爐排污廢水進水管(3)和工作蒸汽進汽管(4)分別與安裝在混合過濾罐(1)罐體內的文丘里噴射器(5)相連,所述的鍋爐排污廢水進水管(3)上安裝有噴嘴(22),且所述的噴嘴(22)置于文丘里噴射器(5)內;所述的文丘里噴射器(5)與安裝在混合過濾罐(1)罐體內的初步過濾氨基復合納米材料的吸附濾芯(6)連通;所述的混合過濾罐(1)通過連通管(7)與精密過濾罐(2)連通;所述的精密過濾罐(2)內安裝有精密過濾氨基復合納米材料的吸附濾芯(8);所述的精密過濾罐(2)上安裝有出汽管(9)。
2.如權利要求1所述的一種鍋爐排污廢水焓差補償擴容凈化回收裝置,其特征在于,所述的初步過濾氨基復合納米材料的吸附濾芯(6)為圓筒形初步過濾氨基復合納米材料的吸附濾芯;所述的初步過濾氨基復合納米材料的吸附濾芯(6)外套裝有不銹鋼精密絲網(23),所述的不銹鋼精密絲網(23)外套裝有3-5mm不銹鋼沖孔板(24);所述的靠近文丘里噴射器(5)的不銹鋼沖孔板(24)的外壁上套裝有第一法蘭(10),所述的靠近不銹鋼沖孔板(24)的文丘里噴射器(5)的管壁上安裝有第二法蘭(11),所述的第一法蘭(10)與第二法蘭(11)之間通過螺絲固連。
3.如權利要求1所述的一種鍋爐排污廢水焓差補償擴容凈化回收裝置,其特征在于,所述的混合過濾罐(1)與精密過濾罐(2)之間通過1根連通管(7)連通;且所述的混合過濾罐(1)與精密過濾罐(2)之間還安裝有與連通管(7)尺寸大小一樣的支撐柱(12)。
4.如權利要求3所述的一種鍋爐排污廢水焓差補償擴容凈化回收裝置,其特征在于,所述的精密過濾罐(2)內安裝有圓筒形精密過濾氨基復合納米材料的吸附濾芯(8);所述的精密過濾氨基復合納米材料的吸附濾芯(8)外套裝有不銹鋼精密絲網(23),所述的不銹鋼精密絲網(23)外套裝有3-5mm不銹鋼沖孔板(24);所述的不銹鋼精密絲網(23)的外壁上套裝有第三法蘭(25),所述的不銹鋼沖孔板(24)的外壁與精密過濾罐(2)的管壁之間安裝有第四法蘭(26),所述的第三法蘭(25)與第四法蘭(26)之間通過螺絲固連。
5. 如權利要求3所述的一種鍋爐排污廢水焓差補償擴容凈化回收裝置,其特征在于,所述的精密過濾罐(2)內安裝有弧形精密過濾氨基復合納米材料的吸附濾芯(8),所述的精密過濾氨基復合納米材料的吸附濾芯(8)外套裝有不銹鋼精密絲網(23),所述的不銹鋼精密絲網(23)外套裝有3-5mm不銹鋼沖孔板(24);所述的弧形精密過濾氨基復合納米材料的吸附濾芯(8)兩側的精密過濾罐(2)內壁面上分別安裝有凹槽擋板(13)。
6. 如權利要求1所述的一種鍋爐排污廢水焓差補償擴容凈化回收裝置,其特征在于,所述的混合過濾罐(1)與精密過濾罐(2)之間分別通過2根連通管(7)連通;所述的精密過濾罐(2)內安裝有弧形精密過濾氨基復合納米材料的吸附濾芯(8),所述的精密過濾氨基復合納米材料的吸附濾芯(8)外套裝有不銹鋼精密絲網(23),所述的不銹鋼精密絲網(23)外套裝有3-5mm不銹鋼沖孔板(24);且所述的弧形精密過濾氨基復合納米材料的吸附濾芯(8)的長度大于2根連通管(7)的遠端外壁之間的距離;所述的弧形精密過濾氨基復合納米材料的吸附濾芯(8)兩側的精密過濾罐(2)內壁面上分別安裝有凹槽擋板(13)。
7.如權利要求1所述的一種鍋爐排污廢水焓差補償擴容凈化回收裝置,其特征在于,所述的精密過濾罐(2)上開設有補水口(14),且所述的精密過濾罐(2)上安裝有溫度計(15)和壓力計(16);所述的精密過濾罐(2)上還設有安裝有安全閥的排氣口(17)。
8.如權利要求1所述的一種鍋爐排污廢水焓差補償擴容凈化回收裝置,其特征在于,所述的混合過濾罐(1)外壁上還安裝有PLC控制器(18),所述的鍋爐排污廢水進水管(3)、工作蒸汽進汽管(4)和出汽管(9)上分別安裝有進水電動調節閥、進汽電動調節閥和出汽電動調節閥;且所述的PLC控制器(18)分別通過線路與進水電動調節閥、進汽電動調節閥、出汽電動調節閥相連。
9.如權利要求1所述的一種鍋爐排污廢水焓差補償擴容凈化回收裝置,其特征在于,所述的混合過濾罐(1)和精密過濾罐(2)上分別開設有排污口(19)。
10.如權利要求1所述的一種鍋爐排污廢水焓差補償擴容凈化回收裝置,其特征在于,所述的混合過濾罐(1)上安裝有支撐腳(20);所述的混合過濾罐(1)和精密過濾罐(2)罐體兩端分別通過法蘭與端蓋(21)相連。
說明書
一種鍋爐排污廢水焓差補償擴容凈化回收裝置
技術領域
本發明涉及一種鍋爐排污廢水焓差補償擴容凈化回收裝置,特別是涉及一種鍋爐排污廢水的擴容、凈化回收將低品位余熱轉化成高品位低壓供熱蒸汽的裝置。
背景技術
一直以來,低品位余熱的回收和利用始終是困擾節能行業的一個課題,回收率低而無用是行業目前的普遍現狀。
鍋爐排污是鍋爐運行中的損失之一,為控制爐水、蒸汽品質,鍋爐必須要進行連續排污和定期排污,要求連續不斷和定期的從爐水鹽堿濃度最高的部位與沉積物最多的最低部位排出部分爐水,以減少爐水中的含鹽量、堿量含硅酸量及處于懸浮狀態的渣滓物含量與鈣鎂離子沉積物。其目的就是為了保證爐水的品質使鍋爐能夠長期穩定的安全運行,而該熱量損失也是影響鍋爐效益的重要因素之一。
目前現有的回收技術有連排擴容器閃蒸和換熱器回收,其中連排擴容器回收量僅為20%至24%,換熱器回收雖超過50%,但熱品位降低,在沒有充足冷源的情況下,幾乎無法使用。
發明內容
本發明目的在于提供了一種鍋爐排污廢水焓差補償擴容凈化回收裝置,本發明裝置通過等溫降壓擴容、汽化、吸附凈化,將鍋爐汽水系統排出的廢水轉變為中低壓過熱或飽和蒸汽,再并入供熱網管,從而做到廢熱回收利用率達98.5%以上,整個裝置結構簡單,操作方便且成本低。
為了達到上述目的,本發明的技術方案是:
一種鍋爐排污廢水焓差補償擴容凈化回收裝置,包括混合過濾罐、與混合過濾罐連通的精密過濾罐;其中所述的混合過濾罐罐體上安裝有鍋爐排污廢水進水管和工作蒸汽進汽管;所述的鍋爐排污廢水進水管和工作蒸汽進汽管分別與安裝在混合過濾罐罐體內的文丘里噴射器相連,所述的鍋爐排污廢水進水管上安裝有噴嘴,且所述的噴嘴置于文丘里噴射器內;所述的文丘里噴射器與安裝在混合過濾罐罐體內的初步過濾氨基復合納米材料的吸附濾芯(購于中能發科節能環保(北京)有限公司,型號為ZNFK-FHANMCL-01)連通;所述的混合過濾罐通過連通管與精密過濾罐連通;所述的精密過濾罐內安裝有精密過濾氨基復合納米材料的吸附濾芯(購于中能發科節能環保(北京)有限公司,型號為ZNFK-FHANMCL-02);所述的精密過濾罐上安裝有出汽管。
所述的初步過濾氨基復合納米材料的吸附濾芯為圓筒形初步過濾氨基復合納米材料的吸附濾芯;所述的初步過濾氨基復合納米材料的吸附濾芯外套裝有不銹鋼精密絲網,所述的不銹鋼精密絲網外套裝有3-5mm不銹鋼沖孔板,所述的不銹鋼沖孔板作為保護罩以防止被高壓蒸汽沖跑;所述的靠近文丘里噴射器的不銹鋼沖孔板的外壁上套裝有第一法蘭,所述的靠近不銹鋼沖孔板的文丘里噴射器的管壁上安裝有第二法蘭,所述的第一法蘭與第二法蘭之間通過螺絲固連。
作為優選,所述的混合過濾罐與精密過濾罐之間通過1根連通管連通;且所述的混合過濾罐與精密過濾罐之間還安裝有與連通管尺寸大小一樣的支撐柱;
所述的精密過濾罐內安裝有圓筒形精密過濾氨基復合納米材料的吸附濾芯;所述的精密過濾氨基復合納米材料的吸附濾芯外套裝有不銹鋼精密絲網,所述的不銹鋼精密絲網外套裝有3-5mm不銹鋼沖孔板,所述的不銹鋼沖孔板作為保護罩以防止被高壓蒸汽沖跑;所述的不銹鋼精密絲網的外壁上套裝有第三法蘭,所述的不銹鋼沖孔板的外壁與精密過濾罐的管壁之間安裝有第四法蘭,所述的第三法蘭與第四法蘭之間通過螺絲固連。
所述的精密過濾罐內安裝有弧形精密過濾氨基復合納米材料的吸附濾芯,所述的精密過濾氨基復合納米材料的吸附濾芯外套裝有不銹鋼精密絲網,所述的不銹鋼精密絲網外套裝有3-5mm不銹鋼沖孔板,所述的不銹鋼沖孔板作為保護罩以防止被高壓蒸汽沖跑。所述的弧形精密過濾氨基復合納米材料的吸附濾芯兩側的精密過濾罐內壁面上分別安裝有凹槽擋板。
進一步優選,所述的混合過濾罐與精密過濾罐之間分別通過2根連通管連通;所述的精密過濾罐內安裝有弧形精密過濾氨基復合納米材料的吸附濾芯,所述的精密過濾氨基復合納米材料的吸附濾芯外套裝有不銹鋼精密絲網及3-5mm厚的不銹鋼沖孔板保護罩,且所述的弧形精密過濾氨基復合納米材料的吸附濾芯的長度大于2根連通管的遠端外壁之間的距離;所述的弧形精密過濾氨基復合納米材料的吸附濾芯兩側的精密過濾罐內壁面上分別安裝有凹槽擋板。
所述的精密過濾罐上開設有補水口,且所述的精密過濾罐上安裝有溫度計和壓力計;所述的精密過濾罐上還設有安裝有安全閥的排氣口。
所述的混合過濾罐外壁上還安裝有PLC控制器,所述的鍋爐排污廢水進水管、工作蒸汽進汽管和出汽管上分別安裝有進水電動調節閥、進汽電動調節閥和出汽電動調節閥;且所述的PLC控制器分別通過線路與進水電動調節閥、進汽電動調節閥、出汽電動調節閥相連。
所述的混合過濾罐和精密過濾罐上分別開設有排污口。
所述的混合過濾罐上安裝有支撐腳;所述的混合過濾罐和精密過濾罐罐體兩端分別通過法蘭與端蓋相連。
本發明的有益效果是:鍋爐排污是具有一定熱品位的高溫高壓爐水廢熱,在運行的鍋爐里連續不斷和定期的從鍋爐里排放出來,因為其排放的高溫高壓狀態的爐水主要成分含有磷酸鹽、鈣鎂離子沉積物、二氧化硅等雜質。本發明的鍋爐排污廢水鍋爐排污廢水焓差補償擴容凈化回收裝置就是回收這些鍋爐排污廢水而設計的,通過利用工廠少量高溫熱源,把鍋爐高溫高壓排污水廢熱根據其自身的物理特性,進入回收裝置后先將大部分高品位廢熱爐水汽化到設定的壓力下的低壓供熱蒸汽,還有一小部分未汽化的排污水在混合罐文丘里混合管內通過工作蒸汽的焓差補償,蒸發換熱成工藝要求的供熱蒸汽,從而做到了的廢熱回收利用率達98.5%以上;氨基復合納米材料所制成的吸附濾芯,其對磷酸鹽吸附率最高可達85—97%。
科學的系統方案設計和自控系統可以使焓差補償式擴容凈化回收裝置選擇不同的壓力溫度等級的工作蒸汽即(抽汽、排汽、或新蒸汽點)來進行焓差補償式汽化擴容。根據需要選擇5—20倍不同等級的工作蒸汽源對鍋爐排污水進行完全汽化。一定壓力下的鍋爐排污廢水進入焓差補償式擴容凈化回收裝置,經回收裝置內特殊設計的流程汽化、焓差補償和凈化吸附,最后加熱到熱網要求的輸出蒸汽,用來供給相應溫度壓力等級要求工藝用汽和熱用戶用汽。如沒有完全或充足的相對應的工作蒸汽量,最終經過本回收裝置后的輸出蒸汽總體上溫度會下降2-8℃,但下降的這點溫度對整個熱網影響可忽略不計。
綜上,本發明的一種鍋爐排污廢水鍋爐排污廢水焓差補償擴容凈化回收裝置將排污廢水經過擴容、汽化、吸附、過濾、凈化后,轉變為低壓飽和蒸汽或過熱蒸汽,再并入供熱網管;當溫度低于供熱網管的設定值時,還可以通過高溫工作蒸汽進行焓差補償,達到具有熱網對應溫度的供熱蒸汽,從而做到了的廢熱最大化的回收利用,做到廢熱回收利用率達98.5%以上,徹底解決了鍋爐排污損失問題;而且整個裝置結構簡單、操作方便且成本低。同時為大型和超大型流體源冷暖裝置的研制和開發提供了新思路、新技術、新理論和新方案。






