公開(公告)日2015.03.18
IPC分類號B01J2/02
摘要
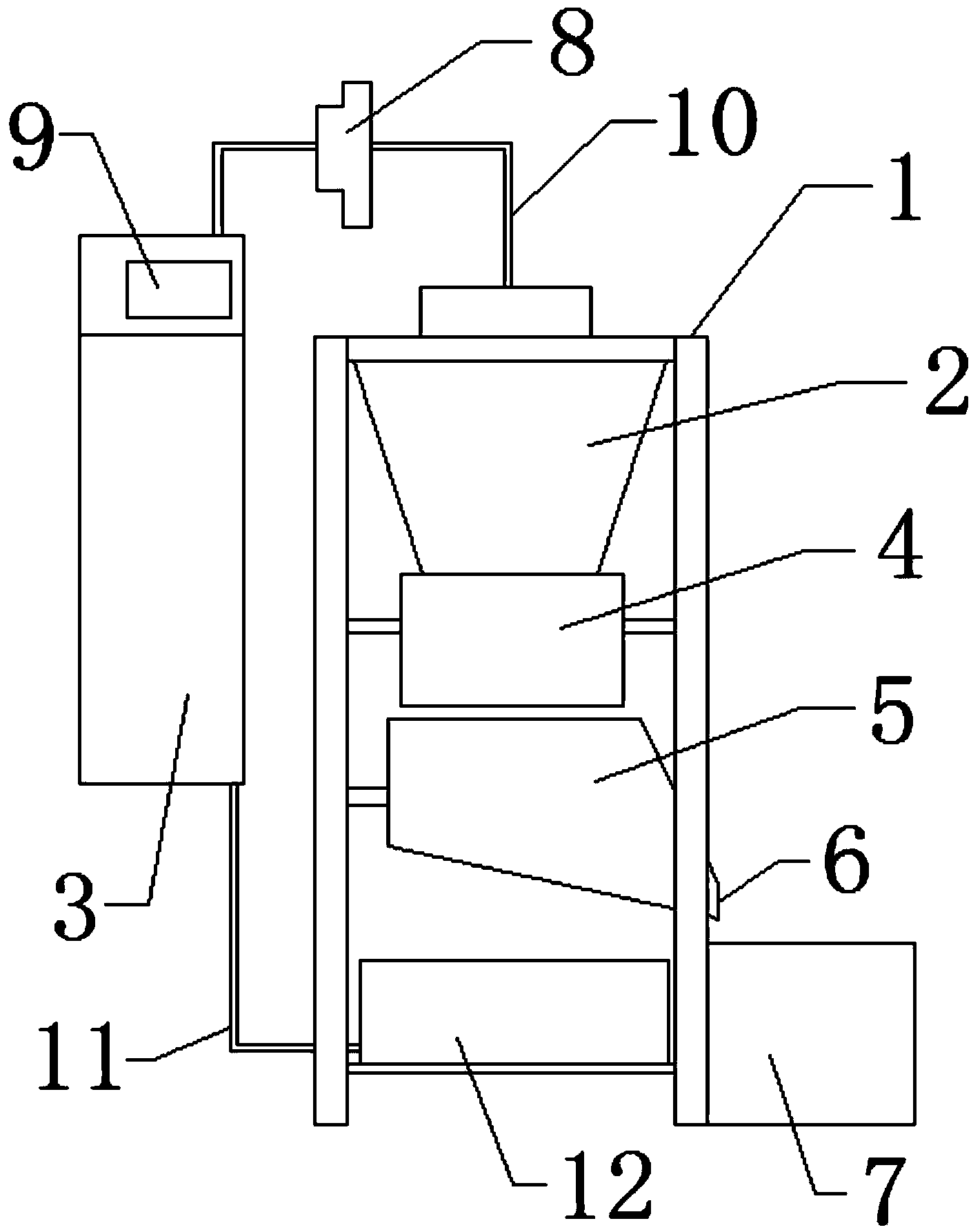
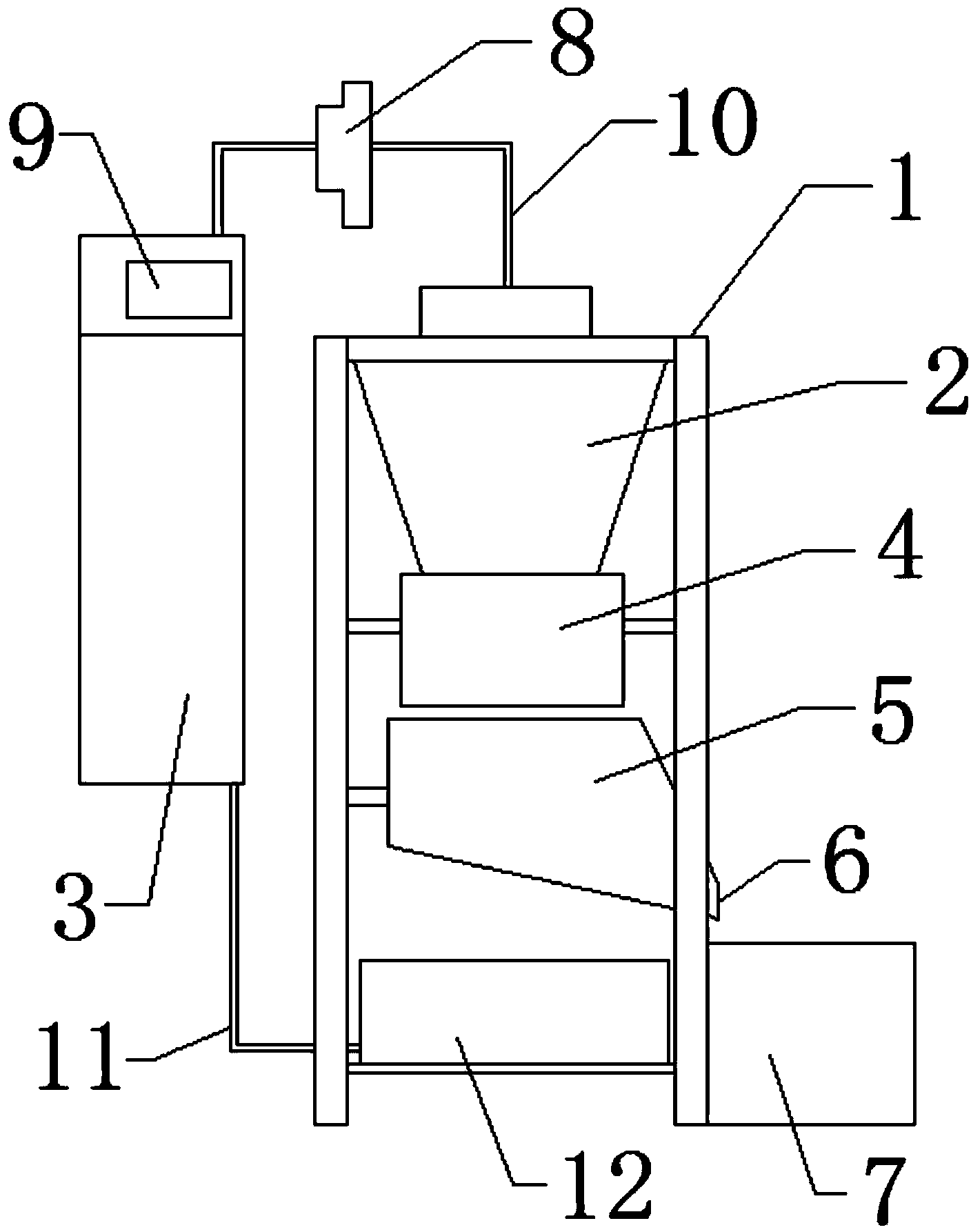
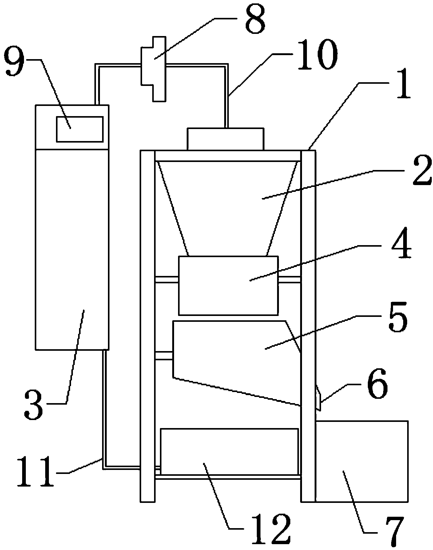
本實用新型公開了一種水處理劑生產用造粒設備,包括機架以及設置在機架頂部的造粒噴頭;所述造粒噴頭通過進料管連接有供料裝置;所述造粒噴頭的下方設置有冷卻室;所述冷卻室的下方設置有篩選裝置;所述篩選裝置的下方設置有返料裝置;所述篩選裝置的右側設置有出料口;所述出料口的下方設置有料桶;所述返料裝置采用回料管與供料裝置相連接;該造粒設備采用了噴淋式造粒裝置,大大地提高了生產效率,同時設置了篩選裝置,可將不合格的產品篩分出來,通過返料裝置輸送回供料裝置,不僅保證了產品質量,還提高了設備的循環加工性能;所設的過濾裝置可將物料中的雜質過濾,從而又進一步的提高了產品質量。
權利要求書
1.一種水處理劑生產用造粒設備,包括機架以及設置在機架頂部 的造粒噴頭,其特征在于:所述造粒噴頭通過進料管連接有供料裝置; 所述造粒噴頭的下方設置有冷卻室;所述冷卻室的下方設置有篩選裝 置;所述篩選裝置的下方設置有返料裝置;所述篩選裝置的右側設置 有出料口;所述出料口的下方設置有料桶;所述返料裝置采用回料管 與供料裝置相連接,所述供料裝置上還設有一定量進料器。
2.根據權利要求1所述的水處理劑生產用造粒設備,其特征在 于:所述進料管上還設有一過濾裝置。
3.根據權利要求1所述的水處理劑生產用造粒設備,其特征在 于:所述料桶安裝在機架的右側上。
說明書
一種水處理劑生產用造粒設備
技術領域
本實用新型涉及一種化學助劑生產設備,具體涉及一種水處理劑生產 用造粒設備。
背景技術
造粒設備是化學助劑生產加工中最常用的設備之一。傳統的造粒設備 一般都是采用壓制,切割而成,這種加工方法的主要問題就是生產效率低, 設備容易損壞。而現有的一些噴淋式造粒設備所加工的粒子還存在著大小 不均勻,雜質多等問題,從而影響了整體的產品質量。
實用新型內容
為解決上述問題,本實用新型提出了一種大小均勻、雜質少且生產效 率高的水處理劑生產用造粒設備。
本實用新型的水處理劑生產用造粒設備,包括機架以及設置在機架頂 部的造粒噴頭;所述造粒噴頭通過進料管連接有供料裝置;所述造粒噴頭 的下方設置有冷卻室;所述冷卻室的下方設置有篩選裝置;所述篩選裝置 的下方設置有返料裝置;所述篩選裝置的右側設置有出料口;所述出料口 的下方設置有料桶;所述返料裝置采用回料管與供料裝置相連接,所述供 料裝置上還設有一定量進料器。
作為優選,所述進料管上還設有一過濾裝置。
作為優選,所述料桶安裝在機架的右側上。
本實用新型的水處理劑生產用造粒設備采用了噴淋式造粒裝置,大大 地提高了生產效率,同時設置了篩選裝置,可將不合格的產品篩分出來, 通過返料裝置輸送回供料裝置,不僅保證了產品質量,還提高了設備的循 環加工性能;所設的過濾裝置可將物料中的雜質過濾,從而又進一步的提 高了產品質量。







