申請日2014.11.05
公開(公告)日2015.04.15
IPC分類號E03D11/02; E03C1/12
摘要
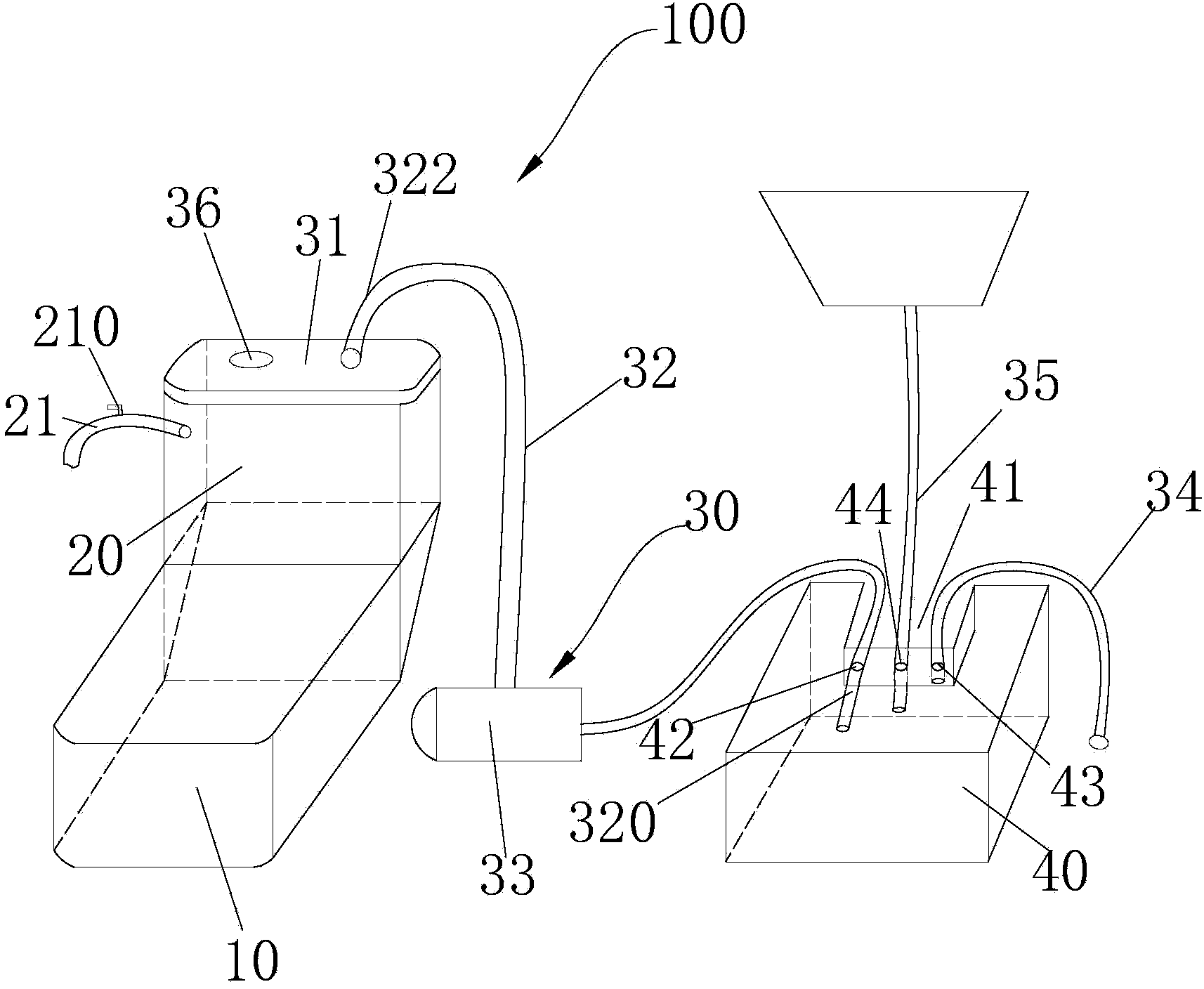
本實用新型提出了一種廢水沖洗設備,包括套設于抽水馬桶的儲水箱頂端的密封蓋、第一水管、抽水泵及廢水箱,第一水管的一端與廢水箱連接,另一端連接密封蓋,并與儲水箱內部連通,抽水泵連接設于該第一水管的中部,第一水管的端部穿設至廢水箱的內部,并靠近其底端位置,廢水箱還連接有一第二水管,第二水管的一端穿設至廢水箱的內部,并靠近于廢水箱箱口的位置,該第二水管的另一端與下水道連接,該廢水箱上還連接有第三水管,該第三水管的一端與一集水池連接,該第三水管的另一端穿設至廢水箱內。本實用新型還提供采用該廢水沖洗設備的抽水馬桶,可回收廢水資源再次利用。
權利要求書
1.一種廢水沖洗設備,用于設于一抽水馬桶的儲水箱上,其特征在于:包 括套設于抽水馬桶的儲水箱頂端的密封蓋、與該密封蓋連接的第一水管、與該 第一水管連接的抽水泵及與該抽水泵連接的廢水箱,所述第一水管的一端為入 水端,另一端為出水端,所述入水端與廢水箱連接,所述出水端連接密封蓋, 并與儲水箱內部連通,所述抽水泵連接設于該第一水管的中部,所述廢水箱上 設有第一通孔、第二通孔及第三通孔,所述第一水管的入水端通過該第一通孔 穿設至廢水箱的內部,并靠近其底端位置,所述廢水箱還連接有一第二水管, 所述第二水管的一端通過廢水箱的第二通孔穿設至廢水箱的內部,并靠近于廢 水箱箱口的位置,該第二水管的另一端與下水道連接,該廢水箱上還連接有第 三水管,該第三水管的一端用于與一集水池連接,該第三水管的另一端通過廢 水箱的第三通孔穿設至廢水箱內。
2.如權利要求1所述的廢水沖洗設備,其特征在于:所述第二水管于廢水 箱內的入水端的高度低于廢水箱的箱口5mm。
3.如權利要求1所述的廢水沖洗設備,其特征在于:所述第二水管的管徑 大于第一水管的管徑。
4.如權利要求1所述的廢水沖洗設備,其特征在于:所述廢水箱的一側向 內凹進形成一凹槽,所述第一通孔、第二通孔及第三通孔分別設于該廢水箱于 凹槽最內端的側壁上。
5.如權利要求1所述的廢水沖洗設備,其特征在于:所述密封蓋上還設有 一控制按鈕,該控制按鈕用于控制抽水馬桶的工作及抽水泵的開閉。
6.一種廢水沖洗設備,用于設于一抽水馬桶的儲水箱上,其特征在于:包 括套設于抽水馬桶的儲水箱頂端的密封蓋、與該密封蓋連接的第一水管及與該 第一水管連接的廢水箱,所述第一水管的一端為入水端,另一端為出水端,所 述入水端與廢水箱連接,所述出水端連接密封蓋,并與儲水箱內部連通,所述 廢水箱上設有第一通孔、第二通孔及第三通孔,所述第一水管的入水端通過該 第一通孔穿設至廢水箱的內部,并靠近其底端位置,所述廢水箱還連接有一第 二水管,所述第二水管的一端通過廢水箱的第二通孔穿設至廢水箱的內部,并 靠近于廢水箱箱口的位置,該第二水管的另一端與下水道連接,該廢水箱上還 連接有第三水管,該第三水管的一端用于與一集水池連接,該第三水管的另一 端通過廢水箱的第三通孔穿設至廢水箱內,所述密封蓋上還連接有一吸氣設備。
7.如權利要求6所述的廢水沖洗設備,其特征在于:所述吸氣設備為吸氣 氣囊或吸氣泵。
8.如權利要求6所述的廢水沖洗設備,其特征在于:所述第二水管于廢水 箱內的入水端的高度低于廢水箱的箱口5mm。
9.如權利要求6所述的廢水沖洗設備,其特征在于:所述第二水管的管徑 大于第一水管的管徑。
10.一種抽水馬桶,包括便池及設于便池上方并與便池連接的儲水箱,其 特征在于:還包括設于該儲水箱上的廢水沖洗設備,該廢水沖洗設備為權利要 求1至9中任何一項所述的廢水沖洗設備。
說明書
抽水馬桶及其廢水沖洗設備
技術領域
本實用新型涉及一種家具設備,特別涉及一種抽水馬桶及其廢水沖洗設備。
背景技術
水是生命之源,是人們生活必不可缺的資源。隨著經濟發展及人口的增加, 我國的用水量在不斷增加,而能夠使用的淡水資源極為匱乏,我國許多地方面 臨著嚴重的缺水問題。
生活中,人們必不可少的需要進行洗臉、漱口和淘米等用水,這些水資源 通過下水道白白的浪費掉。而家庭中的抽水馬桶所用水量大體占整個家庭用水 的三分之一,但抽水馬桶也與洗涑等用水一樣通過自來水管道供應,由此導致 家庭整體用水量的增加。
實用新型內容
本實用新型提出一種抽水馬桶及其廢水沖洗設備,解決了現有技術中水資 源浪費的問題。
本實用新型的技術方案是這樣實現的:
一種廢水沖洗設備,用于設于一抽水馬桶的儲水箱上,包括套設于抽水馬 桶的儲水箱頂端的密封蓋、與該密封蓋連接的第一水管、與該第一水管連接的 抽水泵及與該抽水泵連接的廢水箱,所述第一水管的一端為入水端,另一端為 出水端,所述入水端與廢水箱連接,所述出水端連接密封蓋,并與儲水箱內部 連通,所述抽水泵連接設于該第一水管的中部,所述廢水箱上設有第一通孔、 第二通孔及第三通孔,所述第一水管的入水端通過該第一通孔穿設至廢水箱的 內部,并靠近其底端位置,所述廢水箱還連接有一第二水管,所述第二水管的 一端通過廢水箱的第二通孔穿設至廢水箱的內部,并靠近于廢水箱箱口的位置, 該第二水管的另一端與下水道連接,該廢水箱上還連接有第三水管,該第三水 管的一端用于與一集水池連接,該第三水管的另一端通過廢水箱的第三通孔穿 設至廢水箱內。
一種廢水沖洗設備,用于設于一抽水馬桶的儲水箱上,包括套設于抽水馬 桶的儲水箱頂端的密封蓋、與該密封蓋連接的第一水管及與該第一水管連接的 廢水箱,所述第一水管的一端為入水端,另一端為出水端,所述入水端與廢水 箱連接,所述出水端連接密封蓋,并與儲水箱內部連通,所述廢水箱上設有第 一通孔、第二通孔及第三通孔,所述第一水管的入水端通過該第一通孔穿設至 廢水箱的內部,并靠近其底端位置,所述廢水箱還連接有一第二水管,所述第 二水管的一端通過廢水箱的第二通孔穿設至廢水箱的內部,并靠近于廢水箱箱 口的位置,該第二水管的另一端與下水道連接,該廢水箱上還連接有第三水管, 該第三水管的一端用于與集水池連接,該第三水管的另一端通過廢水箱的第三 通孔穿設至廢水箱內,所述密封蓋上還連接有一吸氣設備。
一種抽水馬桶,包括便池、設于便池上方并與便池連接的儲水箱及設于該 儲水箱上的廢水沖洗設備,該廢水沖洗設備包括套設于抽水馬桶的儲水箱頂端 的密封蓋、與該密封蓋連接的第一水管、與該第一水管連接的抽水泵及與該抽 水泵連接的廢水箱,所述第一水管的一端為入水端,另一端為出水端,所述入 水端與廢水箱連接,所述出水端連接密封蓋,并與儲水箱內部連通,所述抽水 泵連接設于該第一水管的中部,所述廢水箱上設有第一通孔、第二通孔及第三 通孔,所述第一水管的入水端通過該第一通孔穿設至廢水箱的內部,并靠近其 底端位置,所述廢水箱還連接有一第二水管,所述第二水管的一端通過廢水箱 的第二通孔穿設至廢水箱的內部,并靠近于廢水箱箱口的位置,該第二水管的 另一端與下水道連接,該廢水箱上還連接有第三水管,該第三水管的一端與集 水池連接,該第三水管的另一端通過廢水箱的第三通孔穿設至廢水箱內。
一種抽水馬桶,包括便池、設于便池上方并與便池連接的儲水箱及設于該 儲水箱上的廢水沖洗設備,該廢水沖洗設備包括套設于抽水馬桶的儲水箱頂端 的密封蓋、與該密封蓋連接的第一水管及與該第一水管連接的廢水箱,所述第 一水管的一端為入水端,另一端為出水端,所述入水端與廢水箱連接,所述出 水端連接密封蓋,并與儲水箱內部連通,所述廢水箱上設有第一通孔、第二通 孔及第三通孔,所述第一水管的入水端通過該第一通孔穿設至廢水箱的內部, 并靠近其底端位置,所述廢水箱還連接有一第二水管,所述第二水管的一端通 過廢水箱的第二通孔穿設至廢水箱的內部,并靠近于廢水箱箱口的位置,該第 二水管的另一端與下水道連接,該廢水箱上還連接有第三水管,該第三水管的 一端與集水池連接,該第三水管的另一端通過廢水箱的第三通孔穿設至廢水箱 內,所述密封蓋上還連接有一吸氣設備。
本實用新型的有益效果為:
本實用新型中的抽水馬桶,通過廢水箱收集使用過的廢水,通過啟動抽水 泵、吸氣設備或抽水馬桶本身吸力由第一水管向抽水馬桶的儲水箱內抽進廢水, 再對抽水馬桶進行沖洗,從而達成廢水回收利用的目的,以節約水資源。







