申請日2014.10.22
公開(公告)日2015.03.11
IPC分類號B04B15/02; B04B11/00
摘要
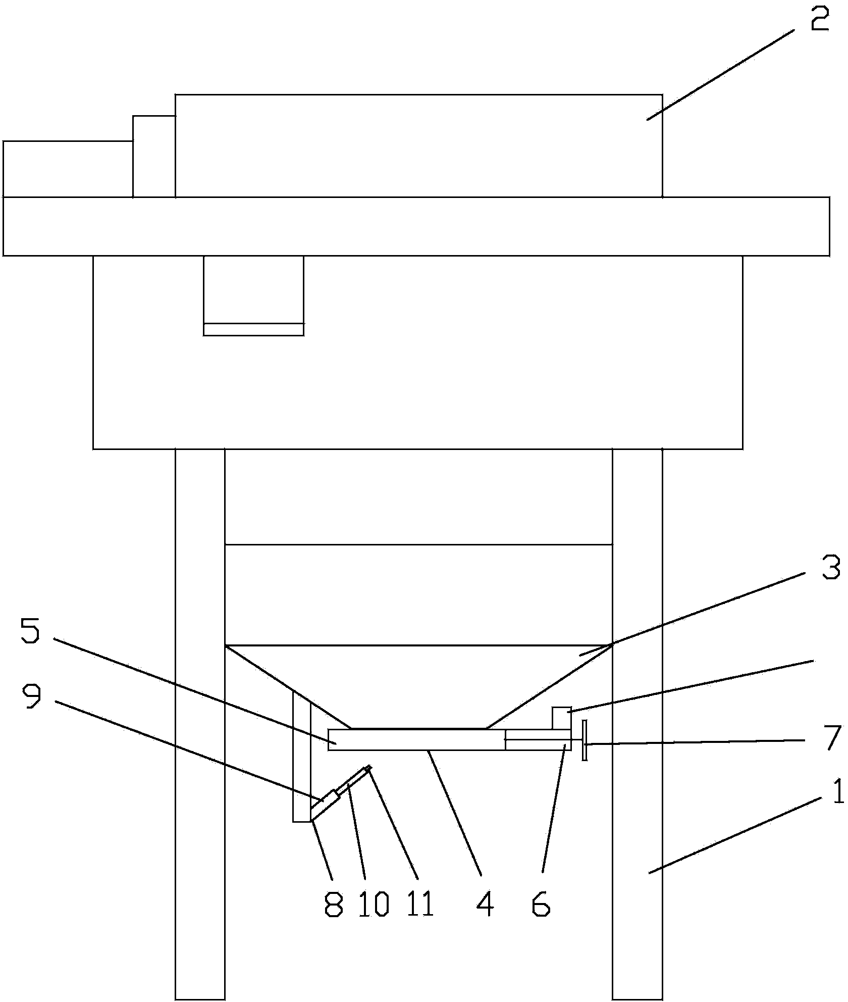
本實用新型所述一種改進的污泥出料裝置,包括架體,所述架體設有臥螺離心機和污泥斗,所述臥螺離心機設置于所述污泥斗上方,所述污泥斗的底部設有污泥出口,所述污泥出口設有閥門和活塞,所述活塞包括氣缸和活塞桿,所述閥門固接所述活塞桿,所述活塞桿遠離所述污泥口的一端設有手輪。本實用新型所述一種改進的污泥出料裝置,臥螺離心機使污泥從污泥口排出,運輸車輛在污泥口下方運輸污泥,閥門由活塞驅動而打開和關閉,效率較高,有效降低了工人的勞動強度。
權利要求書
1.一種改進的污泥出料裝置,包括架體,其特征在于:所述架體設有臥螺離 心機和污泥斗,所述臥螺離心機設置于所述污泥斗上方,所述污泥斗的底 部設有污泥出口,所述污泥出口設有閥門和活塞,所述活塞包括氣缸和活 塞桿,所述閥門固接所述活塞桿,所述活塞桿遠離所述污泥口的一端設有 手輪。
2.根據權利要求1所述的一種改進的污泥出料裝置,其特征在于:所述污泥 斗設有加溫裝置。
3.根據權利要求2所述的一種改進的污泥出料裝置,其特征在于:所述加溫 裝置為導熱油加熱裝置。
4.根據權利要求1所述的一種改進的污泥出料裝置,其特征在于:所述污泥 斗埋設于若干噴嘴,所述噴嘴連接進水管。
5.根據權利要求1所述的一種改進的污泥出料裝置,其特征在于:所述污泥 斗對應所述污泥出口設有沖洗噴頭。
6.根據權利要求5所述的一種改進的污泥出料裝置,其特征在于:所述污泥 斗設有伸縮機器臂,所述沖洗噴頭固接于所述伸縮機器臂。
7.根據權利要求6所述的一種改進的污泥出料裝置,其特征在于:所述沖洗 噴頭設有成像鏡頭和光源,所述成像鏡頭連接顯示屏,所述伸縮機器臂由 控制手柄控制。
說明書
一種改進的污泥出料裝置
技術領域
本實用新型屬于環保設備技術領域,具體地說,涉及一種改進的污泥出料 裝置。
背景技術
水污染是我國面臨的主要環境問題之一。隨著我國工業的發展,工業廢水 的排放量日益增加,達不到排放標準的工業廢水排入水體后,會污染地表水和 地下水。含油廢水油類漂浮在水面,動植物油脂具有腐敗性,消耗水體中的溶 解氧又會散出令人厭惡的氣味。小型化工企業產生的有機廢水含氰、酚等有毒 物質、重金屬等慢性有毒物質及致癌物質等廢水的可生化性差,不適宜于生物 處理,廢水達不到《污水綜合排放標準》GB8978-1996三級標準或《污水排入 城市下水道水質標準》(CJ3082-1999),直接排入污水管網對污水處理廠正常運 行帶來危害。
水污染的綜合防治已引起世界各國的普遍重視,改善污水的處理技術,提 高處理效率,降低費用和能耗,仍是重要的研究內容。解決水污染最有效的方 法是綜合考慮水資源規劃、水體用途、發展區域性水污染防治。
瀝青生產產生的廢水經處理后,會產生大量的污泥,污泥需要車輛外運進 行填埋等處理,但是污泥粘度較大,人工搬運到車輛上,勞動強度較大,效率 較低。
實用新型內容
本實用新型克服了現有技術中的缺點,提供了一種改進的污泥出料裝置, 其污泥可直接運送到車輛上,十分方便,效率較高,降低了工人的勞動強度。
為了解決上述技術問題,本實用新型是通過以下技術方案實現的:
一種改進的污泥出料裝置,包括架體,所述架體設有臥螺離心機和污泥斗, 所述臥螺離心機設置于所述污泥斗上方,所述污泥斗的底部設有污泥出口,所 述污泥出口設有閥門和活塞,所述活塞包括氣缸和活塞桿,所述閥門固接所述 活塞,所述活塞桿遠離所述污泥口的一端設有手輪桿。
進一步,所述污泥斗設有加溫裝置。
進一步,所述加溫裝置為導熱油加熱裝置。
進一步,所述污泥斗埋設于若干噴嘴,所述噴嘴連接進水管。
進一步,所述污泥斗對應所述污泥出口設有沖洗噴頭。
進一步,所述污泥斗設有伸縮機器臂,所述沖洗噴頭固接于所述伸縮機器 臂。
進一步,所述沖洗噴頭設有成像鏡頭和光源,所述成像鏡頭連接顯示屏, 所述伸縮機器臂由控制手柄控制。
與現有技術相比,本實用新型的有益效果是:
本實用新型所述一種改進的污泥出料裝置,臥螺離心機使污泥從污泥口排 出,運輸車輛在污泥口下方運輸污泥,閥門由活塞驅動而打開和關閉,效率較 高,有效降低了工人的勞動強度。







