申請日2014.10.21
公開(公告)日2015.01.14
IPC分類號B09B5/00; C02F9/14; B01D53/58; B01D53/52; B01D53/85
摘要
本發明涉及垃圾干化、除臭及滲濾液的處置系統及方法,其系統包括垃圾干化裝置、除臭裝置和滲濾液處理裝置;垃圾干化裝置包括垃圾干化區,垃圾干化區上方設有可移動蓋板,可移動蓋板與電機連接,可移動蓋板上方設有抓料爪,垃圾干化區底部設有通風隔離層、通風風管、柵板;滲濾液處理裝置包括滲濾液集水池、預處理池、加熱器、厭氧反應器、硝化/反硝化裝置、超濾膜裝置、納濾膜裝置、反滲透膜裝置;其方法包括以下步驟:S1、垃圾干化;S2、生物除臭;S3、滲濾液提升和輸送;S4、滲濾液處理。本發明在垃圾處理的多個環節作了改進,提高了垃圾干化及滲濾液處理效率,改善了垃圾臭氣微生物脫除效果。處理后的尾氣和滲濾液可以達標排放。
權利要求書
1.一種垃圾干化、除臭及滲濾液的處置系統,其特征在于,包括垃圾干 化裝置、除臭裝置和滲濾液處理裝置;
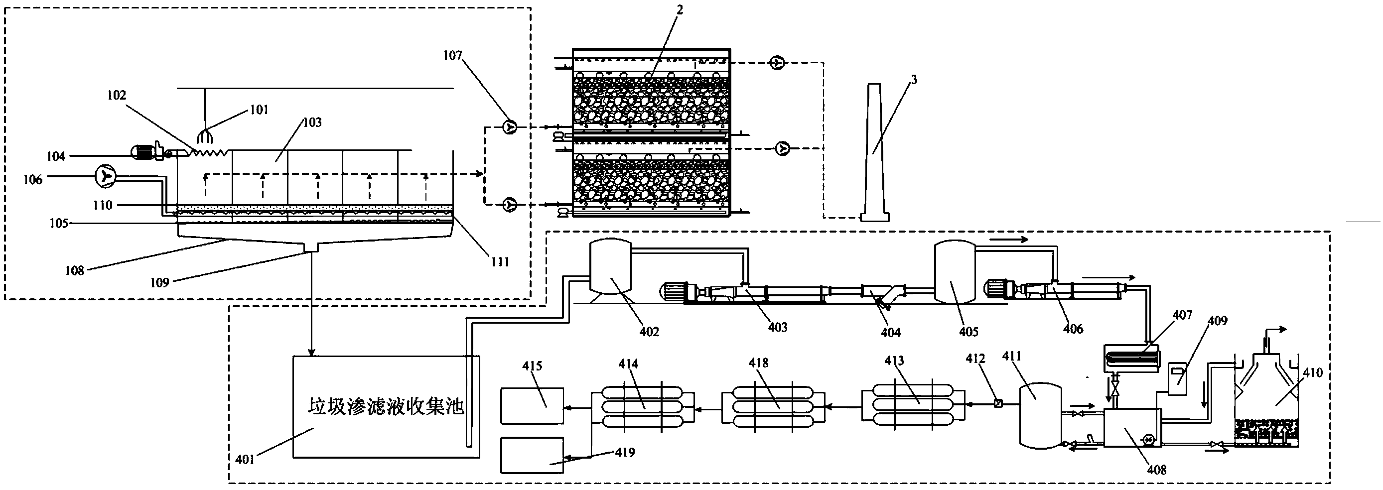
所述垃圾干化裝置包括垃圾干化區,所述垃圾干化區上方設有可移動蓋 板,所述可移動蓋板與電機連接,所述可移動蓋板上方設有抓料爪,所述垃圾 干化區底部設有通風隔離層、通風風管、柵板,所述柵板位于最底層,所述通 風風管位于柵板和通風隔離層之間,所述柵板下方設有中間低兩邊高的滲濾液 導流槽,垃圾滲濾液經過所述滲濾液導流槽流入垃圾滲濾液收集池內,干化區 外設置與通風風管連接的風機,干化區廠房外還設置抽風機,抽風機將干化區 產生的臭氣送入除臭裝置;所述除臭裝置與排氣筒連接;
所述滲濾液處理裝置包括滲濾液集水池、第一螺桿泵、預處理池、第二螺 桿泵、加熱器、厭氧反應器、硝化/反硝化裝置、超濾膜裝置、納濾膜裝置、 反滲透膜裝置、清水池和濃縮液池,所述滲濾液集水池、第一螺桿泵、預處理 池、第二螺桿泵和加熱器依次連接,滲濾液處理裝置還包括循環水池和檢測所 述循環水池中濾液COD濃度的COD在線監測設備,所述循環水池設置在所 述加熱器和厭氧反應器之間,并與所述硝化/反硝化裝置連接;所述硝化/反硝 化裝置還依次與超濾膜裝置、納濾膜裝置、反滲透膜裝置和清水池連接,所述 超濾膜裝置、納濾膜裝置和反滲透膜裝置與所述濃縮液池連接。
2.根據權利要求1所述的垃圾干化、除臭及滲濾液的處置系統,其特征 在于,在所述垃圾干化區下方的地板的中部設有多塊所述柵板。
3.根據權利要求1所述的垃圾干化、除臭及滲濾液的處置系統,其特征 在于,所述螺桿泵與集水池之間設有引水罐,所述引水罐的進水管伸入所述集 水池內的液面下,所述引水罐的出水管與第一螺桿泵的進口相連。
4.根據權利要求1所述的垃圾干化、除臭及滲濾液的處置系統,其特征 在于,所述第一螺桿泵的出口通過Y型管道過濾器與所述預處理池連接。
5.根據權利要求1所述的垃圾干化、除臭及滲濾液的處置系統,其特征 在于,所述循環水池上設有第一管道、第二管道、第三管道、第四管道和第五 管道,第一管道與所述加熱器連接,第二管道和第三管道與所述硝化/反硝化 裝置連接,第四管道和第五管道與所述厭氧反應器連接;所述第一管道上設有 第一控制閥,所述第二管道上設有第二控制閥,所述第三管道上設有第三控制 閥,所述第四管道上設有第四控制閥,所述第五管道上設有第五控制閥。
6.根據權利要求5所述的垃圾干化、除臭及滲濾液的處置系統,其特征 在于,滲濾液處理裝置還包括閥門控制系統,所述閥門控制系統根據COD在 線監測設備的檢測數據調節所述第一控制閥、第二控制閥、第三控制閥、第四 控制閥和第五控制閥的開閉和打開幅度。
7.根據權利要求5所述的垃圾干化、除臭及滲濾液的處置系統,其特征 在于,所述厭氧反應器上還設有溫度檢測裝置,所述溫度檢測裝置與所述閥門 控制系統連接,所述閥門控制系統根據所述溫度檢測裝置的檢測數據控制所述 第一控制閥、第二控制閥、第三控制閥、第四控制閥和第五控制閥的開閉和打 開幅度。
8.根據權利要求5所述的垃圾干化、除臭及滲濾液的處置系統,其特征 在于,所述第一管道、第二管道、第三管道、第四管道、第五管道上均設有流 量計,所述流量計與所述閥門控制系統連接,通過所述閥門控制系統調節各管 道的流量大小。
9.一種利用權利要求1所述的處置系統的垃圾處置方法,其特征在于, 包括以下步驟:
S1、垃圾干化;將垃圾經破碎壓榨后,通過抓料爪轉移至垃圾干化區, 啟動電機,關閉干化區上方可移動蓋板,封閉干化區,讓垃圾在小風量或者不 通風條件下保持2-3天;垃圾滲濾的廢液,通過柵板的格柵,流入干化區下的 滲濾液導流槽,通過該導流槽流入滲濾液收集池;2-3天自然升溫期后,打開 與通風風管相連接的風機,向干化區內鼓風,并調節鼓風機風量,促進垃圾堆 體中好氧微生物的快速增長,進而對生活垃圾中的可降解有機物進行陳腐處 理,使其水分釋出;
S2、生物除臭;垃圾干化的同時開啟干化區廠房外設置的抽風機,將干 化區產生的臭氣通過廢氣管道送入除臭裝置,利用除臭裝置內填料層表面微生 物的新陳代謝作用,降解臭氣中H2S、NH3等惡臭物質,臭氣處理達標后,經 排氣筒排放;
S3、滲濾液提升和輸送;通過第一螺桿泵將滲濾液收集池中的滲濾液輸 送至預處理池進行預處理,通過第二螺桿泵將經過預處理的滲濾液送入加熱 器;
S4、滲濾液處理;加熱后的滲濾液通過循環水池進入厭氧反應器發生厭 氧反應,滲濾液在循環水池和厭氧反應器之間反復流動,直至COD在線監測 設備檢測的COD濃度降至設定值;從循環水池出來的滲濾液進入硝化/反硝化 裝置處理后,通入超濾膜裝置、納濾膜裝置和反滲透膜裝置過濾。
說明書
垃圾干化、除臭及滲濾液的處置系統及方法
技術領域
本發明涉及垃圾處理領域,更具體地說,涉及一種垃圾干化、除臭及滲濾 液的處置系統及方法。
背景技術
市政垃圾“無害化、減量化、資源化”處理利用是世界性課題。目前我國 城鄉市政垃圾的集中處理方法主要有填埋、堆肥、焚燒。填埋法占地面積大, 對垃圾的減量化程度低,需做防滲處理,還要建沼氣回收及滲濾液處理廠,容 易對地下水及周圍空氣造成污染。堆肥法適合處理含易腐有機質多的垃圾,能 實現部分資源的綜合利用,但堆肥質量不易控制,有害成分常常超標。垃圾焚 燒發電在我國發展非常迅速,但投資大,運行費用高,含二噁英和重金屬的飛 灰危害性大、處理困難,而且盡管采用了十分先進和復雜的凈化系統,但煙氣 中的二噁英仍難以控制及監測。為了充分體現“減量化、資源化、無害化”原 則,人們推出了各種市政垃圾綜合處理工藝,F有的垃圾處理工藝中,存在以 下問題:
現有的垃圾處理工藝中,將原生市政垃圾經破碎壓榨后,需進行干化處理。 在垃圾干化區,垃圾滲濾液會累積在干化區底部,并發酵產生可燃氣體,引起 安全隱患。
通常垃圾干化過程中產生的滲濾液均集中收集在集水池內,并由滲濾液集 水池底部的潛水泵將其送至污水處理系統,待滲濾液處理達標后排放。由于垃 圾滲濾液的含泥量較高,易堵塞潛水泵。潛水泵置于滲濾液集水池底,容易被 滲濾液腐蝕,并且檢修困難。同時,潛水泵流量不穩定,易帶入雜質,影響后 續的處理程序。
通常市政垃圾滲濾液厭氧消化反應流程為:預處理——加熱——厭氧反應 ——后續流程(如硝化/反硝化系統)。經加熱器加熱后的滲濾液將直接進入厭 氧反應器,厭氧處理后的濾液又直接流入后續流程。當滲濾液有機污染物含量 極高時,經過該系統一次厭氧反應后,其出水水質中有機物含量仍難以降至理 想水平,COD濃度仍然較高。另一方面,經過加熱器加熱后的滲濾液直接進 入厭氧反應器,會導致反應器中溫度難以調節,且波動較大。厭氧反應器中起 關鍵作用的甲烷菌,對溫度敏感。通常中溫甲烷菌的生存適應溫度為30-36℃, 超過該范圍,或溫度波動較大均會造成有機酸大量累積,抑制厭氧微生物的活 性或造成它們的死亡。
由于現有的垃圾處理工藝的上述問題,導致垃圾干化、滲濾液的處理效率 低,處理后的滲濾液存在不達標的情形,并且系統中的裝置維修率高。
發明內容
本發明要解決的技術問題在于,提供一種處理效率高,并且處理效果好的 垃圾干化、除臭及滲濾液的處置系統及方法。
本發明解決其技術問題所采用的技術方案是:構造一種垃圾干化、除臭及 滲濾液的處置系統,包括垃圾干化裝置、除臭裝置和滲濾液處理裝置;
所述垃圾干化裝置包括垃圾干化區,所述垃圾干化區上方設有可移動蓋 板,所述可移動蓋板與電機連接,所述可移動蓋板上方設有抓料爪,所述垃圾 干化區底部設有通風隔離層、通風風管、柵板,所述柵板位于最底層,所述通 風風管位于柵板和通風隔離層之間,所述柵板下方設有中間低兩邊高的滲濾液 導流槽,垃圾滲濾液經過所述滲濾液導流槽流入垃圾滲濾液收集池內,干化區 外設置與通風風管連接的風機,干化區廠房外還設置抽風機,抽風機將干化區 產生的臭氣送入除臭裝置;
所述除臭裝置與排氣筒連接;所述滲濾液處理裝置包括滲濾液集水池、第 一螺桿泵、預處理池、第二螺桿泵、加熱器、厭氧反應器、硝化/反硝化裝置、 超濾膜裝置、納濾膜裝置、反滲透膜裝置、清水池和濃縮液池,所述滲濾液集 水池、第一螺桿泵、預處理池、第二螺桿泵和加熱器依次連接,滲濾液處理裝 置還包括循環水池和檢測所述循環水池中濾液COD濃度的COD在線監測設 備,所述循環水池設置在所述加熱器和厭氧反應器之間,并與所述硝化/反硝 化裝置連接;所述硝化/反硝化裝置還依次與超濾膜裝置、納濾膜裝置、反滲 透膜裝置和清水池連接,所述超濾膜裝置、納濾膜裝置和反滲透膜裝置與所述 濃縮液池連接。
上述方案中,在所述垃圾干化區下方的地板的中部設有多塊所述柵板。
上述方案中,所述螺桿泵與集水池之間設有引水罐,所述引水罐的進水管 伸入所述集水池內的液面下,所述引水罐的出水管與第一螺桿泵的進口相連。
上述方案中,所述第一螺桿泵的出口通過Y型管道過濾器與所述預處理 池連接。
上述方案中,所述循環水池上設有第一管道、第二管道、第三管道、第四 管道和第五管道,第一管道與所述加熱器連接,第二管道和第三管道與所述硝 化/反硝化裝置連接,第四管道和第五管道與所述厭氧反應器連接;所述第一 管道上設有第一控制閥,所述第二管道上設有第二控制閥,所述第三管道上設 有第三控制閥,所述第四管道上設有第四控制閥,所述第五管道上設有第五控 制閥。
上述方案中,滲濾液處理裝置還包括閥門控制系統,所述閥門控制系統根 據COD在線監測設備的檢測數據調節所述第一控制閥、第二控制閥、第三控 制閥、第四控制閥和第五控制閥的開閉和打開幅度。
上述方案中,所述厭氧反應器上還設有溫度檢測裝置,所述溫度檢測裝置 與所述閥門控制系統連接,所述閥門控制系統根據所述溫度檢測裝置的檢測數 據控制所述第一控制閥、第二控制閥、第三控制閥、第四控制閥和第五控制閥 的開閉和打開幅度。
上述方案中,所述第一管道、第二管道、第三管道、第四管道、第五管道 上均設有流量計,所述流量計與所述閥門控制系統連接,通過所述閥門控制系 統調節各管道的流量大小。
本發明還提供了一種利用權利要求1所述的處置系統的垃圾處置方法,包 括以下步驟:
S1、垃圾干化;將垃圾經破碎壓榨后,通過抓料爪轉移至垃圾干化區,啟 動電機,關閉干化區上方可移動蓋板,封閉干化區,讓垃圾在小風量或者不通 風條件下保持2-3天;垃圾滲濾的廢液,通過柵板的格柵,流入干化區下的滲 濾液導流槽,通過該導流槽流入外置的滲濾液收集池;2-3天自然升溫期后, 打開與通風風管相連接的風機,向干化區內鼓風,并調節鼓風機風量,促進垃 圾堆體中好氧微生物的快速增長,進而對生活垃圾中的可降解有機物進行陳腐 處理,使其水分釋出;
S2、生物除臭;垃圾干化的同時開啟干化區廠房外設置的抽風機,將干化 區產生的臭氣通過廢氣管道送入除臭裝置,利用除臭裝置內填料層表面微生物 的新陳代謝作用,降解臭氣中H2S、NH3等惡臭物質,臭氣處理達標后,經排 氣筒排放;
S3、滲濾液提升和輸送;通過第一螺桿泵將滲濾液收集池中的滲濾液輸送 至預處理池進行預處理,通過第二螺桿泵將經過預處理的滲濾液送入加熱器;
S4、滲濾液處理;加熱后的滲濾液通過循環水池進入厭氧反應器發生厭氧 反應,滲濾液在循環水池和厭氧反應器之間反復流動,直至COD在線監測設 備檢測的COD濃度降至設定值;從循環水池出來的滲濾液進入硝化/反硝化裝 置處理后,通入超濾膜裝置、納濾膜裝置和反滲透膜裝置過濾。
實施本發明的垃圾干化、除臭及滲濾液的處置系統及方法,具有以下有益 效果:
1、采用垃圾自然發酵升溫與好氧發酵相結合的方法,提高了垃圾干化效 率。采用鼓風干化可以防止干化區底部垃圾堆積板結,風力流通更順暢,有利 于好氧發酵,因此干化效率更高。垃圾滲濾液經滲濾液導流槽即時流入外置的 滲濾液收集池,避免了滲濾液在干化區內累積發酵,產生可燃氣體的安全隱患。
2、用外露于地面上的螺桿泵替代置于滲濾液池底的潛水泵,防止了滲濾 液對潛水泵的腐蝕,使滲濾液輸送過程中流量穩定,維護檢修操作方便,同時 解決了潛水泵易被堵塞的問題。
3、通過在加熱器和厭氧反應器之間設立循環緩沖水池,使得COD濃度 極高的垃圾滲濾液可以循環進行厭氧反應,直至出水COD濃度降至理想水平。 在厭氧反應效率一定的情況下,通過后續流程中低COD濃度液體的回流,稀 釋反應器進水中COD,進而達到降低出水COD濃度的目的。實現了多次循環 厭氧反應,顯著提高了厭氧消化垃圾滲濾液的效率。由于緩沖循環水池的存在, 對厭氧反應器進水溫度的調節更為靈敏。
4、本發明在垃圾處理的多個環節作了改進,提高了垃圾滲濾液處理效率, 并且處理效果好,處理后的滲濾液可以直接排放。







